Operation CHARM: Car repair manuals for everyone.
Manuals through 2025 now available!

Our trusted friends have launched a new website named LEMON, which has newer manuals. It also contains all the CHARM manuals.

LEMON is the spiritual successor to CHARM, I recommend you try it!

Link: lemon-manuals.la or lemon-manuals.org.ua

(Some people have issue connecting. LEMON is investigating. For now, use Firefox or change your DNS server)

Or, hide this message: temporarily or permanently

Disassembly

Disassembly





1. Fixation of rear differential carrier ASSY RR
(1) Install the rear differential carrier to the overhaul stand.





2. Removal of rear differential breather plug
(1) Remove the differential breather plug from the differential carrier.





3. Removal of rear differential carrier cover
(1) Remove 8 bolts.





(2) Using a plastic hammer, lightly tap the rib portion of the differential carrier cover, and remove it from the differential carrier.

CAUTION:
Be careful not to damage the mating surface of the differential carrier.






4. Removal of rear differential breather plug oil deflector
(1) Remove the bolts, and then remove the breather plug oil deflector from the differential carrier cover.





5. Inspection of differential ring gear runout
(1) Inspect the runout of the ring gear by contacting a dial gauge at a right angle to the back surface of the ring gear.
Limit: 0.07mm {0.076mm}

NOTE:
If it exceeds the limit, remove the ring gear and inspect runout of the differential case.





6. Inspection of backlash between differential ring gear and differential drive pinion
(1) Contact a dial gauge at a right angle to the tooth surface end of the ring gear.
(2) Secure the companion flange RR by hand, and inspect the ring gear backlash.
Standard value: 0.13 to 0.18 mm {0.005 to 0.007 in}

NOTE:
Measure at 3 points or more on the ring gear circumference.





7. Inspection of tooth contact between differential ring gear and differential drive pinion
(1) Apply a thin uniform coat of red lead on both teeth surfaces of the ring gear.
(2) Rotate the companion flange RR forward and backward several times.
(3) Check the tooth contact between the drive pinion and the ring gear.





Captions in illustration





NOTE:
^ Check the tooth contact condition at 4 points on the ring gear circumference.
^ The pattern shown on read lead is the position of tooth contact.





8. Inspection of differential side gear backlash
(1) Contact a dial gauge at a right angle to the tooth surface end of the differential side gear.
(2) Secure the differential pinion to the differential case side, and then check that the backlash of differential side gear is 0 mm {0 in}.





9. Inspection of rear drive pinion companion flange RR runout
(1) Wipe off the inner surface of the companion flange RR with a cloth to remove dust or foreign matter.

Captions in illustration





(2) Inspection of companion flange RR radial runout
(a) Contact the lever type probe of a dial gauge at a right angle to the inner circumference of the companion flange RR.
(b) Inspect radial runout of the companion flange RR.
Limit: 0.09 mm {0.004 in}
(3) Inspection of companion flange RR lateral runout
(a) Contact a dial gauge at a right angle to the surface of the companion flange RR as shown in the figure.
(b) Inspect lateral runout of the companion flange RR.
Limit: 0.09 mm {0.004 in}





10. Inspection of differential drive pinion preload
(1) Using a socket wrench (30 mm) and a torque wrench, check preload of the drive pinion within the ring gear backlash.
Standard value:T=1.11 to 1.91Nm {11.3 to 19.5kgf-cm} {0.82 to 1.41 ft-lbf}





11. Inspection of overall preload
(1) Using a socket wrench (30 mm) and a torque wrench, check overall preload with the drive pinion contacting the ring gear tooth surface.
Standard value:T=1.6 to 2.69Nm {16.3 to 27.4kgf-cm} {1.18 to 1.98 ft-lbf}





12. Removal of rear differential side gear shaft oil seal
(1) Using a flat tip screwdriver, remove the right and left side oil seals from the differential carrier.





13. Removal of rear drive pinion nut
(1) Release the crimp of the drive pinion nut using a chisel and a hammer.

CAUTION:
In order to prevent the thread of the drive pinion from being damaged, completely release the crimp of the nut.






(2) Using the SST, secure the companion flange RR.
SST 18355AA000, 18334AA000

Captions in illustration





(3) Using a socket wrench (30 mm), remove the drive pinion nut from the differential carrier.

WARNING:
During operation, support the overhaul stand.






14. Removal of rear drive pinion companion flange RR
(1) Using the SST, remove the companion flange RR from the differential carrier.
SST 09950-30012 (09951-03010, 09953-03010, 09954-03010, 09955-03030, 09956-03030)

Captions in illustration





NOTE:
^ Apply grease to the thread and end portions of the SST center bolt (09953-03010) before using it.
^ The bolts and nuts used for securing the SST and the companion flange RR are recommended to be M8 �P1.25 with a bolt length of approx. 40 mm {1.6 in}.

15. Removal of rear differential dust deflector

NOTE:
Perform the operation only when the dust deflector is damaged.





(1) Using the SST and a press, remove the dust deflector from the companion flange RR.
SST 09950-00020, 499877000

CAUTION:
Be careful not to drop the companion flange RR.


NOTE:
In order to ensure the contact surface between the SST and the dust deflector, perform the operation while tightening the nut of the SST.

16. Removal of rear differential carrier oil seal





17. Removal of rear differential drive pinion oil slinger
(1) Using a magnet hand, remove the oil slinger from the differential carrier.





18. Removal of rear drive pinion tapered roller bearing FR
(1) Using the SST, remove the tapered roller bearing FR (inner race) from the differential carrier.
SST 09556-22010

Captions in illustration





NOTE:
Apply grease to the thread and end portions of the SST center bolt before using it.





19. Removal of rear differential drive pinion bearing spacer
(1) Remove the bearing spacer from the drive pinion.





20. Removal of rear differential carrier
(1) Place an identification mark on the bearing cap and the differential carrier.

Captions in illustration





NOTE:
Place an identification mark on one end only.

(2) Remove 4 bolts, and remove 2 bearing caps from the differential carrier.

CAUTION:
The bearing cap and the carrier are manufactured as a unit; do not change the combination.






(3) Using the SST and a plastic hammer, remove the right and left side gear shaft washers from the differential carrier.
SST 09504-22012

NOTE:
^ For reference when reassembling, record thickness of the right and left (back face side and tooth face side) side gear shaft washers.
^ Place a right or left identification mark (back face side or tooth face side) on the side gear shaft washers, and arrange them separately.





(4) Remove the differential case and the case bearing (outer race) as a single unit from the differential carrier.

CAUTION:
Be careful not to damage the differential case bearing and the ring gear.


NOTE:
Place a right or left identification mark (back face side or tooth face side) on the case bearing (outer race), and arrange them separately.

21. Removal of rear drive pinion tapered roller bearing RR
(1) Remove the drive pinion from the differential carrier.





(2) Using the SST and a press, remove the tapered roller bearing RR (inner race) from the drive pinion.
SST 09950-00020

CAUTION:
Be careful not to drop the drive pinion.


NOTE:
In order to ensure the contact surface between the SST and the tapered roller bearing RR (inner race), perform the operation while tightening the nut of the SST.

(3) Remove the drive pinion washer from the drive pinion.

NOTE:
For reference when reassembling, record thickness of the drive pinion washer.





(4) Using a brass bar and a hammer, lightly and evenly tap the entire perimeter of the tapered roller bearing RR (outer race), and remove it from the differential carrier.

Captions in illustration





CAUTION:
Always let the brass bar come in contact with the range of the tapered roller bearing RR (outer race) during operation. Be careful not to damage the differential carrier.






22. Removal of rear drive pinion tapered roller bearing FR
(1) Using a brass bar and a hammer, lightly and evenly tap the entire perimeter of the tapered roller bearing FR (outer race), and remove it from the differential carrier.

Captions in illustration





CAUTION:
Always let the brass bar come in contact with the range of the tapered roller bearing RR (outer race) during operation. Be careful not to damage the differential carrier.


23. Removal of differential ring gear
(1) Using aluminum plates in between, secure the differential case in a vise.

CAUTION:
Do not overtighten the vise.






(2) Place an alignment mark on the differential case and the ring gear.

Captions in illustration





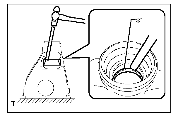
(3) Release the crimps of 5 lock plates using a chisel and a hammer.





(4) Remove 10 bolts and 5 lock plates from the differential case.





(5) Using a plastic hammer, evenly tap the periphery of the ring gear, and remove the ring gear from the differential case.

NOTE:
Cover the tooth surface side of the ring gear with a cloth to prevent damage.

24. Inspection of differential case ASSY runout

NOTE:
Perform only when the inspection result of the differential ring gear runout exceeds the limit.





(1) Install the case bearing (outer race LH/RH) to the case bearing (inner race LH/RH), and install the differential case to the differential carrier.

CAUTION:
^ When installing the bearing outer races, do not confuse the left and right.
^ Be careful not to damage the differential case bearing.


(2) Install the right and left (back face side and tooth face side) side gear shaft washer to the differential carrier while avoiding play of the case bearing.





Captions in illustration








(3) Install the right and left bearing caps to the differential carrier with 4 bolts.

Captions in illustration





Standard value:T=85Nm {867kgf-cm} {1,911.10cm-lbf}

CAUTION:
The bearing cap and the carrier are manufactured as a unit; do not change the combination.






(4) Contact a dial gauge at a right angle to the flange surface of the differential case.
(5) Check runout of the differential case.
Limit: 0.07mm {0.076mm}
(6) Remove 4 bolts, and remove 2 bearing caps from the differential carrier.
(7) Remove the differential case, right and left case bearings and right and left side gear shaft washers from the differential carrier.

CAUTION:
Be careful not to damage the differential case bearing.


25. Removal of rear differential case bearing

NOTE:
Perform the operation only when the case bearing or the differential case is replaced.





(1) Using the SST, remove the case bearings (inner race LH and RH) from the differential case.
SST 09950-40011 (09951-04020, 09952-04010, 09953-04030, 09954-04010, 09955-04061, 09957-04010, 09958-04011), 09950-60010 (09951-00350, 09951-00480, 09952-06010)

Captions in illustration





CAUTION:
Be careful not to deform the cage of the differential case bearing.(When the bearing is reused)


NOTE:
^ Apply grease to the thread and end portions of the SST center bolt (09953-04030) before using it.
^ Pinch the bearing inner race from the cutout portion of the differential case using the claws of the SST.
^ Place a right or left identification mark (back face side or tooth face side) on the differential case bearings, and arrange them separately.





26. Inspection of differential side gear backlash
(1) Using aluminum plates in between, secure the differential case in a vise.

CAUTION:
Do not overtighten the vise.


(2) Contact a dial gauge at a right angle to the tooth surface end of the differential side gear, secure the differential pinion gear to the differential case, and then check that the backlash is 0 mm {0 in}.

NOTE:
If the backlash is not 0 mm {0 in}, replace the differential case ASSY.