Operation CHARM: Car repair manuals for everyone.
Manuals through 2025 now available!

Our trusted friends have launched a new website named LEMON, which has newer manuals. It also contains all the CHARM manuals.

LEMON is the spiritual successor to CHARM, I recommend you try it!

Link: lemon-manuals.la or lemon-manuals.org.ua

(Some people have issue connecting. LEMON is investigating. For now, use Firefox or change your DNS server)

Or, hide this message: temporarily or permanently

Cylinder Block Assembly: Service and Repair

Cylinder Block

REMOVAL

NOTE:
Before conducting this procedure, drain the engine oil completely.

1) Remove the engine from the vehicle.
2) Remove the rear side belt.
3) Remove the intake manifold.
4) Remove the crank pulley.
5) Remove the timing belt cover.
6) Remove the timing belt.
7) Remove the cam sprocket.
8) Remove the crank sprocket.
9) Remove the generator and A/C compressor with their brackets.
10) Remove the camshaft.
11) Remove the cylinder head.
12) Remove the drive plate.
13) Remove the oil separator cover.
14) Remove the water by-pass pipe for heater.
15) Remove the oil filter.
16) Remove the water pump.
17) Remove the bolts which secure oil pump to cylinder block.

NOTE:
When disassembling and checking the oil pump, loosen the relief valve plug before removing the oil pump.





18) Remove the oil pump from cylinder block using a flat tip screwdriver.

CAUTION:
Be careful not to scratch the mating surface of the cylinder block and oil pump.





19) Remove the front oil seal from the oil pump.
20) Remove the oil pan.
(1) Set the part so that the cylinder block LH is on the upper side.
(2) Remove the bolts which secure oil pan to cylinder block.
(3) Insert an oil pan cutter blade between cylinder block-to-oil pan clearance and remove the oil pan.

CAUTION:
Do not use a screwdriver or similar tools in place of oil pan cutter.

21) Remove the oil strainer.
22) Remove the baffle plate.
23) Remove the water tank pipe assembly from the cylinder block RH.

NOTE:
Pinch the clamp of the water tank pipe assembly by fitting the cut out in the ST with the protrusion on the clamp as shown in the figure, and unlock the clamp.

ST 18353AA000 CLAMP PLIERS








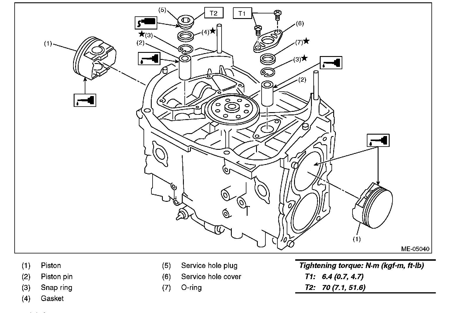
24) Remove the service hole plugs using a hexagon wrench [14 mm].





25) Remove the service hole cover.
26) Rotate the crankshaft to bring #1 and #2 pistons to bottom dead center position, then remove the piston snap ring through service hole of #1 and #2 cylinders.





27) Draw out the piston pin from #1 and #2 pistons using ST.
ST 499097700 PISTON PIN REMOVER ASSY

NOTE:
Be careful not to confuse the original combination of piston, piston pin and cylinder.





28) Similarly draw out the piston pins from #3 and #4 pistons.
29) Remove the cylinder block connecting bolt on the RH side.
30) Loosen the cylinder block connecting bolt on the LH side by 2 to 3 turns.
31) Set the part so that the cylinder block LH is on the upper side, and remove the cylinder block connecting bolt.
32) Separate the cylinder block LH and RH.

NOTE:
When separating the cylinder block, do not allow the connecting rod to fall or damage the cylinder block.





33) Remove the rear oil seal.
34) Remove the crankshaft together with connecting rod.
35) Remove the crankshaft bearings from cylinder block using a hammer handle.

NOTE:
^ Press the crankshaft bearing at the end opposite to locking lip to remove.
^ Be careful not to confuse the crankshaft bearing combination.

36) Remove each piston from the cylinder block using a wooden bar or hammer handle.

NOTE:
Be careful not to confuse the original combination of piston and cylinder.

INSTALLATION





1) Remove oil on the mating surface of cylinder block before installation. Apply a coat of engine oil to the bearing and crankshaft journal.
2) Position the crankshaft and O-ring on cylinder block RH.

NOTE:
Use new O-rings.

3) Apply liquid gasket to the mating surfaces of cylinder block RH, and position cylinder block LH.

NOTE:
^ Install within 5 min. after applying liquid gasket.
^ Do not allow liquid gasket to jut into O-ring grooves, oil passages, bearing grooves, etc.

Liquid gasket:
THREE BOND 1217G (Part No. K0877Y0100) or equivalent





4) Apply a coat of engine oil to the washer and bolt thread.

NOTE:
Use a new seal washer.

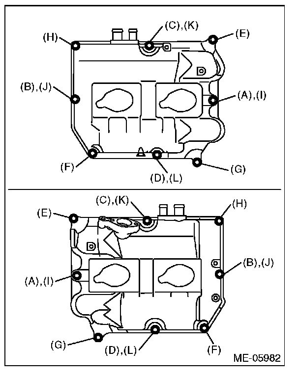
5) Tighten the 10 mm cylinder block connecting bolts on the LH side (A - D) in alphabetical order.

Tightening torque:
10 Nm (1.0 kgf-m, 7.4 ft-lb)





6) Tighten the 10 mm cylinder block connecting bolts on the RH side (E - J) in alphabetical order.

Tightening torque:
10 Nm (1.0 kgf-m, 7.4 ft-lb)





7) Tighten the LH side cylinder block connecting bolts (A - D) further in alphabetical order.

Tightening torque:
18 Nm (1.8 kgf-m, 13.3 ft-lb)





8) Tighten the RH side cylinder block connecting bolts (E - J) further in alphabetical order.

Tightening torque:
18 Nm (1.8 kgf-m, 13.3 ft-lb)





9) Tighten the LH side cylinder block connecting bolts (A - D) further in alphabetical order.
^ (A), (C): Angle tightening

Tightening angle:
90°

^ (B), (D): Torque tightening

Tightening torque:
40 Nm (4.1 kgf-m, 29.5 ft-lb)





10) Tighten the RH side cylinder block connecting bolts (E - J) further in alphabetical order.

Tightening angle:
90°





11) Tighten the 8 mm and 6 mm cylinder block connecting bolts on the LH side (A - H) in alphabetical order.

Tightening torque:
(A) - (G): 25 Nm (2.5 kgf-m, 18.4 ft-lb)
(H): 6.4 Nm (0.7 kgf-m, 4.7 ft-lb)





12) Apply a coat of engine oil to the oil seal inner periphery and outer periphery, and install the rear oil seal using ST1 and ST2.

NOTE:
Use a new rear oil seal.

ST1 499597100 CRANKSHAFT OIL SEAL GUIDE
ST2 499587200 CRANKSHAFT OIL SEAL INSTALLER





13) Position the top ring gap at (A) or (B) in the figure.
14) Position the second ring gap at 180° on the reverse side the top ring gap.





15) Position the upper rail gap at (C) in the figure.





16) Align the upper rail spin stopper (E) to the side hole (D) on the piston.





17) Position the expander gap at (F) in the figure on the 180° opposite direction of (C).





18) Set the lower rail gap at position (G), located 120° clockwise from (C) in the figure.





NOTE:
^ Make sure ring gaps do not face the same direction.
^ Make sure ring gaps are not within the piston skirt area.

19) Install the snap ring.
Before positioning the piston on the cylinder block, attach the snap ring in the service hole of the cylinder block, and the piston hole on the opposite side.

NOTE:
Use new snap rings.








20) Install the piston.
(1) Set the parts so that the #1 and #2 cylinders are on the upper side.
(2) Using the ST1, turn the crankshaft so that #1 and #2 connecting rods are set at bottom dead center.
ST1 499987500 CRANKSHAFT SOCKET
(3) Apply a coat of engine oil to the pistons and cylinders and insert pistons in their cylinders using ST2.
ST2 498747300 PISTON GUIDE





NOTE:
Face the piston front mark towards the front of the engine.





21) Install the piston pin.
(1) Apply a coat of engine oil to ST3.
(2) Insert ST3 into the service hole to align the piston pin hole and the connecting rod small end.
ST3 499017100 PISTON PIN GUIDE





(3) Apply a thin coat of engine oil to piston pin, and insert the piston pin into piston and connecting rod through service hole.
(4) Install the snap ring.

NOTE:
Use new snap rings.





(5) Apply liquid gasket to the threaded portion of the service hole plug.

Liquid gasket:
THREE BOND 1105 (Part No. 004403010) or equivalent





(6) Install the service hole plug and gasket.

NOTE:
Use a new gasket.

Tightening torque:
70 Nm (7.1 kgf-m, 51.6 ft-lb)








(7) Set the parts so that the #3 and #4 cylinders are on the upper side. Following the same procedures as used for #1 and #2 cylinders, install the pistons and piston pins.
(8) Install the service hole cover.

NOTE:
Use new O-rings.

Tightening torque:
6.4 Nm (0.7 kgf-m, 4.7 ft-lb)

22) Install the water tank pipe assembly onto the cylinder block RH.

NOTE:
Use a new clamp for the water tank pipe assembly clamp, fit the cut out in the ST with the protrusion on the clamp as shown in the figure, and lock the clamp.

ST 18353AA000 CLAMP PLIERS





23) Install the baffle plate.

Tightening torque:
6.4 Nm (0.7 kgf-m, 4.7 ft-lb)

24) Install the oil strainer.

NOTE:
Use new O-rings.

Tightening torque:
10 Nm (1.0 kgf-m, 7.4 ft-lb)

25) Tighten the oil strainer stay together with the baffle plate.

Tightening torque:
6.4 Nm (0.7 kgf-m, 4.7 ft-lb)

26) Apply liquid gasket to the mating surfaces of oil pan, and install the oil pan.

NOTE:
Install within 5 min. after applying liquid gasket.

Liquid gasket:
THREE BOND 1217G (Part No. K0877Y0100) or equivalent

Tightening torque:
5 Nm (0.5 kgf-m, 3.7 ft-lb)





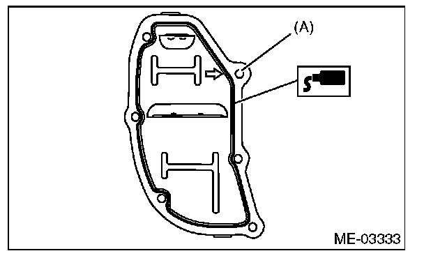
27) Apply liquid gasket to the mating surface of oil separator cover and the threaded portion of bolt (A) shown in the figure (when reusing the bolt), and then install the oil separator cover.

NOTE:
^ Install within 5 min. after applying liquid gasket.
^ Use new oil separator cover.

Liquid gasket:
Mating surface
THREE BOND 1217G (Part No.K0877Y0100) or equivalent
Bolt thread (A) (when reusing the bolt)
THREE BOND 1324 (Part No. 004403042) or equivalent

Tightening torque:
6.4 Nm (0.7 kgf-m, 4.7 ft-lb)





28) Install the drive plate.
29) Install the oil pump.
(1) Using the ST, install the front oil seal.
ST 499587100 OIL SEAL INSTALLER

NOTE:
Use a new front oil seal.





(2) Apply liquid gasket to the mating surfaces of oil pump.

NOTE:
Install within 5 min. after applying liquid gasket.

Liquid gasket:
THREE BOND 1217G (Part No. K0877Y0100) or equivalent





(3) Apply a thin coat of engine oil to the inside of front oil seal.





(4) Install the oil pump to cylinder block.

CAUTION:
^ Be careful not to damage the front oil seal during installation.
^ Make sure the front oil seal lip is not folded.


NOTE:
^ Align the flat surface of oil pump's inner rotor with that of crankshaft before installation.
^ Use new O-rings.
^ Do not forget to assemble O-rings.

(5) Apply liquid gasket to the three bolts thread shown in figure. (when reusing bolts)

Liquid gasket:
THREE BOND 1324 (Part No. 004403042) or equivalent

Tightening torque:
6.4 Nm (0.7 kgf-m, 4.7 ft-lb)





30) Install the water pump and gasket.

NOTE:
^ When installing the water pump, tighten bolts in two stages in alphabetical order as shown in the figure.
^ Use a new gasket.

Tightening torque:
First:
12 Nm (1.2 kgf-m, 8.9 ft-lb)

Second:
12 Nm (1.2 kgf-m, 8.9 ft-lb)





31) Install the water by-pass pipe for heater.

Tightening torque:
6.4 Nm (0.7 kgf-m, 4.7 ft-lb)

32) Install the oil filter.
33) Install the cylinder head.
34) Install the camshaft.
35) Install the generator and A/C compressor with their brackets.

Tightening torque:
36 Nm (3.7 kgf-m, 26.6 ft-lb)

36) Install the crank sprocket.
37) Install the cam sprocket.
38) Install the timing belt.
39) Adjust the valve clearance.
40) Install the rocker cover.
(1) Install the rocker cover gasket to the rocker cover. (outer section and ignition coil section)

NOTE:
Use a new rocker cover gasket.

(2) Apply liquid gasket to the specified point of the cylinder head.

NOTE:
Install within 5 min. after applying liquid gasket.

Liquid gasket:
THREE BOND 1217G (Part No. K0877Y0100) or equivalent





(3) Install the rocker cover onto cylinder heads. Ensure the gasket is properly positioned during installation.
(4) Temporarily tighten the rocker cover bolts in alphabetical order shown in the figure, and then tighten to specified torque in alphabetical order.

Tightening torque:
6.4 Nm (0.7 kgf-m, 4.7 ft-lb)





41) Connect the PCV hose (A) and PCV hose assembly (B) to the rocker cover.

NOTE:
Use a new clamp for the PCV hose (A), fit the cut out in the ST with the protrusion on the clamp as shown in the figure, and lock the clamp.

ST 18353AA000 CLAMP PLIERS








42) Install the timing belt cover.
43) Install the crank pulley.
44) Install the intake manifold.
45) Install the rear side belt.
46) Install the engine to the vehicle.

DISASSEMBLY





1) Remove the connecting rod cap.
2) Remove the connecting rod bearing.

NOTE:
Keep the removed connecting rods, connecting rod caps and bearings in order so that they are kept in their original combinations/groups, and not mixed together.

3) Remove the piston rings using piston ring expander.
4) Remove the oil ring by hand.

NOTE:
Arrange the removed piston rings in proper order, to prevent confusion.

5) Remove the snap ring.

ASSEMBLY





1) Apply engine oil to the surface of the connecting rod bearings, and install the connecting rod bearings on connecting rods and connecting rod caps.
2) Position each connecting rod with the side with a side mark facing forward, and install it.
3) Attach the connecting rod cap and tighten it with connecting rod bolt. Make sure the arrow on connecting rod cap faces the front during installation.

NOTE:
^ Each connecting rod has its own mating cap. Make sure that they are assembled correctly by checking their matching number.
^ When tightening the connecting rod bolts, apply oil on the threads.

Tightening torque:
52 Nm (5.3 kgf-m, 38.4 ft-lb)

4) Install the oil ring upper rail, expander and lower rail by hand.
5) Install the second ring and top ring using piston ring expander.

NOTE:
Assemble so that the piston ring mark "R" faces the top side of the piston.

INSPECTION

CYLINDER BLOCK

1) Check for cracks or damage. Use liquid penetrant tester on the important sections to check for fissures. Check that there are no marks of gas leaking or water leaking on gasket installing surface.
2) Check the oil passages for clogging.
3) Inspect the cylinder block surface that mates with cylinder head for warping by using a straight edge, and correct by grinding if necessary.

Warping limit:
0.025 mm (0.00098 in)

Grinding limit:
0.1 mm (0.004 in)

Standard height of cylinder block:
201.0 mm (7.91 in)

CYLINDER AND PISTON

1) The cylinder bore size is stamped on the front upper face of the cylinder block.

NOTE:
^ Measurement should be performed at a temperature of 20°C (68°F).
^ Standard sized pistons are classified into two grades, "A" and "B". These grades should be used as guide lines in selecting a standard piston.

Standard diameter:
A: 99.505 - 99.515 mm (3.9175 - 3.9179 in)
B: 99.495 - 99.505 mm (3.9171 - 3.9175 in)





2) Measure inner diameter of each cylinder.
Measure the inner diameter of each cylinder in both the thrust and piston pin directions at the heights as shown in the figure, using a cylinder bore gauge.

NOTE:
Measurement should be performed at a temperature of 20°C (68°F).

Cylindricality:
Limit
0.015 mm (0.0006 in)

Out-of-roundness:
Limit
0.010 mm (0.0004 in)





3) When the piston is to be replaced due to general or cylinder wear, select a suitable sized piston by measuring the piston clearance.
4) Measure outer diameter of each piston.
Measure the outer diameter of each piston at the height as shown in the figure. (Thrust direction)

NOTE:
Measurement should be performed at a temperature of 20°C (68°F).

Piston grade point H:
38.2 mm (1.50 in)

Piston outer diameter:

Standard
A: 99.505 - 99.515 mm (3.9175 - 3.9179 in)
B: 99.495 - 99.505 mm (3.9171 - 3.9175 in)
0.25 mm (0.0098 in) oversize
99.745 - 99.765 mm (3.9270 - 3.9278 in)
0.50 mm (0.0197 in) oversize
99.995 - 100.015 mm (3.9368 - 3.9376 in)





5) Calculate the clearance between cylinder and piston.

NOTE:
Measurement should be performed at a temperature of 20°C (68°F).

Clearance between cylinder and piston at 20°C (68°F):
Standard
-0.010 - 0.010 mm (-0.00039 - 0.00039 in)

6) Boring and honing
(1) If any of the measured value of cylindricality, out-of-roundness or cylinder-to-piston clearance is out of standard or if there is any damage on the cylinder wall, rebore it to replace with an oversize piston.

CAUTION:
When any of the cylinders needs reboring, all other cylinders must be bored at the same time, and replaced with oversize pistons.

(2) If the cylinder inner diameter exceeds the limit after boring and honing, replace the cylinder block.

NOTE:
Immediately after reboring, the cylinder diameter may differ from its real diameter due to temperature rise. Thus, when measuring the cylinder diameter, wait until it has cooled to room temperature.

Cylinder inner diameter boring limit (diameter):
To 100.005 mm (3.9372 in)

PISTON AND PISTON PIN

1) Check the piston and piston pin for damage, cracks or wear. Replace if faulty.
2) Check the piston ring groove for wear or damage. Replace if faulty.
3) Make sure that the piston pin can be inserted into the piston pin hole with a thumb at 20°C (68°F). Replace if faulty.

Clearance between piston pin hole and piston pin:
Standard
0.004 - 0.008 mm (0.0002 - 0.0003 in)








4) Check the snap ring installation groove (A) on the piston for burr. If necessary, remove burr from the groove so that the piston pin can lightly move.





5) Check the snap ring for distortion, cracks and wear.

PISTON RING

1) If the piston ring is broken, damaged or worn, or if its tension is insufficient, or when the piston is replaced, replace the piston ring with a new part of the same size as piston.

NOTE:
^ The top ring and second ring have the mark to determine the direction for installing. When installing the ring to piston, face marks to the top side.
^ Oil ring consists of the upper rail, expander and lower rail. When installing oil ring on piston, be careful of the direction of each rail.





2) Using the piston, insert the piston ring and oil ring into the cylinder block so that they are perpendicular to the cylinder wall, and measure the piston ring gap using a thickness gauge.








3) Fit the piston ring straight into the piston ring groove, then measure the clearance between piston ring and piston ring groove with a thickness gauge.

NOTE:
Before measuring the clearance, clean the piston ring groove and piston ring.








CONNECTING ROD

1) Replace the connecting rod, if the large or small end thrust surface is damaged.
2) Check for bend or twist using a connecting rod aligner. Replace the connecting rod if the bend or twist exceeds the limit.

Limit of bend or twist per 100 mm (3.94 in) in length:
0.10 mm (0.0039 in)





3) Install the connecting rod with bearings attached to the crankshaft, and measure the thrust clearance using a thickness gauge. If the thrust clearance exceeds the standard or uneven wear is found, replace the connecting rod.

Connecting rod thrust clearance:
Standard
0.070 - 0.330 mm (0.0028 - 0.0130 in)





4) Inspect the connecting rod bearing for scar, peeling, seizure, melting, wear, etc.
5) Measure the oil clearance on each connecting rod bearing using plastigauge. If any oil clearance is not within the standard, replace the defective bearing with a new part of standard size or undersize as necessary.

Connecting rod oil clearance:
Standard
0.017 - 0.045 mm (0.0007 - 0.0018 in)





6) Inspect the bushing at connecting rod small end, and replace the connecting rod if it is worn or damaged.
7) Measure the piston pin clearance at connecting rod small end. If the measured value is not within the standard, replace the connecting rod and piston pin as a set.

Clearance between piston pin and bushing:
Standard
0 - 0.022 mm (0 - 0.0009 in)








CRANKSHAFT AND CRANKSHAFT BEARING

1) Clean the crankshaft completely, and check it for cracks using liquid penetrant tester. If defective, replace the crankshaft.
2) Measure warping of the crankshaft. If it exceeds the limit, correct or replace it.

NOTE:
If a suitable V-block is not available, using just the #1 and #5 crankshaft bearings on cylinder block, position the crankshaft on cylinder block. Then, measure the crankshaft bend using a dial gauge.

Crankshaft bend limit:
0.035 mm (0.0014 in)





3) Inspect the crank journal and crank pin for wear. If they are not within the standard, replace the bearing with a suitable (undersize) one, and replace or grind to correct the crankshaft as necessary. When grinding the crank journal or crank pin, finish them to the specified dimensions according to the undersize bearing to be used.

Crank pin:
Cylindricality
Limit
0.006 mm (0.0002 in)
Out-of-roundness
Limit
0.005 mm (0.0002 in)
Grinding limit (dia.)
To 51.750 mm (2.0374 in)

Crank journal:
Cylindricality
Limit
0.006 mm (0.0002 in)
Out-of-roundness
Limit
0.005 mm (0.0002 in)
Grinding limit (dia.)
To 59.758 mm (2.3527 in)








4) Use a thickness gauge to measure the thrust clearance of crankshaft at #5 crank journal bearing. If clearance exceeds the standard, replace the bearing.

Crankshaft thrust clearance:
Standard
0.030 - 0.115 mm (0.0012 - 0.0045 in)





5) Inspect individual crankshaft bearings for signs of flaking, seizure, melting and wear.
6) Measure the oil clearance on each crankshaft bearing using plastigauge. If the measured value is out of standard, replace the defective bearing with an undersize one, and replace or grind to correct the crankshaft as necessary.

Crankshaft oil clearance:
Standard
0.010 - 0.030 mm (0.0004 - 0.0012 in)