Operation CHARM: Car repair manuals for everyone.
Manuals through 2025 now available!

Our trusted friends have launched a new website named LEMON, which has newer manuals. It also contains all the CHARM manuals.

LEMON is the spiritual successor to CHARM, I recommend you try it!

Link: lemon-manuals.la or lemon-manuals.org.ua

(Some people have issue connecting. LEMON is investigating. For now, use Firefox or change your DNS server)

Or, hide this message: temporarily or permanently

Main Shaft Assembly For Single-Range

Main Shaft Assembly for Single-Range

REMOVAL

1) Remove the manual transmission assembly from the vehicle.
2) Remove the transfer case together with the extension case assembly.
3) Remove the transmission case.
4) Remove the drive pinion shaft assembly.
5) Remove the main shaft assembly for single range.

INSTALLATION

1) Install the needle bearing and oil seal to the front of the transmission single-range main shaft assembly.

NOTE:
^ Wrap the clutch splined section with vinyl tape to prevent damage to the oil seal.
^ Apply NICHIMOLY N-130 (or equivalent) to the sealing lip of the oil seal.
^ Use a new oil seal.

2) Align the transmission case knock pin into the knock pin hole of the needle bearing outer race.

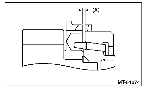
NOTE:
Align the end face of the seal with surface (A) when installing the oil seal.





3) Install the drive pinion shaft assembly.
4) Install the transmission case.
5) Install the transfer case together with the extension case assembly.
6) Install the manual transmission assembly to the vehicle.

DISASSEMBLY

1) Put vinyl tape around main shaft spline to protect the oil seal from damage. Then pull out the oil seal and needle bearing by hand.
2) Remove the lock nut from transmission main shaft assembly for single range.

NOTE:
Flatten the lock nut tab before removing the lock nut.

ST1 498937000 TRANSMISSION HOLDER
ST2 499987003 SOCKET WRENCH (35)





3) Remove the 5th hub & sleeve No. 2, baulk lever, baulk ring, and the 5th drive gear & needle bearing.





4) Using ST1 and ST2, remove the rest of the parts.

NOTE:
^ When replacing the sleeve & hub, replace them as a set.
^ Do not disassemble the sleeve & hub; the aligning position is pre-matched.
^ If it is necessary to disassemble, mark the engaging points on the splines beforehand.

ST1 899864100 REMOVER
ST2 899714110 REMOVER





ASSEMBLY

1) When the sleeve & hub assemblies have been disassembled, reassemble by aligning the alignment marks.

NOTE:
Position the open ends of the spring 120° apart.





2) Install the 3rd drive gear, outer baulk ring, synchro cone, inner baulk ring, sleeve & hub assembly for the 3rd needle bearing, on the transmission main shaft.

NOTE:
Align the groove in baulk ring with the shifting insert.





3) Install the 4th needle bearing race onto transmission main shaft using ST1, ST2 and press.

CAUTION:
Do not apply a load in excess of 10 kN (1 ton, 1.1 US ton, 1.0 Imp ton).

ST1 899714110 REMOVER
ST2 499877000 RACE 4-5 INSTALLER





4) Install the baulk ring, needle bearing, 4th drive gear and 4th gear thrust washer to the transmission main shaft.

NOTE:
^ Align the baulk ring and sleeve & hub assembly with the key groove.
^ Make sure the thrust washer is facing the correct direction.





5) Press-fit the ball bearing into the rear section of transmission main shaft using ST1, ST2 and a press.

CAUTION:
Do not apply a load in excess of 10 kN (1 ton, 1.1 US ton, 1.0 Imp ton).

ST1 899714110 REMOVER
ST2 499877000 RACE 4-5 INSTALLER





6) Using the ST1 and ST2, install the 5th gear thrust washer and 5th needle bearing race onto the rear section of transmission main shaft.

CAUTION:
Do not apply a load in excess of 10 kN (1 ton, 1.1 US ton, 1.0 Imp ton).

NOTE:
Make sure the thrust washer is facing the correct direction.

ST1 899714110 REMOVER
ST2 499877000 RACE 4-5 INSTALLER





7) Install rest of the parts to the rear section of the transmission main shaft.

CAUTION:
^ Install the baulk lever so that the concave side faces toward the 5th hub.







^ Align the protruded section of baulk ring between the baulk levers.








8) Tighten the lock nuts to the specified torque using ST1 and ST2.

NOTE:
^ Use new lock nuts and lock washers.
^ Make sure the lock washer is installed in the proper direction.

Tightening torque:
120 Nm (12.2 kgf-m, 88.5 ft-lb)

ST1 499987003 SOCKET WRENCH (35)
ST2 498937000 TRANSMISSION HOLDER
9) Crimp lock nuts in two locations after tightening.

INSPECTION

Disassembled parts should be washed with cleaning solvent first, then inspected carefully.
1) Bearing
Replace the bearings in the following cases.
^ When the bearing balls, outer races and inner races are broken or rusty.
^ When the bearing is worn.
^ When the bearings fail to turn smoothly or emit noise in rotation after gear oil lubrication.
^ When bearing has other defects.
2) Bushing (each gear)
Replace the bushing in following cases.
^ When the sliding surface is damaged or abnormally worn.
^ When the inner wall is abnormally worn.
3) Gear
Replace gears in the following cases.
^ Replace the gear with new part if its tooth surfaces are broken, damaged or excessively worn.
^ Correct or replace if the cone that contacts the baulk ring is rough or damaged.
^ Repair or replace if the inner surface or end face is damaged.
4) Baulk ring
Replace the baulk ring in the following cases.
^ When the inner surface and end face are damaged.
^ When the ring inner surface is abnormally or partially worn down.
^ When the contact surface of the synchronizer ring insert section is cracked or abnormally worn.
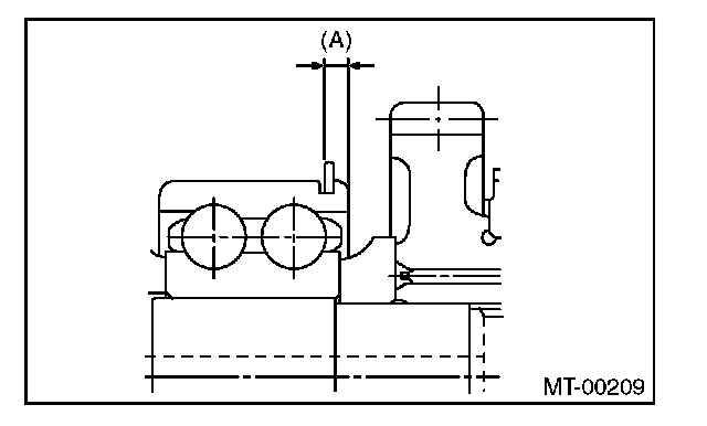
^ If the gap between the end faces of the ring and the gear splined part is excessively small, check the clearance (A) while pressing the ring against the cone.

Clearance (A):
0.5 mm (0.020 in) or more





^ Apply gear oil to the cone of the gear and while press-fitting the baulk ring, check there is no rotation in the circumferential direction.
5) Shifting insert key
Replace the insert key if deformed, excessively worn or defective in any way.
6) Coupling sleeve and synchronizer hub
^ Check the slipping condition of the coupling sleeve.
^ Check the splines on the coupling sleeve and synchronizer hub for wear.
7) Oil seal
Replace the oil seal if the lip is deformed, hardened, worn or defective in any way.
8) O-ring
Replace the O-ring if the sealing face is deformed, hardened, damaged, worn or defective in any way.
9) Gearshift mechanism
Repair or replace the gearshift mechanism if excessively worn, bent or defective in any way.

ADJUSTMENT

Selection of main shaft rear plate:
Measure the protrusion amount (A) of ball bearing from transmission main case surface, and select a suitable plate in the following table.

NOTE:
Before measuring, tap the end of main shaft with a plastic hammer lightly in order to make the clearance zero between the main case surface and moving flange of bearing.