Operation CHARM: Car repair manuals for everyone.
Manuals through 2025 now available!

Our trusted friends have launched a new website named LEMON, which has newer manuals. It also contains all the CHARM manuals.

LEMON is the spiritual successor to CHARM, I recommend you try it!

Link: lemon-manuals.la or lemon-manuals.org.ua

(Some people have issue connecting. LEMON is investigating. For now, use Firefox or change your DNS server)

Or, hide this message: temporarily or permanently

Transfer Case and Extension Case Assembly

Transfer Case and Extension Case Assembly

REMOVAL

1) Remove the manual transmission assembly from the vehicle.
2) Remove the back-up light switch and the neutral position switch.
3) Remove the transfer case together with the extension case assembly.





4) Remove the shifter arm.
5) Remove the extension case assembly.





INSTALLATION

1) Install the center differential and transfer driven gear into the transfer case.





2) Remove the bearing outer race and thrust washer from the extension case.





3) Install the bearing outer race to transfer driven gear.
4) While pressing the bearing outer race horizontally, rotate the driven shaft for ten turns.
5) Measure the height "W" between transfer case and taper roller bearing on the transfer driven gear.





6) Measure depth "X" of bearing insertion part of the extension case.

NOTE:
Measure with bearing outer race and thrust washer removed.





7) Calculate the thrust washer thickness "t" mm (in) using the following calculation. t = X - W + (0.15 - 0.20 mm (0.006 - 0.008 in))
8) Select the washer with the nearest value in the following table.

Preload of the taper roller bearing (amount of standard protrusion):
0.15 - 0.20 mm (0.006 - 0.008 in)

NOTE:
Be sure that it is always within the preload.





9) Install the selected thrust washer and bearing outer race into the extension case.





10) Measure the depth "S" between transfer case and center differential.
ST 398643600 GAUGE





11) Measure the height "T" between the extension case and transfer drive gear.
ST 398643600 GAUGE





12) Calculate the thrust washer thickness "U" mm (in) using the following calculation.
U = S + T - 30 mm (1.18 in) [Thickness of ST]

NOTE:
Thickness of ST: 15 mm (0.59 in)

13) Select a suitable washer in the following table.

Standard clearance:
0.15 - 0.35 mm (0.0059 - 0.0138 in)





14) Fit the thrust washer onto the center differential.
15) Apply a proper amount of liquid gasket to the transfer case mating surface.

Liquid gasket:
THREE BOND 1215 (Part No. 004403007) or equivalent





16) Attach the extension assembly to the transfer case.

Tightening torque:
40 Nm (4.1 kgf-m, 29.5 ft-lb)





17) Attach the shifter arm to transfer case.





18) Attach the gasket.

NOTE:
Use a new gasket.

19) Hang the shifter arm on 3rd-4th fork rod.





20) Install the transfer case along with the extension case assembly to the transmission case.

Tightening torque:
24.5 Nm (2.5 kgf-m, 18.1 ft-lb)





DISASSEMBLY

TRANSFER CASE

1) Remove the reverse check sleeve assembly.
2) Remove the oil guide.





3) Remove the oil seal.
4) Set ST1, ST2 and transfer case to a press.

NOTE:
^ Set the ST2 under ST1.
^ Set the transfer case so that the hole for shifter arm is positioned vertically.

ST1 498267300 CYLINDER HEAD TABLE
ST2 498267200 CYLINDER HEAD TABLE





5) Using the round bar with diameter of 22 mm (0.87 in) or 23 mm (0.91 in), remove the roller bearing.





EXTENSION CASE

1) Remove the transfer drive gear assembly.
2) Remove the shift bracket.





3) Remove the oil seal from the extension case.

ASSEMBLY

EXTENSION CASE

1) Using the ST, install the oil seal to the extension case.

NOTE:
Use a new oil seal.

2) Install the shift bracket to extension case.

Tightening torque:
24.5 Nm (2.5 kgf-m, 18.1 ft-lb)





3) Install the transfer drive gear to the extension case.

TRANSFER CASE

1) Set the ST1, ST2, iron plate and the transfer case to the press.

NOTE:
^ Set the ST2 under ST1.
^ Set the transfer case so that the hole for shifter arm is positioned vertically.
^ Insert the iron plate which is thicker than the exposed length of the transfer case knock pin between the ST and transfer case.
^ Set the iron plate so that the transfer case knock pin does not ride on the iron plate.

ST1 498267300 CYLINDER HEAD TABLE
ST2 498267200 CYLINDER HEAD TABLE





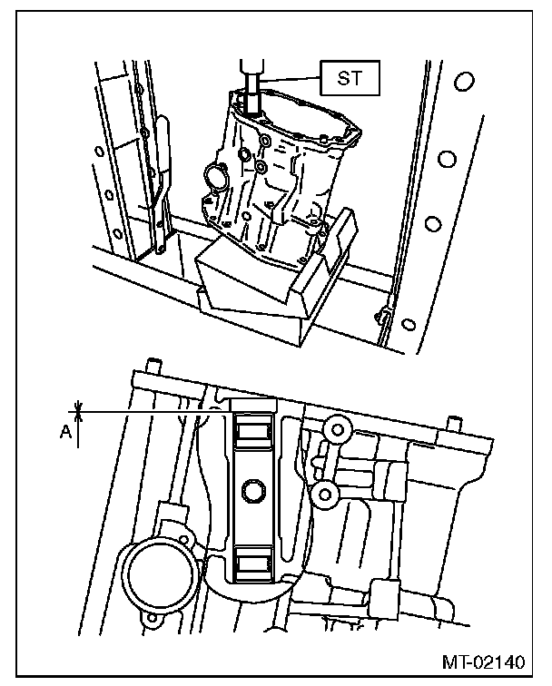
2) Press-fit the roller bearing using the ST.

Press-fit depth of needle bearing:
A: 0±0.2 mm (0±0.01 in) from the end of transfer case
ST 899864100 REMOVER





3) Remove the iron plate, and turn over the transfer case.

NOTE:
Set the transfer case so that the hole for shifter arm is positioned vertically.

4) Press-fit the roller bearing using the ST.

Press-fit depth of needle bearing:
A: 0±0.2 mm (0±0.01 in) from the end of transfer case
ST 899864100 REMOVER





5) Install the shifter arm to the transfer case, and make sure that the shift arm moves smoothly.
6) Install the oil guide to the transfer case.

NOTE:
Use a new installing bolt.

Tightening torque:
6.4 Nm (0.7 kgf-m, 4.7 ft-lb)





7) Install the reverse check sleeve assembly to the transfer case.
8) Install the oil seal.

NOTE:
Use a new oil seal.

Press-fit depth of oil seal:
A: 1±0.2 mm (0.04±0.01 in) from the end of transfer case