Operation CHARM: Car repair manuals for everyone.
Manuals through 2025 now available!

Our trusted friends have launched a new website named LEMON, which has newer manuals. It also contains all the CHARM manuals.

LEMON is the spiritual successor to CHARM, I recommend you try it!

Link: lemon-manuals.la or lemon-manuals.org.ua

(Some people have issue connecting. LEMON is investigating. For now, use Firefox or change your DNS server)

Or, hide this message: temporarily or permanently

Part 3

Cylinder Block

ASSEMBLY (Continued)

PISTON PIN & CONNECTING ROD BUSHING

1) Check the connecting rod bushing for damage.
2) Check the clearance between piston pin and connecting rod bushing. Check the clearance between piston pin and connecting rod bushing by measuring the outer diameter of piston pin and the inner diameter of connecting rod bushing respectively.
(1) Measure the outer diameter of piston pin with a micrometer.

NOTE:
^ Measurement should be performed at a temperature of 20°C (68°F).
^ Measure the outer diameter of the piston pin at the two locations as shown in the figure, and read the value of most worn location.
^ Record the measured value.





(2) Using a caliper gauge, measure the inner diameter of connecting rod bushing.

NOTE:
^ Measurement should be performed at a temperature of 20°C (68°F).
^ Measure the inner diameter of the connecting rod bushing at the two locations as shown in the figure, and read the value of most worn location.
^ Record the measured value.





(3) Calculate the clearance between piston pin and connecting rod bushing.

Clearance between piston pin and connecting rod bushing:
Standard
0.004 - 0.026 mm (0.0002 - 0.0010 in)

3) If the clearance between piston pin and connecting rod bushing is not within the standard, replace the connecting rod bushing and piston pin as a set. For replacement procedure of connecting rod bushing, refer to the following.
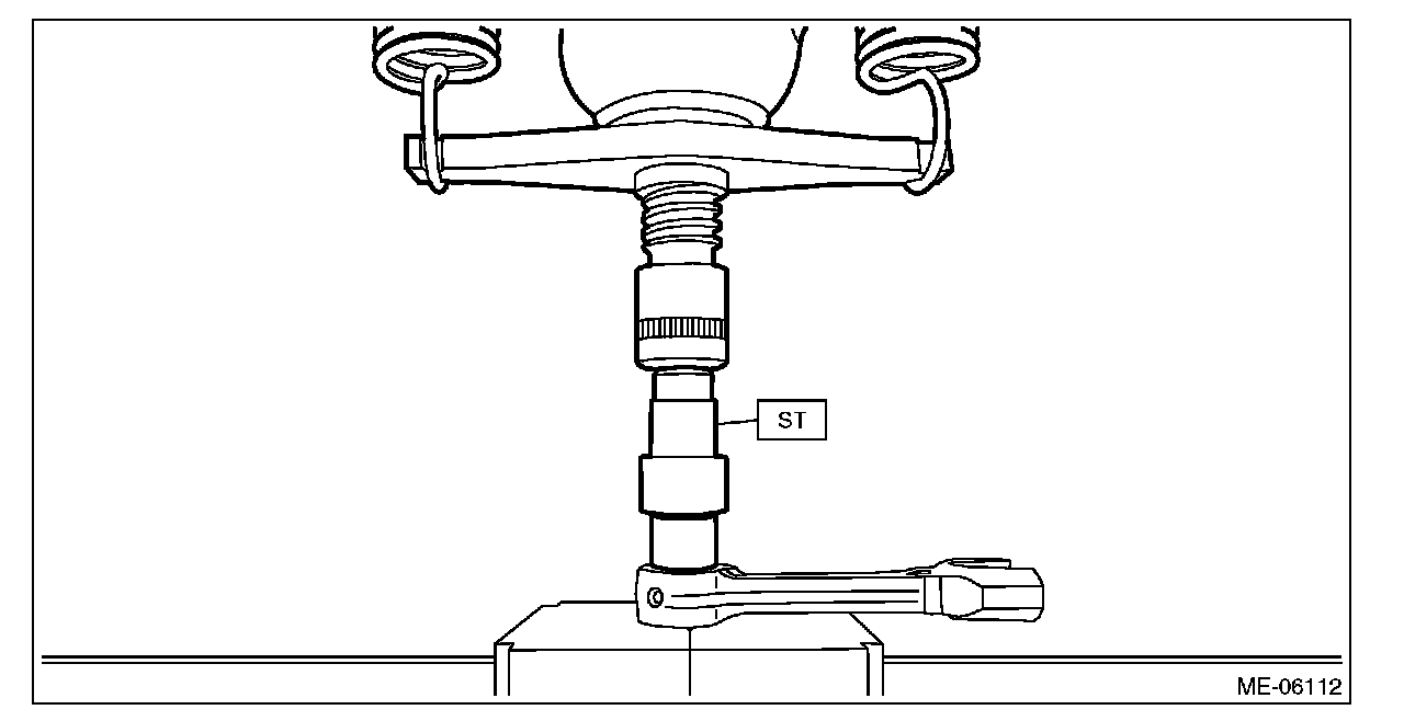
(1) Remove the connecting rod bushing from connecting rod small end with ST and press.

NOTE:
Be careful not to confuse the direction of the ST, because it is used in opposite directions for extraction and press-fit.

ST 18350AA000 CONNECTING ROD BUSHING REMOVER AND INSTALLER





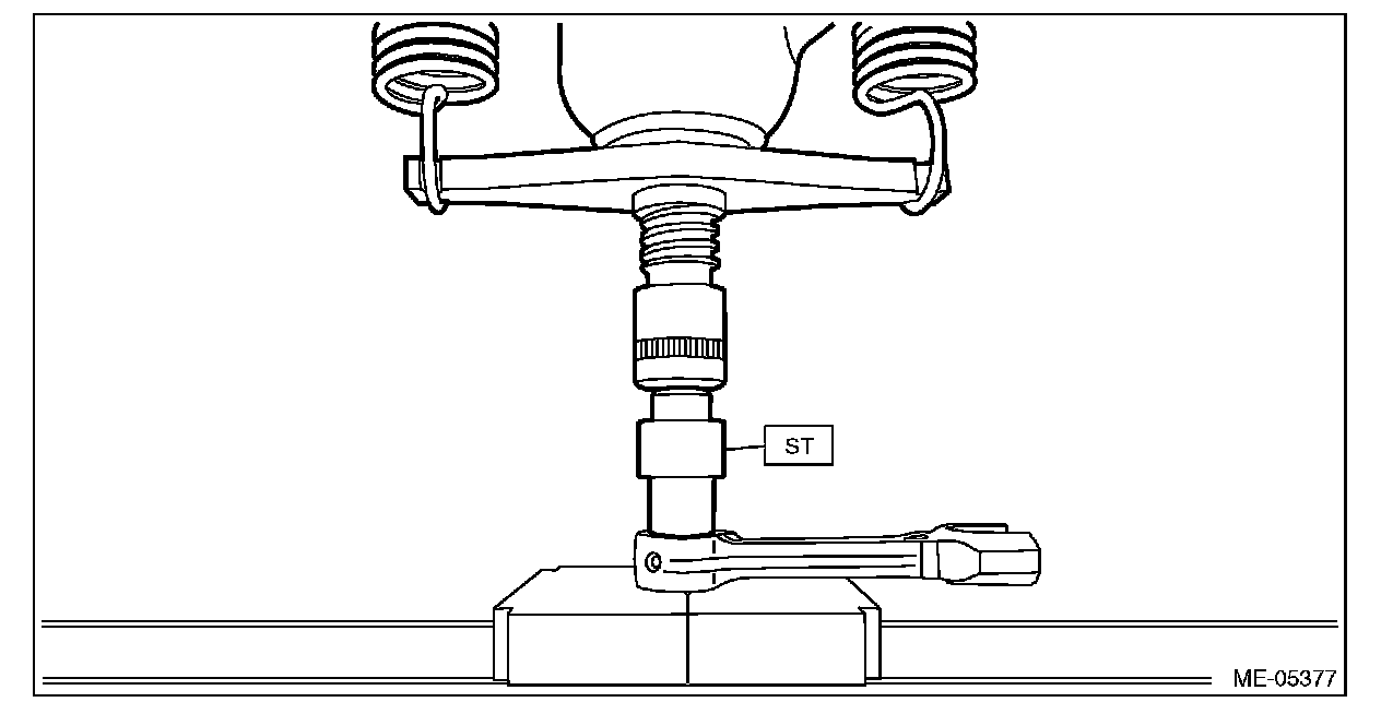
(2) Press the connecting rod bushing with ST and the press, after applying engine oil on the periphery of connecting rod bushing.

NOTE:
^ Position the clinch portion of connecting rod bushing as shown in the figure.





^ Be careful not to confuse the direction of the ST, because it is used in opposite directions for extraction and press-fit.
ST 18350AA000 CONNECTING ROD BUSHING REMOVER AND INSTALLER





(3) Make two 3 mm (0.12 in) holes in the pressed connecting rod bushing by aligning with the pre-manufactured holes on the connecting rod small end.
(4) Ream the inside of connecting rod bushing using the reamer. Insert the reamer in the connecting rod bushing, and turn slowly clockwise while pushing lightly. Bring the reamer back while rotating it clockwise.

NOTE:
^ Use a [diameter]22 reamer.
^ Apply engine oil to the reamer.
^ If the inner surface of valve guide is damaged, the edge of reamer should be slightly ground with oil stone.
^ If the inner surface of connecting rod bushing becomes lustrous and the reamer does not chip, use a new reamer or remedy the reamer.

(5) After completion of reaming, clean the connecting rod bushing to remove chips.

CRANKSHAFT AND CRANKSHAFT BEARING

1) Clean the crankshaft completely, and check it for cracks using liquid penetrant tester.
2) Using a dial gauge, check the crankshaft bend. If it exceeds the limit, grind to correct the crankshaft journal or replace the crankshaft.

NOTE:
^ Measurement should be performed at a temperature of 20°C (68°F).
^ If a suitable V-block is not available, using just the #1 and #5 crankshaft bearings on cylinder block, position the crankshaft on cylinder block. Then, measure the crankshaft bend using a dial gauge.
^ When grinding to correct the crankshaft journal, refer to step 3).

Crankshaft bend:
Limit
0.035 mm (0.0014 in)





3) Using a micrometer, check the outer diameter of crankshaft pin, outer diameter of journal, cylindricality, and out-of-roundness. If it is not within the standard, replace the connecting rod bearing or crankshaft bearing, and grind to correct the crankshaft pin or journal or replace the crankshaft as required.

NOTE:
^ Measurement should be performed at a temperature of 20°C (68°F).
^ Select the suitable size connecting rod bearing or crankshaft bearing when replacing the connecting rod bearing or crankshaft bearing.
^ When grinding to correct the crankshaft pin or journal, finish them to the suitable outer diameter as shown in the table below according to the undersize bearing to be used.





Crankshaft pin:
Cylindricality
Limit
0.006 mm (0.0002 in)
Out-of-roundness
Limit
0.005 mm (0.0002 in)
Grinding limit (dia.)
To 47.726 mm (1.8790 in)
Crankshaft journal:
Cylindricality
Limit
0.006 mm (0.0002 in)
Out-of-roundness
Limit
0.005 mm (0.0002 in)
Grinding limit (dia.)
To 67.735 mm (2.6667 in)





4) Inspect the crankshaft bearing for scar, peeling, seizure, melting or wear, etc.
5) Use a thickness gauge to check the thrust clearance of crankshaft at thrust of #5 crankshaft bearing. If it is not within the standard, replace the #5 crankshaft bearing.

NOTE:
^ Measurement should be performed at a temperature of 20°C (68°F).
^ Set all the crankshaft bearings onto the cylinder block, then mount the crankshaft on the cylinder block, and use a thickness gauge to measure the thrust clearance of crankshaft.
^ Select the #5 crankshaft bearing of suitable size by referring to step 3) when replacing #5 crankshaft bearing.

Crankshaft thrust clearance:
Standard
0.130 - 0.308 mm (0.00512 - 0.01213 in)





6) Check the oil clearance on each crankshaft bearing using Plastigauge(R).

NOTE:
Measurement should be performed at a temperature of 20°C (68°F).

(1) Remove the liquid gasket from cylinder block.
(2) Clean each crankshaft bearing and crankshaft journal.
(3) Set each crankshaft bearing to the cylinder block.

CAUTION:
^ Place a wood board wrapped with a waste cloth to prevent the knock pin damage and to stabilize the cylinder block before work.
^ Be careful not to scratch the mating surface of cylinder block during work.






(4) Set the crankshaft to the cylinder block LH.





(5) Place a Plastigauge(R) across the crankshaft journals and set the cylinder block RH to the cylinder block LH.
(6) Apply a coat of engine oil to the washers and cylinder block mounting bolt threads.

NOTE:
To prevent mixture of engine oil into the water jacket, do not apply a large amount.

(7) Install the cylinder head bolt at the locations shown in the figure.

NOTE:
This procedure is required to tighten the cylinder block mounting bolts with specified angle using ST.





(8) Tighten all mounting bolts with a torque of 35 Nm (3.6 kgf-m, 25.8 ft-lb) in numerical order as shown in the figure.

CAUTION:
When tightening the mounting bolts with specified torque, hold the cylinder block LH while not holding the cylinder block RH to ensure the joint accuracy of the cylinder block.





(9) Loosen all mounting bolts by 180° in numerical order as shown in the figure.

CAUTION:
When loosening the mounting bolts, hold the cylinder block LH while not holding the cylinder block RH to ensure the joint accuracy of the cylinder block.





(10) Tighten all mounting bolts with a torque of 35 Nm (3.6 kgf-m, 25.8 ft-lb) in numerical order as shown in the figure.

CAUTION:
When tightening the mounting bolts with specified torque, hold the cylinder block LH while not holding the cylinder block RH to ensure the joint accuracy of the cylinder block.





(11) Loosen the mounting bolts (4 places) by 180° in numerical order as shown in the figure.

CAUTION:
When loosening the mounting bolts, hold the cylinder block LH while not holding the cylinder block RH to ensure the joint accuracy of the cylinder block.





(12) Tighten the mounting bolts (4 places) with a torque of 17 Nm (1.7 kgf-m, 12.5 ft-lb) in numerical order as shown in the figure.

CAUTION:
When tightening the mounting bolts with specified torque, hold the cylinder block LH while not holding the cylinder block RH to ensure the joint accuracy of the cylinder block.





(13) Using ST, tighten the mounting bolts (4 places) with specified angle in numerical order as shown in the figure.

CAUTION:
When tightening the mounting bolts with specified angle, hold the cylinder block LH while not holding the cylinder block RH to ensure the joint accuracy of the cylinder block.

NOTE:
Attach the magnet used for securing the ST (ANGLE GAUGE) to the cylinder head bolt attached in step (2).

ST 18854AA000 ANGLE GAUGE

Tightening angle:
60°±2°





(14) Loosen the mounting bolts (6 places) by 180° in numerical order as shown in the figure.

CAUTION:
When loosening the mounting bolts, hold the cylinder block LH while not holding the cylinder block RH to ensure the joint accuracy of the cylinder block.





(15) Tighten the mounting bolts (6 places) with a torque of 17 Nm (1.7 kgf-m, 12.5 ft-lb) in numerical order as shown in the figure.

CAUTION:
When tightening the mounting bolts with specified torque, hold the cylinder block LH while not holding the cylinder block RH to ensure the joint accuracy of the cylinder block.





(16) Using ST, tighten the mounting bolts (6 places) with specified angle in numerical order as shown in the figure.

CAUTION:
When tightening the mounting bolts with specified angle, hold the cylinder block LH while not holding the cylinder block RH to ensure the joint accuracy of the cylinder block.

NOTE:
Attach the magnet used for securing the ST (ANGLE GAUGE) to the cylinder head bolt attached in step (2).
ST 18854AA000 ANGLE GAUGE

Tightening angle:
60°±2°





(17) Remove the cylinder head bolt attached at the locations shown in the figure.





(18) Loosen the cylinder block mounting bolts in numerical order as shown in the figure, and separate the cylinder block RH and LH.

NOTE:
Lift the cylinder block RH slightly, and confirm that the crankshaft is remaining in the cylinder block LH. If the cylinder block RH is lifted carelessly when separating, the crankshaft may stick to cylinder block RH, then fall off.





(19) Determine the crankshaft oil clearance by matching the widest point of the Plastigauge(R) on each journal against scale printed on a package of the Plastigauge(R). If it is not within the standard, replace the crankshaft bearing, and grind to correct the crankshaft journal or replace the crankshaft as required.

NOTE:
^ Select the crankshaft bearing of suitable size by referring to step 3) when replacing crankshaft bearing.
^ When grinding to correct the crankshaft journal, finish it to the suitable outer diameter by referring to step

3) according to the undersize bearing to be used.

Crankshaft oil clearance:
Standard
0.013 - 0.031 mm (0.00051 - 0.00122 in)





(20) Completely remove the Plastigauge(R).