Operation CHARM: Car repair manuals for everyone.
Manuals through 2025 now available!

Our trusted friends have launched a new website named LEMON, which has newer manuals. It also contains all the CHARM manuals.

LEMON is the spiritual successor to CHARM, I recommend you try it!

Link: lemon-manuals.la or lemon-manuals.org.ua

(Some people have issue connecting. LEMON is investigating. For now, use Firefox or change your DNS server)

Or, hide this message: temporarily or permanently

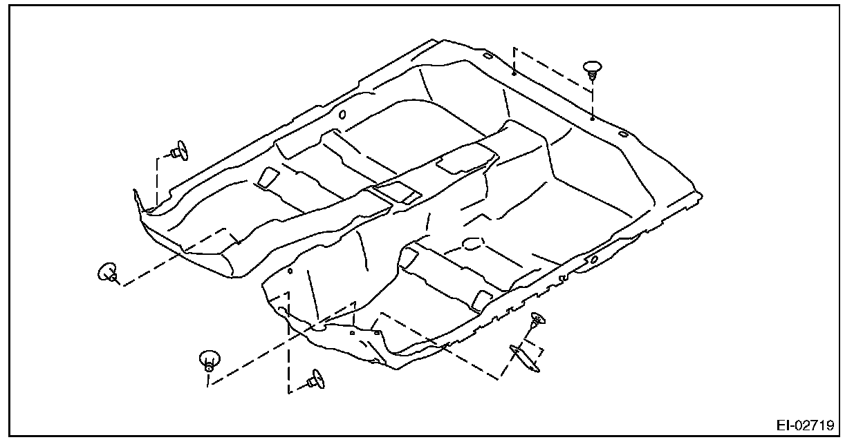
Carpet: Service and Repair

Floor Mat

REMOVAL

1. Remove the front seat assembly.
2. Remove the rear seat cushion assembly.
3. Remove the console box assembly.
4. Remove the console front side cover.
5. Remove the lower inner trim.
6. Remove the pull handle cover.
1. Open the cover by using a flat tip screwdriver.
2. Remove the screw and remove the pull handle cover.







7. Take out the floor mat from the vehicle.
1. Remove the clips from the floor mat.
2. Remove the mat hook on both sides.
3. Take out the floor mat after folding down.







INSTALLATION

Install each part in the reverse order of removal.

NOTE: Secure the mat firmly with hook and clip.