Operation CHARM: Car repair manuals for everyone.
Manuals through 2025 now available!

Our trusted friends have launched a new website named LEMON, which has newer manuals. It also contains all the CHARM manuals.

LEMON is the spiritual successor to CHARM, I recommend you try it!

Link: lemon-manuals.la or lemon-manuals.org.ua

(Some people have issue connecting. LEMON is investigating. For now, use Firefox or change your DNS server)

Or, hide this message: temporarily or permanently

Reduction Driven Gear

Reduction Driven Gear

REMOVAL

1) Remove the transmission assembly from vehicle body.
2) Remove the rear vehicle speed sensor, and separate the extension case from transmission case.
3) Remove the center differential carrier.
4) Set the range select lever to the "P" range.
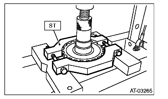
5) Using ST1, ST2 and ST3, pull out the reduction driven gear.
ST1 499737100 PULLER SET
ST2 18680AA010 GEAR HOLDER
ST3 18766AA000 SUPPORT PULLER





INSTALLATION

1) Set the range select lever to the "P" range.
2) Use a plastic hammer to install reduction driven gear assembly.
3) Select the reduction gear shims.
4) Join the transmission case and the extension case, and then install the rear vehicle speed sensor.
5) Install the transmission assembly to the vehicle.

DISASSEMBLY

1) Remove the ball bearing from reduction driven gear using ST.
ST 498077300 REMOVER





2) Remove the ball bearing on the reverse side with the same procedure as step 1).
ST 498077300 REMOVER





3) Remove the snap ring of the parking gear.





4) Using the ST, remove the parking gear.
ST 18767AA000 REMOVER





ASSEMBLY

1) Using the ST, install the parking gear.
ST 499755602 PRESS





2) Install the snap ring.





3) Install the ball bearing to the reduction driven gear using a press.

NOTE:
Use a new ball bearing.

ST 18654AA000 INSTALLER





4) Install the ball bearing on the reverse side with the same procedure as step 3).
ST 18654AA000 INSTALLER





INSPECTION

Check the ball bearing and gear for break or damage.

ADJUSTMENT

1) Using the ST, measure the height "A" from the AT main case mating surface to the ball bearing outer ring contact surface.
ST 499575400 GAUGE





2) Using the ST, measure the depth "B", which is from mating surface of extension case to ball bearing outer ring contact surface.
ST 499575400 GAUGE





3) Calculation formula:
When clearances are 0.05 mm (0.0020 in):
T (mm) = B - A + 0.23
[T (in) = B - A + 0.0091]
When clearances are 0.25 mm (0.0098 in):
T (mm) = B - A + 0.03
[T (in) = B - A + 0.0012]
T: Shim clearance
A: Height from the mating surface of the AT main case to the ball bearing outer ring end surface
B: Depth from mating surface of extension case to ball bearing outer ring contact surface

Specification:
0.05 - 0.25 mm (0.0020 - 0.0098 in)

4) Select the reduction gear shim so that the clearance is within the specified range.