Operation CHARM: Car repair manuals for everyone.
Manuals through 2025 now available!

Our trusted friends have launched a new website named LEMON, which has newer manuals. It also contains all the CHARM manuals.

LEMON is the spiritual successor to CHARM, I recommend you try it!

Link: lemon-manuals.la or lemon-manuals.org.ua

(Some people have issue connecting. LEMON is investigating. For now, use Firefox or change your DNS server)

Or, hide this message: temporarily or permanently

Oil Pump Chain

Oil Pump Chain

REMOVAL

1) Remove the transmission assembly from the vehicle.
2) Remove the torque converter assembly.
3) Remove the oil pump chain cover.

NOTE:
Oil pump chain cover may be hard to remove because the driven sprocket is installed to the shaft side of the oil pump. In this case, do not apply excessive force to remove it.





4) Remove the seal ring.





5) Remove the driven sprocket from oil pump chain cover to remove the oil pump chain.

NOTE:
^ The driven sprocket is replaced as an assembly only, because it is a non-disassembly part.
^ If the ball bearing is removed from the driven sprocket, replace with a new part.





6) Remove the snap ring.





7) Remove the drive sprocket.





8) Remove the oil seal from the oil pump chain cover.





INSTALLATION

1) Clean the mating surface of oil pump chain cover and converter case.
2) Using the ST, install the oil seal.

NOTE:
^ Use a new oil seal.
^ Apply CVTF to the oil seal lip and press-fitting surface.

ST 499755602 PRESS SNAP RING





3) Install the drive sprocket.





4) Install the snap ring so that its cutout portion is securely fitted into the snap ring groove of the oil pump chain cover.





5) Place the oil pump chain on drive sprocket.
6) Place the oil pump chain on driven sprocket and install the driven sprocket to oil pump chain cover.





7) Install the seal ring.

NOTE:
^ Use a new seal ring.
^ Apply CVTF to the seal rings.
^ When installing the seal ring, do not expand the seal ring too much.





8) Apply liquid gasket seamlessly to the mating surface of oil pump chain cover.

CAUTION:
Do not apply liquid gasket at the arrowed hole.

Liquid gasket:
THREE BOND 1215 (Part No. 004403007) or equivalent





9) Install the oil pump chain cover.

Tightening torque:
21 Nm (2.1 kgf-m, 15.5 ft-lb)





10) Install the torque converter assembly.
11) Install the transmission assembly to the vehicle.

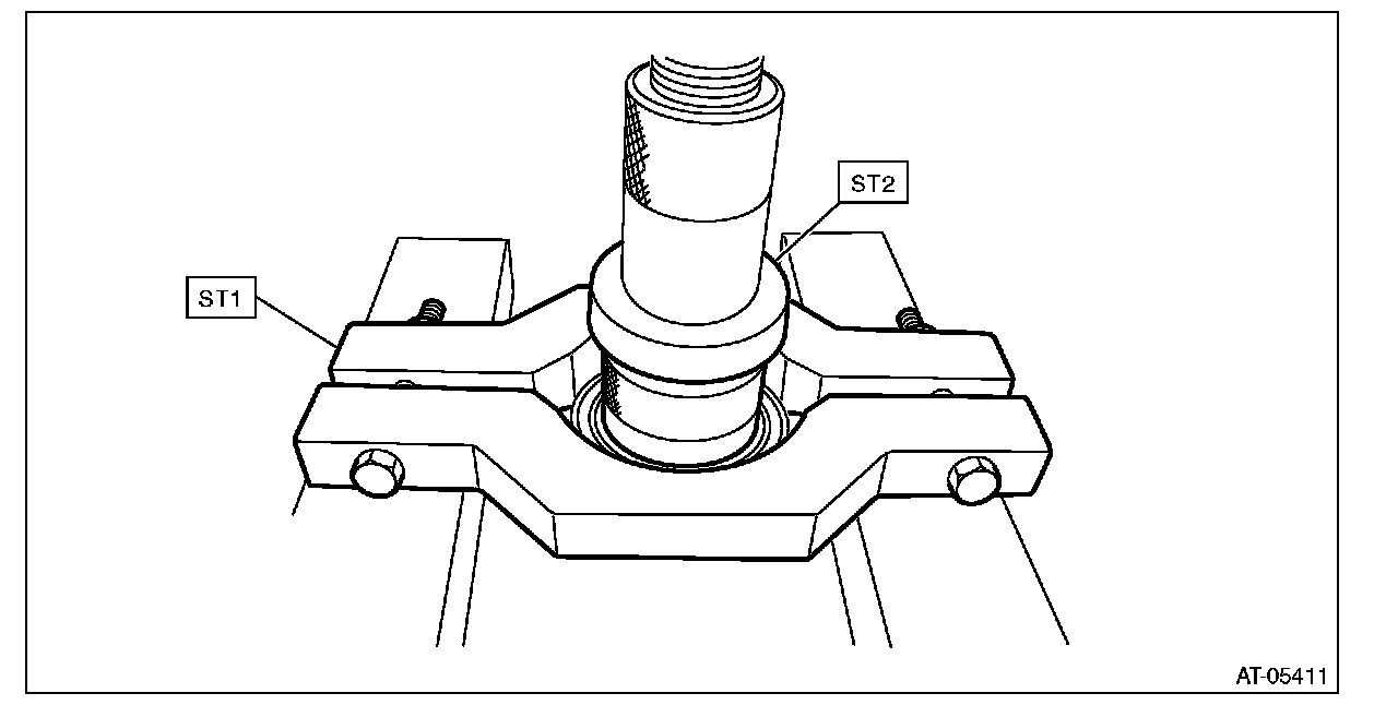
DISASSEMBLY

DRIVE SPROCKET

1) Remove the snap ring.





2) Remove the ball bearing using ST.
ST1 498077600 REMOVER
ST2 399513600 INSTALLER





ASSEMBLY

DRIVE SPROCKET

1) Using the ST, install the ball bearing.

NOTE:
Use a new ball bearing.

ST 499755502 PRESS SNAP RING





2) Install the snap ring.





INSPECTION

^ Check the oil pump chain for damage.
^ Replace if gear teeth are broken, damaged, sharpen or excessively worn.
^ Check the bearing for seizure or wear.
^ Apply CVTF to bearing and rotate the bearing to check for noise or dragging etc.
^ Check the oil pump chain cover for damage.
^ Check for leakage of CVTF from the mating surface of oil pump chain cover.
^ Check the oil seal for damage.