Operation CHARM: Car repair manuals for everyone.
Manuals through 2025 now available!

Our trusted friends have launched a new website named LEMON, which has newer manuals. It also contains all the CHARM manuals.

LEMON is the spiritual successor to CHARM, I recommend you try it!

Link: lemon-manuals.la or lemon-manuals.org.ua

(Some people have issue connecting. LEMON is investigating. For now, use Firefox or change your DNS server)

Or, hide this message: temporarily or permanently

Reverse Brake Assembly

Reverse Brake Assembly

REMOVAL

1) Remove the transmission assembly from the vehicle.
2) Remove the air breather hose.
3) Remove the control valve body.
4) Remove the transmission harness.
5) Remove the turbine speed sensor.
6) Remove the secondary speed sensor.
7) Remove the primary speed sensor.
8) Remove the inhibitor switch.
9) Remove the extension case.
10) Remove the transfer clutch assembly.
11) Remove the transfer driven gear assembly.
12) Remove the parking pawl.
13) Remove the reduction driven gear assembly.
14) Remove the oil pan and oil strainer.
15) Remove the transmission control device.
16) Remove the transmission case.
17) Remove the reduction drive gear.
18) Remove the primary pulley, secondary pulley and variator chain.
19) Remove the manual valve assembly.





20) Remove the oil guide and lubrication pipe.





21) Remove the O-ring from lubrication pipe.





22) Remove the reverse brake assembly.





23) Remove the O-ring.





INSTALLATION

1) Select a washer.
2) Install the selected washer to the reverse brake housing.





3) Install the thrust bearing to the reverse brake housing.

NOTE:
Face the temper color surface to the reverse brake side.





4) Remove the internal gear from the forward clutch assembly, and install it to the reverse brake housing.





5) Install the O-ring.

NOTE:
^ Install a new O-ring.
^ Apply CVTF to the O-ring.





6) Install the reverse brake assembly and internal gear as a unit to the drive pinion retainer.

NOTE:
Slowly rotate the input shaft by hand to engage the internal gear and pinion gear of planetary carrier.

Tightening torque:
37 Nm (3.8 kgf-m, 27.3 ft-lb)





7) Install the O-ring to the lubrication pipe.

NOTE:
^ Install a new O-ring.
^ Apply CVTF to the O-ring.





8) Install the lubrication pipe and oil guide.

Tightening torque:
16 Nm (1.6 kgf-m, 11.8 ft-lb)





9) Install the manual valve assembly and separator plate.

Tightening torque:
9 Nm (0.9 kgf-m, 6.6 ft-lb)





10) Install the primary pulley, secondary pulley and variator chain.
11) Select shims for pulley alignment.
12) Install the reduction drive gear.
13) Install the transmission case.
14) Install the transmission control device.
15) Install the oil strainer and oil pan.
16) Install the reduction driven gear assembly.
17) Install the transfer driven gear assembly.
18) Install the transfer clutch assembly.
19) Install the parking pawl.
20) Install the extension case.
21) Install the inhibitor switch.
22) Install the secondary speed sensor.
23) Install the primary speed sensor.
24) Install the turbine speed sensor.
25) Install the transmission harness.
26) Install the control valve body.
27) Install the air breather hose.
28) Install the transmission assembly to the vehicle.

DISASSEMBLY

1) Remove the snap ring.
2) Remove the retaining plate, drive plate, driven plate and dish plate.





3) Compress the return spring using the ST to remove the snap ring.
ST 18762AA000 COMPRESSOR SPECIAL TOOL





4) Using the ST, remove the snap ring and spring retainer.





5) Remove the return spring.





6) Remove the reverse brake piston by blowing compressed air intermittently from reverse brake housing hole.





ASSEMBLY

1) Install the reverse brake piston.

NOTE:
Apply CVTF to the sealing area of reverse brake piston.





2) Install the return spring.





3) Install the spring retainer.





4) Compress the return spring using the ST to install the snap ring.
ST 18762AA000 COMPRESSOR SPECIAL TOOL





5) Check the operation of reverse brake piston by blowing compressed air intermittently from reverse brake housing hole.





6) Place the driven plate, drive plate and retaining plate neatly in this order on surface table.
7) Set the dial gauge to retaining plate, and read its scale.

NOTE:
The value, which is read in the gauge at this time, is zero point.

8) Scale and record the weight "Z" of a flat board which will be put on retaining plate.

NOTE:
^ Use a stiff board which does not bend against load as a flat board to be put on retaining plate.
^ Use a flat board weighing less than 29 N (3.0 kgf, 6.5 lb).

9) Put the flat board on retaining plate.





10) Using the following formula, read the push/pull gauge and calculate "N".
N = 29 N (3.0 kgf, 6.5 lb) - Z
29 N (3.0 kgf, 6.5 lb) : Load applied to clutch plate
Z: Flat board weight

11) Press the center of retaining plate by applying a force of "N" using push/pull gauge, and then measure and record the compression amount "A".

NOTE:
Measure at four points with a 90° interval and calculate the average.





12) Install the dish plate, drive plate, driven plate, retaining plate and snap ring to the reverse brake housing.

NOTE:
Install the dish plate in the correct direction.





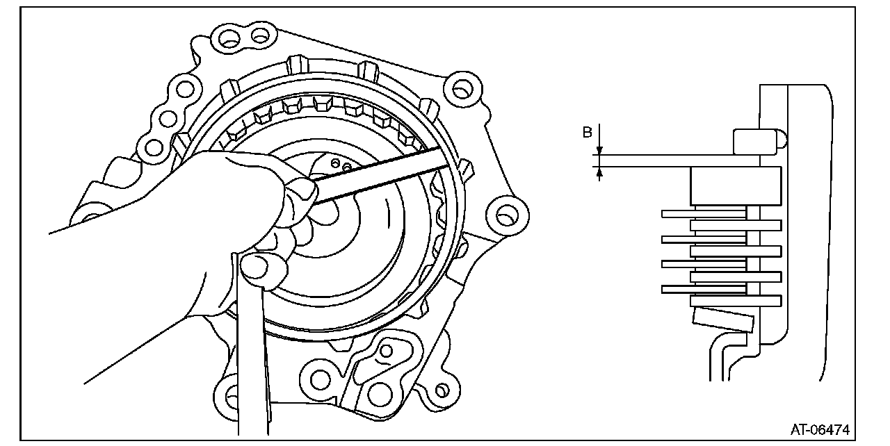
13) Measure and record the clearance "B" between the retaining plate and snap ring.





14) Piston stroke calculation
Calculate with A and B dimensions recorded before. If it exceeds the limit, replace with a new drive plate and adjust within the initial standard value.
S mm (in) = A + B
S: Piston stroke
A: Compression amount of drive plate and dish plate
B: Clearance between retaining plate and snap ring

Initial standard:
2.3 - 2.7 mm (0.091 - 0.106 in)

Limit thickness:
2.9 mm (0.114 in)





INSPECTION

^ Inspect the drive plate facing for wear and damage.
^ Check the driven plate for discoloration (burnt color).
^ Check for worn snap ring, fatigue or damaged return spring or deformed spring retainer.
^ Make sure the clearance between retaining plate and snap ring of reverse brake is within the limit. If it exceeds the limit, replace with a new drive plate and select and adjust the retaining plate within the initial standard value.