Operation CHARM: Car repair manuals for everyone.
Manuals through 2025 now available!

Our trusted friends have launched a new website named LEMON, which has newer manuals. It also contains all the CHARM manuals.

LEMON is the spiritual successor to CHARM, I recommend you try it!

Link: lemon-manuals.la or lemon-manuals.org.ua

(Some people have issue connecting. LEMON is investigating. For now, use Firefox or change your DNS server)

Or, hide this message: temporarily or permanently

Cylinder Block Assembly: Service and Repair

Cylinder Block

REMOVAL

NOTE:
Before conducting this procedure, drain the engine oil completely.

1) Remove the engine from vehicle.
2) Remove the crank pulley.
3) Remove the chain cover.
4) Remove the timing chain assembly.
5) Remove the cam sprocket.
6) Remove the crank sprocket.
7) Remove the camshaft.
8) Remove the cylinder head.
9) Remove the drive plate.
10) Remove the crankshaft position sensor.





11) Remove the crankshaft position sensor plate.





12) Rotate the engine to set oil pan upper.
13) Remove the bolts which secure oil pan lower to oil pan upper.





14) Insert an oil pan cutter blade into the gap between oil pan upper and oil pan lower, and remove the oil pan lower.

CAUTION:
Do not use a screwdriver or similar tools in place of oil pan cutter.

15) Remove the oil cooler connector and remove the oil cooler.





16) Remove the oil pump.
17) Remove the thermostat cover, and then remove the thermostat.





18) Remove the oil pan upper.





19) Face the front of the engine up, standing the engine on one end.





20) Remove ten O-rings from the underside of the cylinder block.





21) Mark the direction of front and the number of connecting rod caps.
22) Remove the #1 and #4 connecting rod caps and pistons from the cylinder block.

NOTE:
^ Use 3/8 inch (9.5 sq.) for the extension and TORX(R) socket (E12).
^ After removing the two connecting rod connection bolts, turning the crankshaft (ST) counterclockwise will remove the connecting rod cap.
^ Mark each connecting rod cap and piston with connecting rod cap number and piston number.
^ The removal of all connecting rod caps and pistons are performed in three separate steps. First, remove the #1 and #4 connecting rod caps and pistons are simultaneously, then the #2 and #5 connecting rod caps and pistons simultaneously, and then the #3 and #6 connecting rod caps and pistons simultaneously.

(1) Using the ST, turn the crankshaft and set the #1 piston at the mid point between TDC and BDC.
ST 18252AA000 CRANKSHAFT SOCKET
(2) Remove the two #1 connecting rod cap connection bolts, and remove the connecting rod cap.





(3) Remove the two #4 connecting rod cap connection bolts, and remove the connecting rod cap.





(4) Using the ST, turn the crankshaft and separate the positions of the crank pin and the large end of the #1 connecting rod.
ST 18252AA000 CRANKSHAFT SOCKET





(5) Push the #1 connecting rod in the direction of the arrow, and remove the #1 piston and connecting rod from the cylinder block.





(6) Using the ST, turn the crankshaft and separate the positions of the crank pin and the large end of the #4 connecting rod.
ST 18252AA000 CRANKSHAFT SOCKET





(7) Push the #4 connecting rod in the direction of the arrow, and remove the #4 piston and connecting rod from the cylinder block.





23) Remove the #2 and #5 connecting rods and pistons from the cylinder block in the same manner.
ST 18252AA000 CRANKSHAFT SOCKET
24) Remove the #3 and #6 connecting rods and pistons from the cylinder block in the same manner.
ST 18252AA000 CRANKSHAFT SOCKET
25) Face the cylinder block (RH) up.





26) Remove the upper bolt.





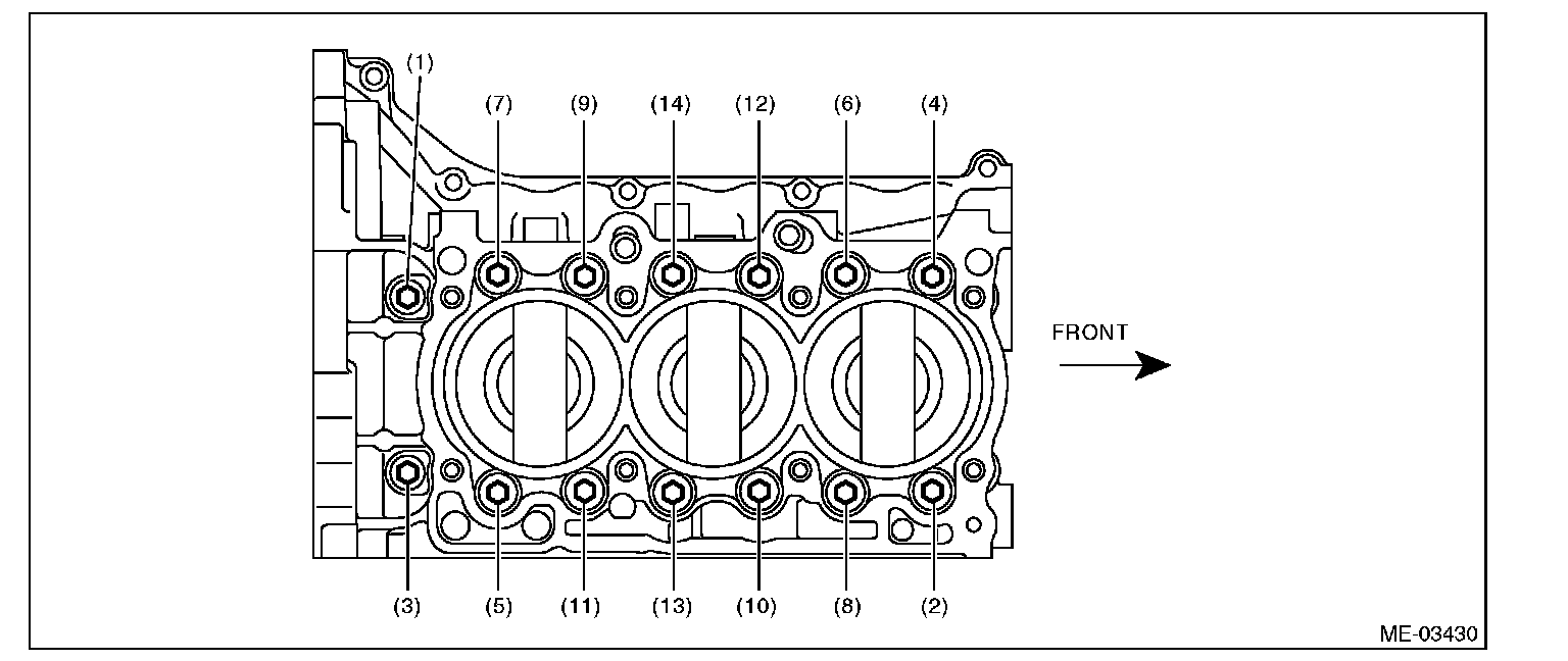
27) Loosen the cylinder block bolts in the order indicated in the figure, and separate cylinder block (RH) and (LH).

NOTE:
Confirm that the crankshaft is remaining in the cylinder block (LH).





If the cylinder block (RH) is lifted carelessly when separating, the crankshaft may stick to cylinder block (RH), then fall off.

28) Remove the rear oil seal.
29) Remove the crankshaft from cylinder block (LH).
30) Remove the crankshaft bearings from cylinder block using a hammer handle.

NOTE:
^ Do not confuse the combination of crankshaft bearings.
^ Press the bearing at the end opposite to locking lip.

INSTALLATION

1) After setting the cylinder block to ST, install the crankshaft bearing.
ST 18232AA000 ENGINE STAND

NOTE:
Apply a coat of engine oil to the bearing and crankshaft journal.

2) Mount the crankshaft in cylinder block (LH).
3) Apply liquid gasket to the mating surfaces of cylinder block (RH).

CAUTION:
Do not allow liquid gasket to run over into oil passages, bearing grooves, etc.

NOTE:
Install within 5 min. after applying liquid gasket.

Liquid gasket:
THREE BOND 1217G (Part No. K0877Y0100) or equivalent

Liquid gasket applying diameter:
1.0±0.2 mm (0.039±0.008 in)





4) Attach cylinder block (RH) to cylinder block (LH).
5) Apply a coat of engine oil to the washer and bolt thread.
6) Tighten all bolts in the numerical order as shown in the figure.

Tightening torque:
12 Nm (1.2 kgf-m, 8.9 ft-lb)





7) Retighten all bolts in the numerical order as shown in the figure.

Tightening torque:
18 Nm (1.8 kgf-m, 13.3 ft-lb)





8) Tighten all bolts by 90° in numerical order as shown in the figure.





9) Install the upper bolt to cylinder block.

Tightening torque:
25 Nm (2.5 kgf-m, 18.4 ft-lb)

NOTE:
Remove any liquid gasket squeezed out onto the seal surface between the chain cover and oil pan upper, after tightening the cylinder block connecting bolts.





10) Apply a coat of engine oil to the oil seal inner periphery and outer periphery, and install the rear oil seal using ST1 and ST2.

NOTE:
Use a new rear oil seal.

ST1 499597100 CRANKSHAFT OIL SEAL GUIDE
ST2 499587200 CRANKSHAFT OIL SEAL INSTALLER





11) Face the front of the engine up, standing the engine on one end.





12) Attach the piston ring and oil ring to the piston.
(1) Position the top ring gap at (A) in the figure.
(2) Position the second ring gap at (B).





(3) Position the upper rail gap at (C) in the figure.
(4) Position the expander gap at (D) in the figure.
(5) Position the lower rail gap at (E) in the figure.





CAUTION:
^ Make sure ring gaps do not face the same direction.
^ Make sure ring gaps are not within the piston skirt area.
^ Assemble so that the stamp mark N faces towards the top of the piston.


13) Install the #1 piston and connecting rod to the cylinder block.
(1) Apply engine oil to the outer circumference of the piston and in the cylinder block.
(2) Face the front mark of piston (A) towards the front of the engine, and set the piston to the ST.





(3) Using ST, press-fit the piston into cylinder block.

NOTE:
When inserting the piston into the cylinder block, perform according to the items listed below.
^ Insert while lightly tapping the top of the piston with the handle of a plastic hammer.
^ Insert while making sure that the large end of the connecting rod does not scratch the cylinder liner.
^ Insert while continually making sure that the large end of the connecting rod does not touch the crankshaft.

ST 398744300 PISTON GUIDE





(4) Using the ST, turn the crankshaft and match the positions of the crank pin and the large end of the connecting rod.
ST 18252AA000 CRANKSHAFT SOCKET
(5) Install the connecting rod cap.

Tightening torque:
60 Nm (6.1 kgf-m, 44.3 ft-lb)





14) In the same procedures as for the #1 piston, install the piston and connecting rods to the cylinder block, in the order of #2, #3, #4, #5 and #6.
15) Install the O-ring to the underside of the cylinder block.

NOTE:
Use new O-rings.





16) Apply liquid gasket to the mating surface of oil pan upper.

NOTE:
Install within 5 min. after applying liquid gasket.

Liquid gasket:
THREE BOND 1217G (Part No. K0877Y0100) or equivalent

Liquid gasket applying diameter:
5.0±1.0 mm (0.20±0.04 in)





17) Temporarily tighten the oil pan upper.
18) Tighten the oil pan upper installing bolts in the numerical order as shown in the figure.

Tightening torque:
18 Nm (1.8 kgf-m, 13.3 ft-lb)





19) Install the thermostat and thermostat cover.

Tightening torque:
6.4 Nm (0.7 kgf-m, 4.7 ft-lb)





20) Install the oil pump.
21) Tighten the oil cooler connector to install the oil cooler to the oil pan upper.

Tightening torque:
54 Nm (5.5 kgf-m, 39.8 ft-lb)

NOTE:
Use new O-rings.





22) Apply liquid gasket to the matching surface of oil pan lower.

NOTE:
Install within 5 min. after applying liquid gasket.

Liquid gasket:
THREE BOND 1217G (Part No. K0877Y0100) or equivalent

Liquid gasket applying diameter:
5.0±1.0 mm (0.20±0.04 in)





23) Tighten the oil pan lower installing bolts in the numerical order as shown in the figure.

Tightening torque:
6.4 Nm (0.7 kgf-m, 4.7 ft-lb)





24) Install the crankshaft position sensor plate.





25) Install the crankshaft position sensor.

Tightening torque:
6.4 Nm (0.7 kgf-m, 4.7 ft-lb)





26) Install the drive plate.
27) Install the cylinder head.
28) Install the camshaft.
29) Install the crank sprocket.
30) Install the cam sprocket.
31) Install the timing chain assembly.
32) Install the chain cover.
33) Install the crank pulley.
34) Install the engine to the vehicle.

DISASSEMBLY





NOTE:
To prevent confusion of various parts, mark each part.

1) Remove the connecting rod bearing.
2) Remove the piston rings using piston ring expander.
3) Remove the oil ring by hand.

NOTE:
Arrange the removed piston rings in proper order, to prevent confusion.

4) Remove the circlip on one end from the piston using a flat tip screwdriver.

NOTE:
Be careful not damage the piston, by wrapping the tip of flat tip screwdriver with tape.

5) Remove the piston pin from the piston.
6) Separate the piston and connecting rod.

NOTE:
Mark the direction of front side to each connecting rod.

7) Remove the circlip on other end from the piston using a flat tip screwdriver.

NOTE:
Be careful not damage the piston, by wrapping the tip of flat tip screwdriver with tape.

8) Remove the plug and orifice from the cylinder block as necessary.

ASSEMBLY





1) Apply engine oil to the surface of the connecting rod bearing. Attach the connecting rod bearing to the connecting rod.
2) Install the circlip on one end of the piston using a flat tip screwdriver.

NOTE:
^ Be careful not damage the piston, by wrapping the tip of flat tip screwdriver with tape.
^ Make sure the circlip is firmly inserted into the circlip groove.
^ After installing the circlip, rotate the circlip so that its end part (a) and the cutout portion of circlip groove (b) do not match.





3) Set the piston to the connecting rod.

NOTE:
Align the front mark of piston and the connecting rod direction correctly as shown in the figure.





4) Apply engine oil to the piston pin, and attach the piston pin.
5) Install the circlip on the piston using a flat tip screwdriver.

NOTE:
^ Be careful not damage the piston and piston pin, by wrapping the tip of flat tip screwdriver with tape.
^ Make sure the circlip is firmly inserted into the circlip groove.
^ After installing the circlip, rotate the circlip so that its end part (a) and the cutout portion of circlip groove (b) do not match.





6) Install the oil ring upper rail, expander and lower rail by hand.
7) Install the second ring and top ring using piston ring expander.
8) Install the plug and orifice to the cylinder block as necessary.

INSPECTION

CYLINDER BLOCK

1) Visually check for cracks or damage. Use liquid penetrant tester on the important sections for checking. Check that there are no marks of gas leaking or water leaking on gasket installing surface.
2) Check the oil passages for clogging.
3) Inspect the cylinder block surface that mates with cylinder head for warping by using a straight edge If the warpage exceeds limit, replace the cylinder block.

Warping limit:
0.020 mm (0.0008 in)

Standard height of cylinder block:
202 mm (7.95 in)