Operation CHARM: Car repair manuals for everyone.
Manuals through 2025 now available!

Our trusted friends have launched a new website named LEMON, which has newer manuals. It also contains all the CHARM manuals.

LEMON is the spiritual successor to CHARM, I recommend you try it!

Link: lemon-manuals.la or lemon-manuals.org.ua

(Some people have issue connecting. LEMON is investigating. For now, use Firefox or change your DNS server)

Or, hide this message: temporarily or permanently

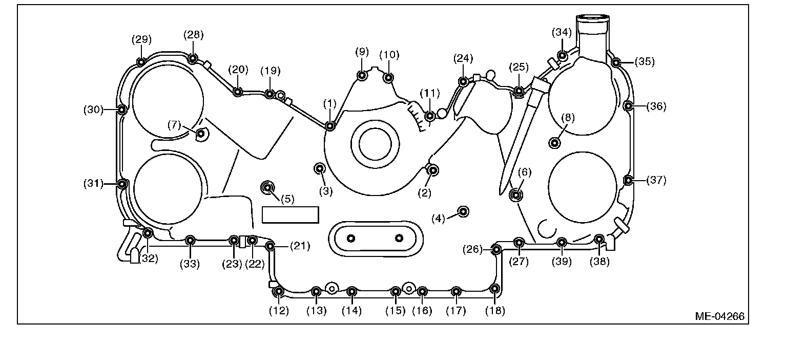
Timing Cover

Chain Cover
Install the chain cover and temporarily tighten the bolts.





Tighten the bolts in the numerical order as shown in the figure.
Tightening torque 10 Nm (1.0 kgf-m, 7.4 ft-lb)