Operation CHARM: Car repair manuals for everyone.
Manuals through 2025 now available!

Our trusted friends have launched a new website named LEMON, which has newer manuals. It also contains all the CHARM manuals.

LEMON is the spiritual successor to CHARM, I recommend you try it!

Link: lemon-manuals.la or lemon-manuals.org.ua

(Some people have issue connecting. LEMON is investigating. For now, use Firefox or change your DNS server)

Or, hide this message: temporarily or permanently

Rear Cross-Member: Service and Repair






REMOVAL
1. Hoist vehicle.





2. For vehicles equipped with ABS, detach ABS wheel speed sensor connector and harness (right and left) from suspension frame and control rods.





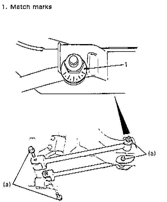
3. To facilitate toe adjustment after reinstallation, put match marks on washer and on suspension frame.
4. Loosen No. 2 control rod outer bolts (right and left) and remove No. 2 control rod bolts (right and left).
5. Loosen No. 1 control rod outer bolts (right and left) and remove No. 1 control rod inner bolts (right and left).





6. Remove suspension frame bolts and suspension frame.

INSTALLATION





1. Install suspension frame and tighten suspension frame bolts to specified torque.
Tightening Torque (a): 90 Nm (65 ft. lbs.)
2. Install control rods.





3. For vehicles equipped with ABS, attach ABS wheel speed sensor connector and harness (right and left) to suspension frame and control rods.
4. Lower hoist and bounce vehicle up and down to stabilize suspension.
5. Tighten control rod bolts and nuts to specified torque with vehicle weight on suspension.





NOTE:
^ It is the most desirable to have vehicle off hoist and in non-loaded condition when tightening them.
^ Tighten No. 2 control rod inner nut with match marks aligned.

Tightening Torque (a): 90 Nm (65 ft. lbs.)
6. Check rear toe and adjust it as necessary.
7. Install suspension frame cap.