Operation CHARM: Car repair manuals for everyone.
Manuals through 2025 now available!

Our trusted friends have launched a new website named LEMON, which has newer manuals. It also contains all the CHARM manuals.

LEMON is the spiritual successor to CHARM, I recommend you try it!

Link: lemon-manuals.la or lemon-manuals.org.ua

(Some people have issue connecting. LEMON is investigating. For now, use Firefox or change your DNS server)

Or, hide this message: temporarily or permanently

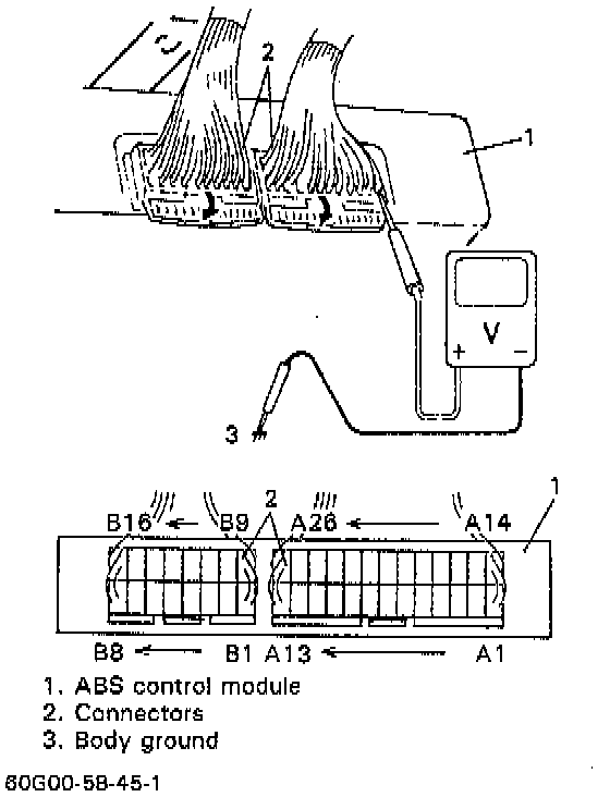
Scan Tool Testing and Procedures





Voltage between each terminal of module connector and body ground is as follows.

CAUTION: Never connect voltmeter or ohmmeter to ABS control module with connector disconnected from it. Attempt to do it may cause damage to ABS control module.





NOTE: As each terminal voltage is affected by the battery voltage, confirm that it is 11V or more when ignition switch is ON.