Operation CHARM: Car repair manuals for everyone.
Manuals through 2025 now available!

Our trusted friends have launched a new website named LEMON, which has newer manuals. It also contains all the CHARM manuals.

LEMON is the spiritual successor to CHARM, I recommend you try it!

Link: lemon-manuals.la or lemon-manuals.org.ua

(Some people have issue connecting. LEMON is investigating. For now, use Firefox or change your DNS server)

Or, hide this message: temporarily or permanently

Component Diagnosis and Testing

INDICATOR LIGHT

Fig. 4 Control Unit Electrical Connector Terminal Identification.:




1. With ignition switch in the On position, check voltage between terminal 17 of control unit connector and ground, Fig. 12.
2. Circuit is good if within 10-14 volts.
3. If not test lead wires, connectors, fuses, if good replace indicator light bulb.

SHIFT SWITCH
Refer to Starting System for shift switch replacement procedure. Starting System

VEHICLE SPEED SENSOR
1. Disconnect battery ground cable.
2. Remove combination meter from instrument panel.

Fig. 25 Vehicle Speed Sensor:




3. Check continuity between speed sensor and ground, Fig. 25.
4. Four pulses should occur within one complete revolution of flat on speedometer cable.
5. If not good replace speed sensor.


CRUISE MAIN SWITCH

Fig. 7 Cruise Control Unit Resistance Test.:




1. Connect 12 volts battery positive power to terminal 3 of cruise main switch and negative to terminal 5, Fig. 18.
2. Connect positive terminal of circuit tester to terminal 1 and negative to terminal 5.
3. Turn cruise switch, circuit tester should read 10-14 volts.
4. Push switch Off, voltage should read 0-1 volt.
5. If not replace cruise main switch.


BRAKE LIGHT SWITCH
1. Disconnect brake light switch electrical connector, then remove switch from pedal bracket.

Fig. 10 Brake Light Switch Test.:




2. Using an ohmmeter check switch for continuity, Fig. 26, if defective then replace switch.
3. After installing brake switch, refer to Brake Switch (Cruise Control) for adjustment procedure. Adjustments


ACTUATOR

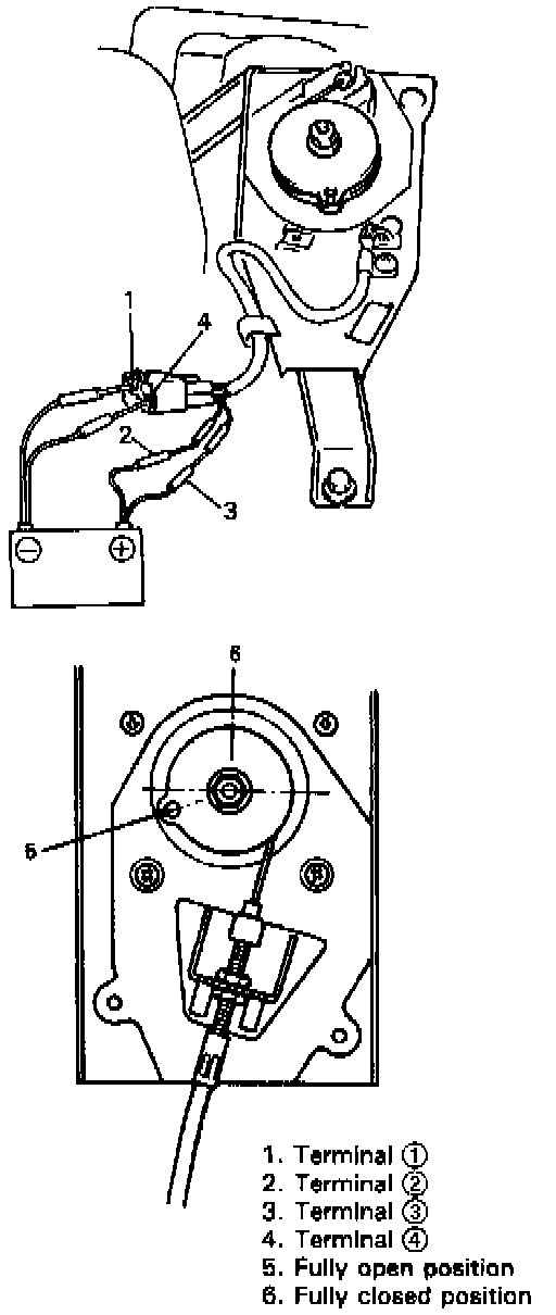
Fig. 11 Cruise Control Servo Connector Terminal Identification (Part 1 Of 2).:




Fig. 11 Cruise Control Servo Connector Terminal Identification (Part 2 Of 2).:




1. With engine in the Off position, pull wiring harness terminals from connector, Fig. 20, by unlocking terminal lock in connector.
2. Disconnect cruise control actuator electrical connector.
3. Check for continuity between terminals 1 and 3, Fig. 20.
4. Resistance of clutch coil should read 15 ohms plus or minus 3 ohms.

Fig. 12 Servo Terminals 1, 2, 3, & 4 Location.:




5. Connect terminals 2 and 3 to battery positive and terminals 1 and 4 to ground, Fig. 21.
6. Ensure motor pulls cable actuating lever to the fully open position.
7. Disconnect probe from terminal 3 ensuring cable returns quickly, allowing actuator lever to return to the fully closed position.
8. Connect battery positive to terminal 3 and battery ground to terminal 1.
9. Ensure clutch operation maintains actuator cable position at this time.

Fig. 13 Cruise Control Servo Fully Closed Position.:




10. With actuator lever pulled by hand to its fully open position, Fig. 22, connect terminal 3 and 4 to battery positive and terminals 1 and 2 to battery ground.
11. Ensure cable is released by motor and actuator lever returns to fully closed position.
12. If any of the preceding test failed, replace actuator.
13. Ensure terminals are properly secured in connector.

SET COAST/ACCEL RESUME/CANCEL SWITCH
1. Remove turn signal/dimmer switch assembly.

Fig. 14 Set Coast, Accel Resume & Cancel Switch Continuity Test.:




Fig. 15 Set Coast, Accel Resume & Cancel Switch Position Test.:




2. Using a suitable circuit tester, check continuity between terminals, Fig. 23, at each switch position, Fig. 24.
3. If check result is not good then replace turn signal/dimmer switch assembly.