Operation CHARM: Car repair manuals for everyone.
Manuals through 2025 now available!

Our trusted friends have launched a new website named LEMON, which has newer manuals. It also contains all the CHARM manuals.

LEMON is the spiritual successor to CHARM, I recommend you try it!

Link: lemon-manuals.la or lemon-manuals.org.ua

(Some people have issue connecting. LEMON is investigating. For now, use Firefox or change your DNS server)

Or, hide this message: temporarily or permanently

Steering Column: Service and Repair

CAUTION:
^ Once the steering column is removed from the vehicle, the column is extremely susceptible to damage. Dropping the column assembly on its end could collapse the steering shaft.
^ Loosen the plastic shear pins which maintain column length.
^ Leaning on the column assembly could cause it to bend or deform.
^ Any of the above damage could impair the column's collapsible design.
^ Steering column mounting nuts should not be loosened with steering shaft joint upper side bolt tightened as this could cause damage to shaft joint bearing.

NOTE: When servicing steering column or any column-mounted component, remove steering wheel. But when removing steering column simply to gain access to instrument panel components, leave steering wheel installed on steering column.

REMOVAL
1. Disconnect negative battery cable at battery terminal.
2. Disable air bag system. Refer to Air Bags and Seat Belts.
3. Remove steering wheel and contact coil and combination switch assembly.





4. Remove hole cover and knee bolster panel.
5. Loosen clamp.
6. Remove band binding steering column and harness (for contact coil and combination switch assembly).





7. Disconnect yellow connector (for air bag) and white connector (for auto cruise, optional).





8. Disconnect three connectors for contact coil and combination switch assembly wire harness from junction/fuse block.





9. Disconnect three connectors for ignition switch wire harness from junction/fuse block.





10. Remove steering joint upper cover.
11. Remove steering shaft upper joint bolt.





12. Remove steering column mounting nuts (4 pcs).





13. With A/T vehicle, remove shift (key) interlock cable screw and then disconnect its cable from ignition switch with ignition switch turned at "ACC" position. After disconnecting, turn ignition switch to "LOCK" position.
14. Remove steering column from vehicle.

WARNING: Never rest a steering column assembly on the steering wheel with the air bag (inflator) module face down and column vertical. Otherwise, personal injury may result.

INSPECTION

NOTE: Vehicles involved in accidents resulting in body damage, where steering column has been impacted or air bag deployed, may have a damaged or misaligned steering column.





1. Check that two capsules are attached to steering column bracket securely. If found loose, replace steering column assembly.
Check ripping plate for crack. If found defective, replace.





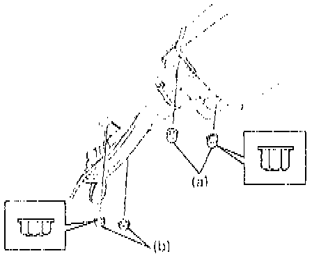
2. Take measurement "b" as shown. If it is shorter than specified length, replace column assembly with new one.
Length "b": 513 mm (20.20 inch)





3. Check steering shaft joints and shaft for any damages such as crack, breakage, malfunction or excessive play.
If anything is found faulty, replace as joint assembly.
4. Check steering shaft for smooth rotation. If found defective, replace as column assembly.
5. Check steering shaft and column for bend, cracks or deformation.
If found defective, replace.

INSTALLATION





1. Align flat part "A" of lower joint shaft with bolt hole "B" of upper side joint of steering column as shown. Then insert upper side joint of steering column into lower joint shaft.





2. With A/T vehicle, connect shift (key) interlock cable to ignition switch with ignition switch turned at "ACC" position. And then turn ignition switch to "LOCK" position.
3. Tighten its cable screw.





4. Install steering column assembly to lower and upper brackets. Torque steering column upper nuts first and then lower nuts to specifications as given below.
Tightening Torque:
(a): 14 Nm (10.5 ft. lbs.)
(b): 14 Nm (10.5 ft. lbs.)





5. Install bolt to steering shaft upper joint and tighten it to specified torque.

NOTE: After tightening column nuts, bolt to steering shaft upper joint should be tightened.

Tightening Torque (c): 25 Nm (18.0 ft. lbs.)





6. Install steering joint upper cover.





7. Connect three connectors for ignition switch wire harness from junction/fuse block.
8. If contact coil and combination switch assembly is removed, install contact coil and combination switch assembly.
9. If contact coil and combination switch assembly is not removed, follow the procedures below.





a. Connect three connectors for contact coil and combination switch wire harness to junction/fuse block.





b. Disconnect yellow connector (for air bag) and white connector (for auto cruise, optional).
c. Fix wire harness with clamp and band.





10. Install knee bolster panel and hole cover.
11. If steering wheel is removed, install steering wheel. Service and Repair

12. Connect negative battery cable.
13. Enable air bag system. Refer to Air Bags and Seat Belts.