Operation CHARM: Car repair manuals for everyone.
Manuals through 2025 now available!

Our trusted friends have launched a new website named LEMON, which has newer manuals. It also contains all the CHARM manuals.

LEMON is the spiritual successor to CHARM, I recommend you try it!

Link: lemon-manuals.la or lemon-manuals.org.ua

(Some people have issue connecting. LEMON is investigating. For now, use Firefox or change your DNS server)

Or, hide this message: temporarily or permanently

Case: Service and Repair





REMOVAL
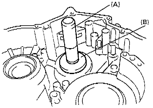
1. Remove cylindrical roller bearing, using Special Tools (A): 09942-15510, (B): 09941-54911 (remover), and (C): 09921-26010 (collet), or equivalent.

NOTE: Never reuse removed bearing.





INSTALLATION
1. Apply A/T fluid to outer surface of cylindrical roller bearing.
2. Tap cylindrical roller bearing, using Special Tools (A): 09924-74510 and (B): 09944-88210, or equivalent.