Operation CHARM: Car repair manuals for everyone.
Manuals through 2025 now available!

Our trusted friends have launched a new website named LEMON, which has newer manuals. It also contains all the CHARM manuals.

LEMON is the spiritual successor to CHARM, I recommend you try it!

Link: lemon-manuals.la or lemon-manuals.org.ua

(Some people have issue connecting. LEMON is investigating. For now, use Firefox or change your DNS server)

Or, hide this message: temporarily or permanently

Assembly

1. Apply lithium grease to new oil seal lip section.
2. Install new oil seal to transmission case.





3. Insert manual valve lever shaft to transmission case.
4. Install new spacer and manual valve lever to manual valve lever shaft.
5. install new slotted spring pin.





6. Rotate new spacer approximately 180 degrees.
7. Stake small hole of new spacer.





8. Press outer race, using Special Tools (A): 09924-74510 and (B): 09926-68310, or equivalent.





9. Install snap ring to tapered roller bearing.
10. Measure starting torque.





a. Install tapered roller bearing to counter drive gear by using Special Tool (A): 09925-16010, or equivalent and hydraulic press.
b. Install new counter bearing spacer to counter drive gear.
c. Apply A/T fluid to tapered roller bearing.





d. Install counter drive gear to transmission case.
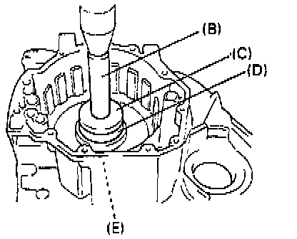
e. Press tapered roller bearing by using Special Tools (B): 09924-74510, (C): 09944-88210, (D): 09951-46010, and (E): 09927-76040, or equivalent and hydraulic press.
f. Stop press and rotate transmission case several times so as to stabilize tapered roller bearing.





g. Clamp special tool (E) in a vice.
h. Tighten new lock nut by using Special Tool (E): 09927-26010, or equivalent.

Tightening Torque (a): 500 Nm (362 ft. lbs.)

NOTE: To tighten lock nut more easily, it is recommended to use power torque wrench.





i. Hook push-pull gauge or the like in bolt hole section of transmission case.
j. Measure rotational torque of transmission case using Special Tool (E): 09927-76040, or equivalent.
Specified value (b): 0.078 - 0.21 Nm (0.684 - 1.8 inch lbs.)





k. Remove special tool (E) from vice. Measure starting torque of counter drive gear, using Special Tool (F): 09927-26010, or equivalent.
Specified value (c): 0.049 - 0.39 Nm (0.432 - 3.36 inch lbs.)





l. Stake new lock nut, using standard punch in combination with hammer.

NOTE: When staking lock nut, point a suitable staking tool toward axis center shaft and stake lock nut securely as shown in figure. (Poor staking may cause abnormal noise.)





11. Coat new O-rings with A/T fluid.
12. Place 1st and reverse brake piston with O-rings installed.

NOTE: Be careful not to damage O-rings during piston installation.





13. Mount brake piston return spring.
14. Install retainer ring by compressing brake piston return spring with flat drivers or the like.





15. Install brake flanges "F" disc/clutch and flanges "D" and brake plates in the following order.
F -> D -> P -> D -> P -> D -> P -> D -> F
16. Install snap ring.

NOTE: Make sure that opening end of snap ring should be aligned with protrusion of transmission case.





17. Install Special Tools (A): 09900-20606 and (B): 09900-20701, or equivalent on transmission.

Measure 1st and reverse brake piston stroke by applying and releasing compressed air (57 - 113 psi) through oil hole section (A).

Specified value: 1.40 - 2.20 mm (0.055 - 0.087 inch)

18. Place compression spring for 2nd and 4th brake into transmission case.
19. Apply A/T fluid to new O-rings.





20. Put 2nd and 4th brake piston spring in transmission case and insert piston and piston cover into case.
21. Apply valve lifter as shown in figure and push piston cover using Special Tools (A): 09916-14510 and (B): 09916-48210, or equivalent.

22. Install snap ring by using snap ring plier (Special Tool (C): 09900-06108, or equivalent).

23. Remove special tools.





24. Temporarily install piston rod with lock plate, new lock washer and lock nut to transmission case.





NOTE: It is best for the head section of piston rod to protrude from the inner side of transmission case approximately 2 - 3 mm (0.079 - 0.118 inch)





25. Apply A/T fluid to outer surface of three rollers.





26. Insert three rollers to transmission case.





27. Apply A/T fluid to transmission lubrication tube.
28. Install transmission lubrication tube.
29. Tighten clamp with bolt.
Tightening Torque (a): 5.5 Nm (48 inch lbs.)





30. Install 2nd and 4th brake band.
31. Install 1st and reverse clutch assembly.





32. Temporarily tighten bolts of oil pump body.





33. Temporarily tighten transmission housing to transmission case with 5 - 6 bolts.
34. Stand transmission up (ie: transmission housing facing downward).





35. Install front and rear planetary carrier while rotating counterclockwise and clockwise.
36. Install sun gear with needle roller bearing.
Bearing race dimension
Outside diameter: Approximately 32.2 mm (1.27 inch)
Inside diameter: Approximately 18.9 mm (0.74 inch)
Thickness: Approximately 2.6 mm (0.10 inch)
37. Coat race with grease.
Grease: (SUZUKI SUPER GREASE C, or equivalent)
38. Install race to planetary carrier.





39. Install overdrive/coast clutch while rotating counter clockwise and clockwise.

NOTE: Check to make sure that overdrive/coast clutch locks when turned counterclockwise (A) and moves freely when turned clockwise (B).

40. Install forward clutch while rotating.





41. Check for correct installation of each component parts as follows.
Measure the distance "a" by using vernier and straightedge. If out of specification, remove forward clutch, overdrive/coast clutch, front and rear planetary carrier and reinstall them properly.
Distance "a": 46.94 - 47.81 mm (1.848 - 1.882 inch)





42. Apply sealant to contacting surface of transmission case.
"A": Sealant (SUZUKI BOND NO.1216, or equivalent)
43. Install five gaskets.

NOTE: There is no installation direction for new gaskets.





44. Tighten transmission rear cover and engine mounting LH bracket with ten (two new bolts (A)) bolts.
Tightening Torque (a): 25 Nm (18.0 ft. lbs.)
45. Turn over transmission.
46. Remove transmission housing.
47. Remove oil pump body, 1st and reverse clutch and 2nd and 4th brake band from transmission case.





48. Apply A/T fluid to race with integrated needle roller bearing.
Race dimension
Outside diameter: Approximately 65.8 mm (2.59 inch)
Inside diameter: Approximately 51.0 mm (2.01 inch)
Thickness: Approximately 2.7 mm (0.11 inch)





49. Install counter driven gear.
50. Install parking lock rod with parking lock pawl, parking lock pawl bracket and torsion spring.
51. With spacer and torsion spring placed, install bolt and tighten parking lock pawl bracket.
Tightening Torque (a): 10 Nm (90 inch lbs.)
52. Insert parking lock rod to parking lock pawl bracket and connect parking lock rod with manual valve lever.





53. Install 2nd and 4th brake band.
54. Install 1st and reverse clutch white rotating counterclockwise and clockwise.





55. Check for correct installation of input shaft as follows. Measure the distance "a" by using vernier and straightedge. If out of specification, remove input shaft with 1st and reverse clutch and reinstall them properly.

Distance "a": 85.65 - 86.39 mm (3.372 - 3.401 inch)





56. Tighten manual detent spring with bolts.
Tightening Torque (a): 10 Nm (90 inch lbs.)

NOTE: It is recommended to set to neutral position between spring detent and lever manual valve and then tighten bolts (A).





57. Install oil strainer.
58. Tighten oil reservoir plate with bolt.
Tightening Torque (a): 5.5 Nm (48 inch lbs.)
59. Adjust 2nd and 4th brake piston rod.





a. Fully tighten piston rod by hand.
b. Loosen piston rod counterclockwise for 3 to 3.3 turns.
c. Tighten lock nut.
Tightening Torque (a): 20 Nm (14.5 ft. lbs.)
d. Stake new lock washer along with lock nut.





e. Coat new O-ring with A/T fluid.
f. Mount new O-ring onto brake cover.
g. Install brake cover to transmission case with snap ring, using snap ring plier (Special Tool (A): 09900-06108 (Snap ring plier), or equivalent).





60. Install two new three gaskets.
61. Install differential gear assembly.
62. Tighten oil pump body with six bolts.
Tightening Torque (a): 25 Nm (18.0 ft. lbs.)
63. Wipe off and clean contacting surface between case and housing.
64. Apply sealant to transmission case as shown.
"A": Sealant (SUZUKI BOND NO.1216, or equivalent)





65. Tighten transmission housing to transmission case with bolts.
Tightening Torque (a): 30 Nm (22.0 ft. lbs.)

NOTE: Check to make sure that new bolts are used for bolts indicated as in image.





66. Insert wiring harness of solenoid connectors.
67. Coat two new gaskets with A/T fluid and place them as shown in image.





68. While holding valve body assembly, connect manual valve to parking lock rod.
69. Tighten valve body assembly with bolts.
Tightening Torque (a): 10 Nm (90 inch lbs.)





70. Clamp wiring harness of solenoid.
71. Connect couplers of solenoid.

NOTE:
^ Check to make sure that couplers are connected properly. (No.1 shift solenoid-white, No.2 shift solenoid-blue and lock-up control solenoid-yellow).
^ There is an interchangeability between No.1 and No.2 shift solenoids for installation.





72. Wipe off and clean contacting surface between case and side cover.
73. Apply sealant to transmission case as shown.
"A": Sealant (SUZUKI BOND NO.1216, or equivalent)





74. Tighten transmission side cover with bolts.
Tightening Torque (a): 25 Nm (18.0 ft. lbs.)

NOTE: Check to make sure that new bolts are used for bolts indicated as (A) in image.





75. Coat new O-rings with A/T fluid.
76. Tighten following parts (with new O-rings installed) with bolts.
- Solenoid coupler
- Vehicle speed sensor
- Forward clutch cylinder revolution sensor
- Oil filler tube
Tightening Torque (a): 5.5 Nm (48 inch lbs.)





77. Coat new O-ring with A/T fluid.
78. Tighten speedometer driven gear (vehicle speed sensor for speedometer) (with new O-ring installed) with bolt.
Tightening Torque (a): 5.5 Nm (48 inch lbs.)





79. Install transmission range switch assembly.
a. Place new rubber plate and new lock washer or shift switch. Tighten lock nut.
Tightening Torque (a): 7.0 Nm (60 inch lbs.)
b. Adjust transmission range switch.
c. tighten transmission range switch bolts.
Tightening Torque (b): 20 Nm (14.5 ft. lbs.)
d. Tighten manual shift lever with spring washer and nut.
Tightening Torque (b): 20 Nm (14.5 ft. lbs.)





80. Install oil cooler pipes.

Tightening Torque
(a): 35 Nm (25.5 ft. lbs.)
(b): 25 Nm (18.0 ft. lbs.)

81. Measure starting torque of differential gear assembly.





82. Install torque converter to input shaft.
a. Install torque converter, using care not to damage oil seal of oil pump.
b. After installing torque converter, check to make sure that distance "a" is within specification.
Distance "a": 23.60 - 25.46 mm (0.929 - 1.002 inch)
c. Check torque converter for smooth rotation.

CAUTION:
^ Before installing converter, make sure that its pump hub portion is free from nicks, burrs or damage which may cause oil seal to leak.
^ Be very careful not to drop converter on oil pump gear. Damage in gear, should it occur, may cause a critical trouble.