Operation CHARM: Car repair manuals for everyone.
Manuals through 2025 now available!

Our trusted friends have launched a new website named LEMON, which has newer manuals. It also contains all the CHARM manuals.

LEMON is the spiritual successor to CHARM, I recommend you try it!

Link: lemon-manuals.la or lemon-manuals.org.ua

(Some people have issue connecting. LEMON is investigating. For now, use Firefox or change your DNS server)

Or, hide this message: temporarily or permanently

Disassembly

CAUTION:
^ Thoroughly clean transmission exterior before over hauling it.
^ Keep working table, tools and hands clean while overhauling.
^ Use special care to handle aluminum parts so as not to damage them.
^ Do not expose removed parts to dust. Keep them clean always.





1. Extract torque converter.

CAUTION: Remove torque converter as much straight as possible. Leaning it may cause to damage oil seal lip.





2. Measure starting torque of differential gear assembly using Special Tool (A): 09928-06050, or equivalent.
Specified value (a): 0.78 - 1.37 Nm (6.84 - 12 inch lbs.)

NOTE: Record actual starting torque of differential assembly for installation reference.





3. Remove oil cooler pipes.

NOTE: Never reuse washers after removal.





4. Pull out transmission range switch assembly.
(1) Remove manual shift lever.
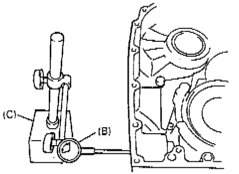
(2) Pry off lock washer.
(3) Remove lock nut.
(4) Remove lock washer and rubber plate.
(5) Remove two bolts.

NOTE: Never reuse lock washer after removal.





5. Remove oil level gauge, oil filler tube, vehicle speed sensor, forward clutch cylinder revolution sensor and vehicle speed sensor (for speedometer).





6. Remove transmission housing by removing 15 bolts as shown.

NOTE: Never reuse removed two bolts (A).

7. Pull out differential gear assembly.
8. Clean and wipe off gasket sealer on mating surface between transmission housing and transmission case.





9. Remove three gaskets at transmission case side.

NOTE: Never reuse removed gaskets.

10. Remove six bolts of oil pump body, then remove oil pump body by hand.

NOTE:
^ Use care not to cause damage to shaft bushing surface.
^ If oil pump body can't be removed by hand, remove it by using gear puller as shown in image.





11. Remove oil reserve plate by removing two bolts.
12. Remove oil strainer.





13. Remove manual detent spring by removing two bolts.





14. Remove transmission side cover by removing 11 bolts.

NOTE: Never reuse removed two bolts (A).





15. Release solenoid wiring harness from clamp.
16. Disconnect pressure control, No. 1 shift, No.2 shift and lock up control solenoid couplers.
17. Remove valve body assembly by removing eight bolts.

NOTE: Each bolt length is indicated in the image.

CAUTION: Be careful not to let manual valve fall off when removing valve body assembly.

18. Remove solenoid coupler mounting bolt and remove solenoid coupler and its harness.





19. Remove two gaskets.

NOTE: Never reuse removed gaskets.





20. Remove snap ring using Special Tool (A): 09900-06108, or equivalent.
21. Pull out brake cover by using plier or the like.





22. Inspect 2nd and 4th brake piston stroke.
(1) Set dial gauge and magnetic stand (Special Tools (B): 09900-20606 and (C): 09900-20701, or equivalent).





(2) Plug oil hole (A).
(3) Measure piston stroke while applying and releasing compressed air (57 - 113 psi) from oil hole (B).
Specified piston stroke: 3.0 - 3.4 mm (0.12 - 0.13 inch)

NOTE: If piston stroke exceeds above specification, adjust piston rod or inspect band assembly of 2nd and 4th brake for damage, wear or discoloration.

23. Pry off lock section of lock washer.





24. Loosen lock nut.
25. Remove piston rod with lock nut, lock washer and lot plate.

NOTE: Never reuse removed lock washer.

26. Remove lock plate from piston rod.





27. Pull out reverse clutch assembly.
28. Remove 2nd and 4th brake band assembly.
29. Remove straight pin.
Reference value of straight pin
Length: 45 mm (1.77 inch)
Outside diameter: 8 mm (0.31 inch)





30. Apply valve lifter as illustrated using Special Tools (A): 09916-14510 and (B): 09916-48210, or equivalent, and push in piston cover.
31. Remove snap ring by using snap ring plier (Special Tool (C): 09900-06108, or equivalent).
32. Remove tools and take out 2nd/4th brake piston cover, piston and compression spring.

NOTE: If 2nd/4th brake piston cover doesn't come out, apply compressed air through oil hole (A).





33. Loosen six bolts of transmission rear cover.
34. Lightly and uniformly tap two rib sections of transmission rear cover, using plastic hammer.
35. Remove ten bolts and engine mounting LH bracket.

NOTE: Never reuse two bolts after removal.

36. Pull out transmission rear cover with forward clutch subassembly installed.





37. Remove five gaskets.

NOTE: Never reuse removed gaskets.





38. Remove carrier for front/rear planetary ring gear and sun gear assembly with following integral bearing bearing installed.
Integral bearing with race dimension:
Outside diameter: 32.3 mm (1.27 inch)
Inside diameter: 19.0 mm (0.75 inch)
Race thickness: 2.7 mm (0.11 inch)
39. Pull out sun gear assembly.





40. Inspect 1st and reverse brake piston stroke.
(1) Set Special Tools (A): 09900-20606 and (B): 09900-20701, or equivalent (dial gauge and magnetic stand).
(2) Measure piston stroke while applying and releasing compressed air (57- 113 psi) from oil hole (A).
Specified value: 1.4 - 2.2 mm (0.055 - 0.087 inch)

NOTE: If piston stroke exceeds specification above, inspect or replace flanges and discs.





41. Remove snap ring using flat screwdriver.
42. Remove flange brakes "F", disc, clutch & flanges "D" and plate brakes "P" in the following order.
F->D->P->D->P->D->P->D->F





43. Remove retainer ring and brake piston return spring.
44. Remove 1st and reverse brake piston with O-ring installed while applying and releasing compressed air (57 - 113 psi) through oil hole section (A).

NOTE:
^ Never reuse removed O-rings.
^ If piston will not pop out, it is recommended to use needle nose pliers for removal.





45. Remove parking lock pawl, pawl bracket and spring by removing two bolts.
46. Pry off torsion spring of parking lock pawl.
47. Remove parking lock pawl by pulling out pawl shaft with torsion spring installed.
48. Pullout counter driven gear assembly towards you.





49. Remove integrated needle roller bearing with race.
Race dimension
Outside diameter: 65.7 mm (2.59 inch)
Inside diameter: 51.0 mm (2.01 inch)
Thickness : 2.8 mm (0.11 inch)
50. Remove transmission lubrication tube.





51. Measure starting torque of counter drive gear subassembly using torque wrench and Special Tool (A): 09927-26010, or equivalent.
Specified value (a): 0.49 - 3.9 Nm (4.32 - 46.80 inch lbs.)
52. Unstake lock sections of lock nut.

NOTE: Never reuse removed lock nut.





53. Clamp special tool in a vice and place transmission housing onto Special Tool (B): 09927-76040, or equivalent above.
54. Measure transmission housing rotational torque using push-pull gauge or the like.
Specified value: 1.27 - 10.3 N (0.28 - 2.3 lbs.)
55. Remove lock nut.
56. Remove special tool (B) from vice.





57. Press counter drive gear subassembly using Special Tool (C): 09925-86010, or equivalent.
58. Remove counter bearing spacer.

NOTE: Never reuse removed counter bearing spacer as it is a crushable-type.





59. Collapse outer race of tapered roller bearing of counter drive gear subassembly.
60. Remove inner race of tapered roller bearing using gear puller and Special Tools (C): 09925-86010 and (D): 09925-06010, or equivalent.





61. Remove snap ring.
62. Press outer race of transmission case using Special Tool (A): 09926-68310, or equivalent.





63. Collapse spacer using chisel and hammer or the like.
64. Remove slotted spring pin using pin punch or the like.

NOTE: Never reuse removed spacer and slotted spring pin.

65. Remove manual valve lever shaft subassembly, lever manual valve and oil seal.

NOTE: Never reuse removed oil seal.