Operation CHARM: Car repair manuals for everyone.
Manuals through 2025 now available!

Our trusted friends have launched a new website named LEMON, which has newer manuals. It also contains all the CHARM manuals.

LEMON is the spiritual successor to CHARM, I recommend you try it!

Link: lemon-manuals.la or lemon-manuals.org.ua

(Some people have issue connecting. LEMON is investigating. For now, use Firefox or change your DNS server)

Or, hide this message: temporarily or permanently

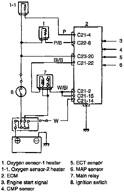
Heated Oxygen Sensor Heater Control System





This system controls operation (ON/OFF) of each heater which assists activation of each oxygen sensor. ECM turns the heater of oxygen sensor -1 ON (to allow the electric current to flow to the oxygen sensor heater) when the engine is running without high-load condition. For the heater of oxygen sensor-2, ECM turns it ON when the engine is running without high-load condition after engine running at specified speed for specified time or more.