Operation CHARM: Car repair manuals for everyone.
Manuals through 2025 now available!

Our trusted friends have launched a new website named LEMON, which has newer manuals. It also contains all the CHARM manuals.

LEMON is the spiritual successor to CHARM, I recommend you try it!

Link: lemon-manuals.la or lemon-manuals.org.ua

(Some people have issue connecting. LEMON is investigating. For now, use Firefox or change your DNS server)

Or, hide this message: temporarily or permanently

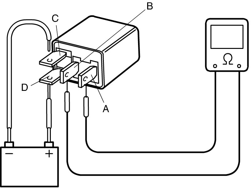
Main Relay (Computer/Fuel System): Testing and Inspection






Main Relay Inspection

1) Disconnect negative cable at battery.
2) Remove main relay (1) from relay box (2).





3) Check resistance between each two terminals as follows. If check results are as specified, proceed to next operation check. If not, replace.

Between terminals "A" and "B"
infinity (Infinity)

Between terminals "C" and "D"
70 - 110 ohms





4) Check that there is continuity between terminals "A" and "B" when battery is connected to terminals "C" and "D".

If found defective, replace.