Operation CHARM: Car repair manuals for everyone.
Manuals through 2025 now available!

Our trusted friends have launched a new website named LEMON, which has newer manuals. It also contains all the CHARM manuals.

LEMON is the spiritual successor to CHARM, I recommend you try it!

Link: lemon-manuals.la or lemon-manuals.org.ua

(Some people have issue connecting. LEMON is investigating. For now, use Firefox or change your DNS server)

Or, hide this message: temporarily or permanently

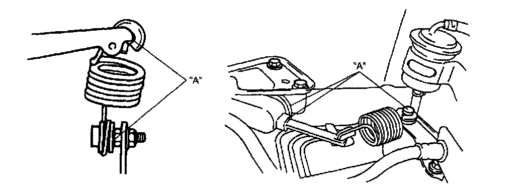
Load Compensator: Service and Repair

Removal
1. Clean around reservoir cap and take out fluid with syringe or such
2. Hoist vehicle





3. Disconnect brake pipes (2) from LSPV assembly (1)
4. Remove LSPV assembly (1) with spring (2) from vehicle body





5. Remove spring (2) from lever (5).

CAUTION: LSPV assembly must not be disassembled. Replace with new one if defective.

Installation

CAUTION: LSPV assembly must not be disassembled. Replace with new one if defective.

Install by reversing removal procedure, noting the following.





1. Apply multi-purpose grease "A" to upper and lower joint of coil spring.





2. Torque each bolt (2) and nut (1) to specification as indicated respectively in the figure.
Tightening torque
LSPV spring nut (a): 23 Nm (2.3 kgf-m, 17.0 ft. lbs.)
LSPV mounting bolt (a): 23 Nm (2.3 kgf-m, 17.0 ft. lbs.)
Brake pipe flare nut (b): 16 Nm (1.6 kgf-m, 11.5 ft. lbs.)
Air bleeding plug for LSPV (c): 7.5 Nm (0.75 kgf-m, 5.5 ft. lbs.)
3. Upon completion of installation, fill reservoir tank with specified fluid and bleed air from brake system.

NOTE: Make sure to bleed air from LSPV bleeder without failure.

4. After bleeding air, check that LSPV is installed properly.