Operation CHARM: Car repair manuals for everyone.
Manuals through 2025 now available!

Our trusted friends have launched a new website named LEMON, which has newer manuals. It also contains all the CHARM manuals.

LEMON is the spiritual successor to CHARM, I recommend you try it!

Link: lemon-manuals.la or lemon-manuals.org.ua

(Some people have issue connecting. LEMON is investigating. For now, use Firefox or change your DNS server)

Or, hide this message: temporarily or permanently

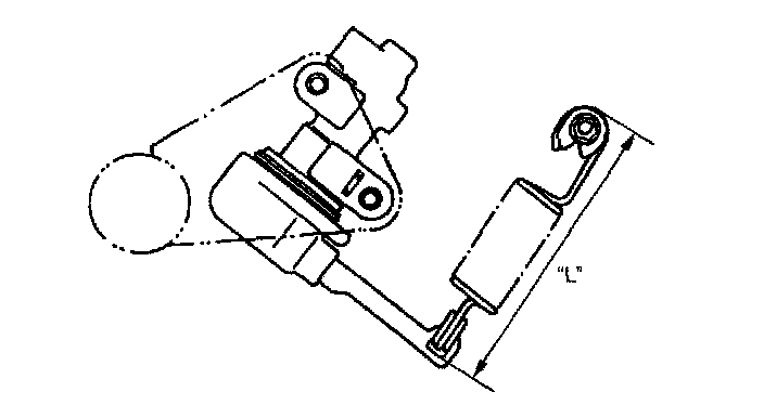
Load Compensator: Testing and Inspection

LSPV Assembly Inspection and Adjustment
Confirm the following before inspection and adjustment.
^ Fuel tank is filled with fuel fully.
^ Vehicle is equipped with spare tire, tools, jack and jack handle.
^ Vehicle is free from any other load.

With vehicle in conditions;
1. Place it on level floor.
2. Push up LSPV lever with finger till it stops and measure length of coil spring ("L" in the figure) as it is pulled.





3. Spring length "L" should be the value specified.
Spring length (between spring ends)
"L": 103 mm (4.06 inch)





4. If it isn't, adjust it to specification by changing stay (2) positions as shown in the figure. After adjustment, tighten bolt (1) to specified torque.
Tightening torque
LSPV stay bolt (a): 23 Nm (2.3 kgf-m, 17.0 ft. lbs.)

NOTE: Check to make sure that LSPV body and brake pipe joints are free from fluid leakage. Replace defective parts, if any.