Operation CHARM: Car repair manuals for everyone.
Manuals through 2025 now available!

Our trusted friends have launched a new website named LEMON, which has newer manuals. It also contains all the CHARM manuals.

LEMON is the spiritual successor to CHARM, I recommend you try it!

Link: lemon-manuals.la or lemon-manuals.org.ua

(Some people have issue connecting. LEMON is investigating. For now, use Firefox or change your DNS server)

Or, hide this message: temporarily or permanently

Compressor Clutch: Service and Repair

Magnet Clutch Removal and Installation

Removal
1. Remove compressor from vehicle. Refer to Compressor Assembly Removal and Installation for H25 Engine Model.




2. Fix armature plate (1) with special tool (A) and remove armature plate bolt and washer.

Special Tool
(A): 09920-53740

NOTE: Do not reuse armature plate bolt.




3. Using special tool (C), remove armature plate (1).

Special Tool
(C): 09991-06030

4. Remove shims from shaft.




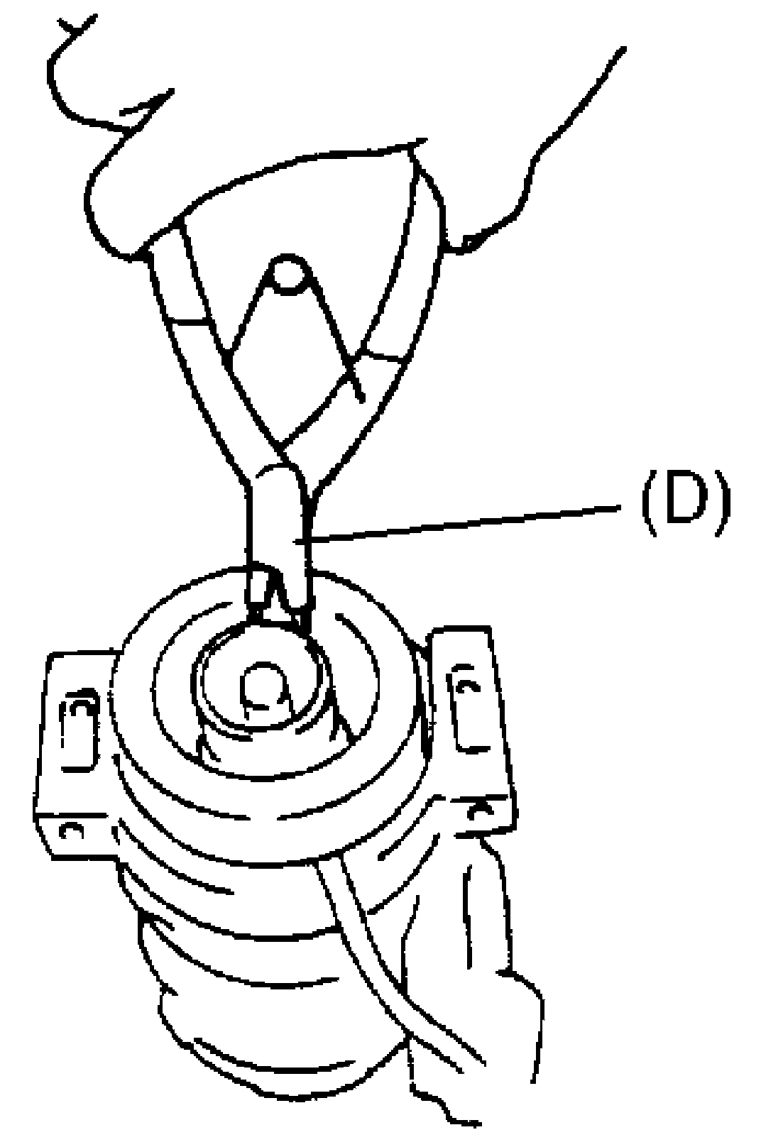
5. Using special tool (D), remove circlip.

Special Tool
(D): 09900-06107

6. Remove magnet clutch lead wire clamp screw, and remove magnet clutch read wire ground terminal.




7. Remove magnet clutch with puller (1).

NOTE: Be careful not to damage pulley when tapping magnet clutch.




8. Remove magnet clutch coil using special tool (D).

Special Tool
(D): 09900-06107

Installation
1. Install magnet clutch coil (2).

NOTE: Protrusion on underside of magnet clutch coil (2) must match hole in compressor assembly (3) to correctly locate lead wire.




2. Using special tool (D), install snap ring (1) as shown.

Special Tool
(D): 09900-06107

3. Install clamp portion and ground terminal of lead wire.




4. Install magnet clutch.
a. Set magnet clutch squarely over clutch installation boss.
b. Place special tool (E) onto clutch bearing.
Ensure that edge rests only on inner race of bearing.

Special Tool
(E): 09991-06010

c. Install snap ring.

CAUTION: Be careful not to scratch bearing seal.




5. Adjust clearance, between armature plate (1) and magnet clutch (2) by putting shim on compressor shaft.

Standard clearance between armature plate and magnet clutch
"a": 0.35 - 0.6 mm (0.014 - 0.023 in.)




6. Tighten new armature plate nut (1) as specified torque.

Tightening torque
Armature plate nut (a): 14 N.m (1.4 kg.m, 10.5 lb.ft)

Special Tool
(A): 09920-53740