Operation CHARM: Car repair manuals for everyone.
Manuals through 2025 now available!

Our trusted friends have launched a new website named LEMON, which has newer manuals. It also contains all the CHARM manuals.

LEMON is the spiritual successor to CHARM, I recommend you try it!

Link: lemon-manuals.la or lemon-manuals.org.ua

(Some people have issue connecting. LEMON is investigating. For now, use Firefox or change your DNS server)

Or, hide this message: temporarily or permanently

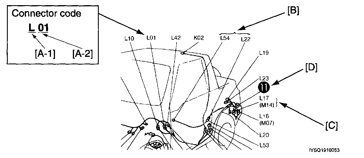
How to Read Connector Layout Diagrams




When necessary to know the location of an electrical part or intermediate connector, it is easily possible to retrieve it by this diagram.
First consult "System Circuit Diagram" or connector table for the connector code of interest.
Second refer to the diagrams of this section and look for the same code in "Connector Layout Diagram". More information on use of the code is illustrated.




[A-1]:
Harness symbol and corresponding harness name

[A-2]:
Connector Number (Serial number: 01)

[B]:
This indicates the intermediate connector.
Nos. are given to male and female connectors respectively. When the harness symbol (alphabet) is different, so is the harness name. (For the details, refer to [A-1] above.)
[C]:
This indicates the connector code.
The connector code in the parentheses () has the same meaning as the above intermediate connector and at the same time, it indicates that there is a harness continuity in "Connector Layout Diagram". That is, it suggests that the harness is continued to the other image or illustration and the continued harness can be identified by the same connector code.
[D]:
This indicates the ground point No. The same No. is used as the ground point. (For the details, refer to "Ground Point.)