Operation CHARM: Car repair manuals for everyone.
Manuals through 2025 now available!

Our trusted friends have launched a new website named LEMON, which has newer manuals. It also contains all the CHARM manuals.

LEMON is the spiritual successor to CHARM, I recommend you try it!

Link: lemon-manuals.la or lemon-manuals.org.ua

(Some people have issue connecting. LEMON is investigating. For now, use Firefox or change your DNS server)

Or, hide this message: temporarily or permanently

With ABS

Air Bleeding
The following "Automated Air Bleeding" procedure is required when the one of the following occur.
^ Traditional bleeding at the wheel cylinders does not achieve the desired pedal height or feel.
^ ABS actuator (EBCM and BPMV) assembly replacement.
^ Extreme fluid loss occurred.
^ Air ingestion is suspected.

Automated Air Bleeding
This procedure uses a SUZUKI SCAN TOOL to cycle the system valves and runs the pump motor in order to purge any air from the secondary circuits. These secondary circuits are normally closed off, and are only opened during system initialization at vehicle start up and during ABS operation. The automated bleed procedure opens these secondary circuits and allows any air trapped inside the BPMV to flow out toward the wheel cylinders where it can be purged out of the system.

Preliminary setup
1. Inspect battery for state of charge. If it is not in good condition, recharge battery and/or repair charging system as necessary.
2. Inspect visual damage and leaks, repair as necessary.





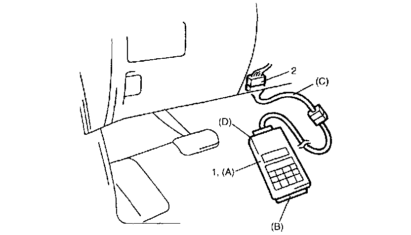
3. Connect SUZUKI SCAN TOOL (1) to DLC (2) and turn ignition switch to "ON" position. Repair any DTCs prior to starting automated bleeding.
Special tool
(A): 09931-76011 (SUZUKI scan tool)
(B): Mass Storage Cartridge
(C): 09931-76030 (16/14 pin DLC adapter)
(D): 09932-6530 (Interface cartridge)
4. Turn ignition switch to "LOCK" position.
5. Connect pressure bleeding tool as per manufacturer's instructions, if available.

NOTE: Pressure bleeding tool is used throughout bleeding procedure to apply pressure to brake lines. If not available, apply pressure by depressing brake pedal only in the steps applying pressure is necessary.

6. Raise and suitable support vehicle.
7. Remove all four wheels.





8. Remove bleeder plug cap (1).
Attach a vinyl tube (see-through tube) (2) to bleeder plug of wheel cylinder, and insert the other end into container (3)
9. Pressurize the bleeding tool (if available) to 2.4 kg/cm (35 Psi).

Bleeding

NOTE: The automated bleed procedure may be terminated by pressing the EXIT button on the SUZUKI SCAN TOOL.

1. Turn ignition switch to "ON" position.
2. Make sure that all bleeder plugs are closed. If use pressure bleeding tool, install it in this step and set its pressure at 2.4 kgf/cm2 (35 Psi).
3. Select "Auto Bleed" under "Misc. Tests" on scan tool and press "ENTER".
4. The first part of automated bleed procedure will cycle pump motor and front release valves for 1 minute (i). After the cycling has stopped, scan tool will enter "cool down" mode and display a 180 seconds timer (ii). Automated air bleed will not continue until this timer has expired, and cannot be overridden.
5. Open bleeder plug (screw) as scan tool instructs (iii). And press "ENTER".
6. Scan tool will then cycle the respective release valve and pump motor for 60 seconds (iv).
If pressure bleeding tool is not available, repeat depressing brake pedal during this step to keep applying pressure to brake line and bleed. Fill master cylinder reservoir with brake fluid and keep at least one-half full of fluid during this operation.
7. Close bleeder plug (screw) as scan tool instructs (v).
8. Repeat Steps 5 through 7 for right front brake, and then left front brake according to instruction of scan tool.
9. Bleed again from each bleeder plug (screw) independently for approximately 20 seconds in the same way as Steps 5, 6 and 7 according to instruction of scan tool ((vi), (vii) and (viii)). This step should allow any remaining air to be purged from brake lines.





10. When automated bleed procedure is completed, scan tool will display the appropriate message (ix). Remove pressure bleeding tool from reservoir tank (if installed).
11. After completing bleeding operation, apply fluid pressure to pipe line and check for leakage.





12. Replenish fluid into reservoir up to specified level.
13. Check brake pedal for "sponginess". If found spongy, repeat entire procedure of bleeding.