Operation CHARM: Car repair manuals for everyone.
Manuals through 2025 now available!

Our trusted friends have launched a new website named LEMON, which has newer manuals. It also contains all the CHARM manuals.

LEMON is the spiritual successor to CHARM, I recommend you try it!

Link: lemon-manuals.la or lemon-manuals.org.ua

(Some people have issue connecting. LEMON is investigating. For now, use Firefox or change your DNS server)

Or, hide this message: temporarily or permanently

Disassembly and Reassembly

Generator Disassembly

60 A / 70 A Types




1. For easier reinstallation, provide match marks (3) on both front housing (1) and rear housing (2) as shown in figure before separating them.




2. Remove housing bolts (1) from generator.




3. With lever (4) inserted between stator core (2) and front housing (3), separate generator into front (3) and rear (1) sides.
4. Loosen pulley nut (1) by using vise (4) and take off pulley.

NOTE:
- When using vise (4), put clean cloth (3) between rotor (2) and vise (4) so as not to cause damage to rotor (2).
- Be sure to hold the location A. Do not hold the location B as it does not have enough structural strength.




5. Remove rotor (2) from front housing.




6. When removing front bearing, remove bearing retainer screws (2) and retainer.




7. When removing rear bearing (1), use oil hydraulic press (2).




8. Remove 3 screws (1) and generator "B" terminal nut (2).




9. Unsolder stator leads (1) and remove stator from rear housing and regulator assembly.




10. To remove brush, remove holder cover from brush holder and then disconnect brush wire from regulator terminal by using soldering iron.

80 A Type
1. Remove "B" terminal inner nut (3) and insulator (2).




2. Remove rear end cover (1).
3. Remove 2 screws (3) and pull out brush holder assembly (4).
4. Remove 3 screws (1) and IC regulator (2).




5. Remove brush holder cover from brush holder.




6. Remove 4 screws, 1 bolt and rectifier (1).




7. Remove 4 rubber insulators (1).




8. Hold shaft by using hexagonal box wrench (2) and remove pulley nut, and then pull out pulley (1).

CAUTION:
- To hold shaft, use hexagonal box. Duodecimal box may cause slipping and consequential shaft or tool damage.
- Do not attempt to hold pulley by using vise or pipe wrench so as not to distort it.

9. Remove 4 rear end frame nuts (3).
10. Drive out rear end frame (1) with tapping rotor shaft (2) lightly by using plastic hammer (4).




11. Separate rear end frame (1) from rotor evenly by using plastic hammer (4).

CAUTION: Do not hit shaft at slip ring side, when separating rotor and rear end frame.




12. If required, use bearing puller (2) to remove end housing bearing (1) and bearing cover (3).

CAUTION: Care must be exercised so as not to distort cooling fan blade while applying puller.

13. If required, remove 4 screws, retainer plate (2) and then drive out drive end bearing (3).




14. If required, remove stud bolts (1) and then pull out stator (4).

NOTE: Heating drive end frame may facilitate removal of stator.

Generator Reassembly

60 A / 70 A Types
Assemble in reverse order of "Generator Disassembly:", noting the followings.




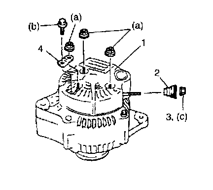
1. Be sure to install brushes (2) in the proper direction and solder brush wires and stator leads.
2. Tighten generator pulley nut (1) to specified torque.

Tightening torque
Generator pulley nut (for 60 A / 70 A types) (a): 118 N.m (11.8 kg-m, 85.5 lb-ft)






NOTE:
- When using vise (4), put clean cloth (3) between rotor (2) and vise (4) so as not to cause damage to rotor (2).
- Be sure to hold the location A. Do not hold the location B as it does not have enough structural strength.




3. Push brushes into brush holder, then support brushes by inserting appropriate wire (2) from hole of rear housing (1).

NOTE:
- After installing rotor, remove wire (2).
- Check to make sure that match marks on front and rear housing are aligned.
- Do not apply grease to rear (rotor) bearing. Remove oil completely if found in bearing box of rear housing.

4. After assembling generator, make sure that rotor turns smoothly.

80 A Type
1. If end housing bearing (1) is removed, install it.




2. Check end housing bearing (1) turns smoothly.
3. If stator (4) is removed, install stator (4) and tighten stud bolts (1).
4. If drive end bearing (3) is removed, install it.




5. Check drive end bearing (3) turns smoothly. If OK, install drive end bearing retaining plate (2).

Tightening torque
Stator stud bolt (a): 8.8 N.m (0.88 kg-m, 6.5 lb-ft)
Drive end bearing retaining plate screw (b): 2.6 N.m (0.26 kg-m, 2.0 lb-ft)




6. Place drive end frame (2) on pulley, and then install rotor (1) to drive end frame (2).
7. Install rear end frame (1) to drive end frame (2).




8. Tighten 4 nuts to specified torque.

Tightening torque
Rear end frame nut (a): 4.5 N.m (0.45 kg-m, 3.5 lb-ft)




9. Install pulley (1) and tighten pulley nut with holding shaft by using hexagonal box wrench (2) to specified torque.

Tightening torque
Generator pulley nut (for 80 A type) (a): 111 N.m (11.1 kg-m, 80.5 lb-ft)




10. Install 4 rubber insulators (1).




11. Install rectifier (1).

CAUTION: When installing rectifier, check to confirm that stator leads have enough clearance with cooling fan blades.

Tightening torque
Rectifier screw (a): 2 N.m (0.2 kg-m, 1.5 lb-ft)
Rectifier "B" bolt (b): 3.9 N.m (0.39 kg-m, 3.0 lb-ft)




12. Install brush holder cover (1) to brush holder (2).
13. Place the IC regulator (1) together with the brush holder (2) horizontally on the rear end frame (3).




14. Install the 5 screws until there is a clearance of approx. 1 mm (0.04 in.) between the brush holder (2) and connector.

Tightening torque
Regulator and brash holder screw (a): 2 N.m (0.2 kg-m, 1.5 lb-ft)

15. Install rear end cover (1) and terminal plate (4).

Tightening torque
Rear end cover nut (a): 4.5 N.m (0.45 kg-m, 3.5 lb-ft)
Terminal plate bolt (b): 3.8 N.m (0.38 kg-m, 3.0 lb-ft)




16. Install insulator (2) and tighten "B" terminal inner nut (3) to specified torque.

Tightening torque
"B" terminal inner nut (c): 4.2 N.m (0.42 kg-m, 3.0 lb-ft)




17. Make sure that rotor turns smoothly.