Operation CHARM: Car repair manuals for everyone.
Manuals through 2025 now available!

Our trusted friends have launched a new website named LEMON, which has newer manuals. It also contains all the CHARM manuals.

LEMON is the spiritual successor to CHARM, I recommend you try it!

Link: lemon-manuals.la or lemon-manuals.org.ua

(Some people have issue connecting. LEMON is investigating. For now, use Firefox or change your DNS server)

Or, hide this message: temporarily or permanently

Disassembly and Reassembly

Disassembly





1) Extract torque converter. And remove oil filler tube and dipstick.

CAUTION: Remove torque converter as much straight as possible. Leaning it may cause to damage oil seal lip.

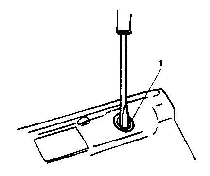
2) Remove speed sensor (1).





3) Remove 6 adapter case fixing bolts and then remove adaptor case (2).

NOTE: Use care not to cause damage to oil seal.

4) Remove gasket.





5) Remove shift switch (1).





6) Remove C-ring (1) and then remove speed sensor rotor (2).

NOTE: Use care not to loose rotor stop key.

7) Remove oil pump (5) by using puller (1).

NOTE: Use care not to cause damage to shaft bushing surface (2).

8) Remove bearing at the real of oil pump (5).
9) Remove O-ring from oil pump (5).





10) Holding input shaft (4) by hand, remove converter housing (3).
11) Check dimensions of overdrive (O/D) case surface and clutch cylinder surface for reassembly.
12) Remove overdrive (O/D) clutch assembly by holding input shaft (3).





13) Remove O/D case, bearing and bearing race.

NOTE: Confirm direction of bearing and bearing race for reassembly.





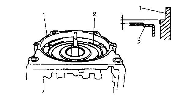
14) Remove oil pan (1).

NOTE:
^ Hold oil pan with oil pan side down to prevent foreign material in oil pan from entering valve body.
^ If iron powder is found, it is possible that bearing, gear or clutch plate is worn.

15) Remove oil tubes.

NOTE: Refer to figure for order of their removal.





16) Remove coupler from solenoid valve (1).
17) Remove oil strainer (1).





18) Remove valve body (2) mounting bolts as shown in the figure.
19) Lift valve body (1) and disconnect A/T throttle cable (3) from throttle cam (2). And remove valve body (1).





20) Disconnect throttle cable (3) from case (4).





21) Remove accumulator pistons (1) by blowing air into holes as shown in the figure.

NOTE: Hold accumulator piston (1) with shop cloth while blowing.





22) Place transmission upright as shown in the figure.





NOTE:
^ To prevent transmission case from getting damaged, protect its contacting surface with stand by using shop cloth or the like.
^ A stand of such size as shown in the figure will facilitate work.

23) Check top surface level of forward clutch (2) against case (1) for reassembly.





24) Remove forward clutch.

NOTE: Confirm direction of bearing and bearing race for reassembly.





25) Remove direct clutch (1).





26) Remove parking rod (1) and parking pawl (2).





27) Remove 2 bolts (1) from valve body side to remove center support.





28) Remove center support assembly (1).





29) Remove retaining ring (1), planetary gear assembly and leaf spring.

NOTE:
^ Use care not to cause damage to case when removing retaining ring.
^ Confirm direction of bearing and bearing race for reassembly.





30) Remove reverse brake retainer (1).





31) Remove brake applying cover (1).





32) Remove rear action sleeve and reverse brake piston by blowing air into hole (1) with (2) hole closed.





33) Undo caulking of sleeve cover (1) by using moderate stick (2) and move sleeve cover (1).





34) Using a punch, drive out manual shift lever pin, pull out manual shift shaft (2) and remove manual shift lever (1). Then remove sleeve cover from manual shift lever (1).





35) Remove oil seal (1) from both sides of transmission case.