Operation CHARM: Car repair manuals for everyone.
Manuals through 2025 now available!

Our trusted friends have launched a new website named LEMON, which has newer manuals. It also contains all the CHARM manuals.

LEMON is the spiritual successor to CHARM, I recommend you try it!

Link: lemon-manuals.la or lemon-manuals.org.ua

(Some people have issue connecting. LEMON is investigating. For now, use Firefox or change your DNS server)

Or, hide this message: temporarily or permanently

Lower Valve Body

Disassembly





1) Remove bypass valve (1), bypass valve spring, check ball valve damping spring, valve body ball (2) and ball valve spring.
2) Remove lower valve body plate (1) and lower valve body plate gasket.





3) Remove TCC (lock-up) control valve plate (2) and TCC (lock-up) control valve gasket.





4) With pressure relief valve retainer (1) pressed with finger, remove pressure relief valve bolt and then remove pressure relief valve retainer (1), pressure relief valve spring and pressure relief valve ball.





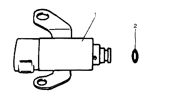
5) Remove TCC (lock-up) solenoid valve (1) and then remove O-ring (2) from TCC solenoid valve (1).





6) After removing shift solenoid valve (A and B) (1), remove solenoid valve gasket, low coast modulator valve spring (2), intercoast modulator valve spring (3) and 2 intermediate coast modulator valves (4).





7) Pressing TCC (lock-up) control sleeve with finger and using magnet (1), remove locating pin and then remove TCC (lock-up) control sleeve, TCC (lock-up) control valve and TCC (lock-up) control valve spring.





8) Check which step of primary regulator valve sleeve (1) (how many steps down from its tip) contacts primary regulator valve sleeve retainer (2).





9) Pressing primary regulator valve sleeve (1) with finger and using magnet, remove primary regulator valve sleeve retainer and then remove primary regulator valve sleeve (1), spacer (2) (for H25 engine only), primary regulator valve plunger (3), primary regulator valve spring (4) and primary regulator valve (5).

Reassembly
Assemble each component by reversing disassembly procedure and noting the following points.
^ Coil outer diameter and free length of each valve spring should be as listed below. Be sure to use each one of correct size.





Coil outer diameter and free length of each valve spring





^ Install primary regulator valve sleeve so that its tip is positioned as it was before disassembly.
^ Use new TCC (lock-up) control valve gasket, solenoid gasket and lower valve body plate gasket.





^ Tighten shift solenoid valve bolt to specified torque.





^ Tighten TCC (lock-up) solenoid valve bolt to specified torque.
^ Tighten pressure relief valve bolt to specified torque.
Tightening torque
Pressure relief valve bolt: 5.5 Nm (0.55 kgf-m, 4.0 ft. lbs.)





^ Tighten lower valve body plate (1), TCC (lock-up) control valve plate (2) flange bolt to specified torque.