Operation CHARM: Car repair manuals for everyone.
Manuals through 2025 now available!

Our trusted friends have launched a new website named LEMON, which has newer manuals. It also contains all the CHARM manuals.

LEMON is the spiritual successor to CHARM, I recommend you try it!

Link: lemon-manuals.la or lemon-manuals.org.ua

(Some people have issue connecting. LEMON is investigating. For now, use Firefox or change your DNS server)

Or, hide this message: temporarily or permanently

Reassembly

Reassembly
Judging from faulty conditions noted before disassembly and what is found through visual check of bearing and gear tooth etc. after disassembly, prepare replacing parts and proceed to reassembly according to procedures as described below.

CAUTION:
^ Bevel gear and pinion must be replaced as a set when either replacement becomes necessary.
^ When replacing taper roller bearing, replace as inner race and outer race assembly.

Differential Carrier





For press-fitting bevel pinion bearing outer races, use special tools (A), (B) and (C) as shown.

Differential Case
For 2 differential pinion type





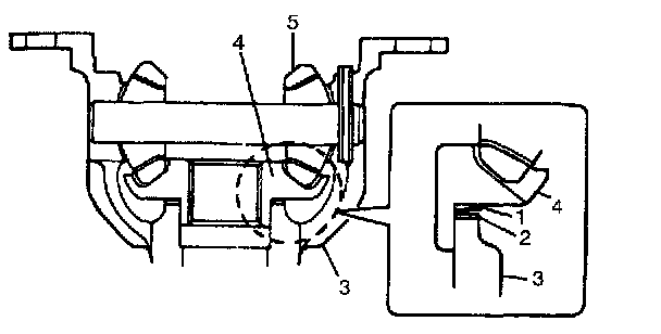
1) After applying differential oil to side gear (4), pinions (5), pinion shaft, thrust washer (2) and spring washer (1), install them in differential right case (3). For correct installing direction of thrust washer (2) and spring washer (1), refer to the figure.





2) Check pinion gear (1) for smooth rotation.





3) Align pinion shaft hole position with differential case and drive in 3 spring pins (1) till they are flush with end surface of case.





4) In the same manner as described in Step 1), install thrust washer (2), spring washer (1) and side gear (4).





5) Put bevel gear on differential case (1) and fasten them with bolts (2) by tightening them to specified torque. Use thread lock cement for bolts (2).

CAUTION: Use of any other bolts than that specified is prohibited.





6) Install special tool (B) to differential case assembly and check that preload is within specification below. If preload exceeds specified value, check if foreign matter is caught or gear is damaged.

For 4 differential pinion type





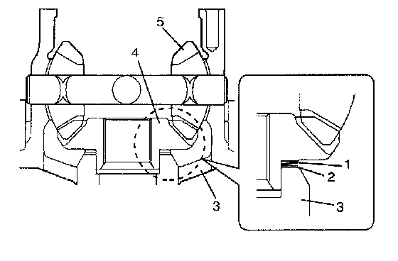
1) After applying differential oil to side gear (4), pinions (5), pinion shafts, washer, thrust washer (2) and spring washer (1), install them in differential left case (3). For correct installing direction of thrust washer (2) and spring washer (1), refer to figure.





2) When installing pinion shaft No.2 (2) (shorter) into differential case and pinion, insert its "a" side into pinion joint (1).

NOTE: "A"" is longer than "b". ("a" > "b")





3) Check pinion gear (1) for smooth rotation.





4) In the same manner as described in Step 1), install thrust washer (2), spring washer (1) and side gear (4).





5) Install differential right case (1) and then tighten bolts to specified torque.
6) Install bevel gear in the same manner as Step 5) of 2 differential pinion type.
7) Check preload in the same manner as Step 6) of 2 differential pinion type.

Differential Side Bearing





1) Press-fit side bearing (1) with special tool and press.





2) Hold bearing press-fitted in Step 1) with holder and press-fit side bearing on the other side.

NOTE: Be sure to use bearing holder for the purpose of protecting lower bearing.

Drive Bevel Pinion
To engage bevel pinion and gear correctly, it is prerequired to install bevel pinion to differential carrier properly by using adjusting shim as described below. Shown in the figure of Step 5 are relative positions of bevel pinion, differential carrier and mounting dummy.





1) Install special tools with bearings and universal joint flange to differential carrier (1).

NOTE:
^ This installation requires universal joint flange (2) not equipped with groove on flange periphery.
^ This installation requires no spacer or oil seal.





2) Tighten flange nut (1) so that specified bearing preload is obtained.

NOTE: Before taking measurement with spring balance (2) or torque wrench (3), check for rotation by hand and apply small amount of oil to bearings.





3) Set dial gauge to bevel pinion mounting dummy and make 0 (zero) adjustment on surface plate.

NOTE:
^ When setting dial gauge to mounting dummy, tighten screw lightly. Be careful not to overtighten it, which will cause damage to dial gauge.
^ With dial gauge set, turn dummy back and force by hand a couple of times and attain accurate 0 (zero) adjustment.
^ It is desirable that short pointer indicates beyond 2 mm when long one is at 0 (zero).





4) Place zero-adjusted mounting dummy and dial gauge set on pinion dummy and take measurement between zero position and extended dial gauge measuring tip.

NOTE:
^ Repeat turning back and force of dummy and measure distance as far as top surface of pinion dummy accurately.
^ When dial gauge measuring tip extends from 0 (zero) position, pointer turns counterclockwise.
^ Measured value may exceed 1 mm. Therefore, it is also necessary to know reading of short pointer.





5) Obtain adjusting shim thickness by using measured value by dial gauge (which represents "c" in figure) in the following equation. 97 (2 differential pinion type) or 102 (4 differential pinion type) in equation below is "a" + "b" of mounting dummy (special tool (13)) as shown in figure.
Necessary shim thickness "f" = 97 (2 differential pinion type) or 102 (4 differential pinion type) + Dial gauge measured value "c" - Measurement printed on pinion "e"





6) Select adjusting shim(s) (2) closest to calculated value from among following available sizes and put it in place and then press-fit rear bearing (1).





7) With new pinion spacer (3) inserted as shown in the figure, install front bearing (5) to differential carrier (4).

NOTE:
^ Make sure to use new spacer for reinstallation.
^ Apply oil to bearings.





8) Using special tool and plastic hammer, drive oil seal (2) into differential carrier (1) till it becomes flush with carrier end. Then apply grease "A" to oil seal lip.





9) While tightening flange nut gradually with special tool (J) and power wrench (4 - 10 magnification), set preload of pinion to specification.

NOTE:
^ Before taking measurement with spring balance (3) or torque wrench (4), check for smooth rotation by hand.
^ Bearing preload can be measured roughly by pinion rotating angle which is due to arm weight of flange holder installed in flange.
^ Be sure to tighten gradually and carefully till specified starting torque is obtained. Turning back overtightened flange nuts should be avoided.

Assembling Unit
1) Place bearing outer races on their respective bearings. Used left and right outer races are not interchangeable.
2) Install case assembly in carrier.





3) Install side bearing adjusters on their respective carrier, making sure adjuster are threaded properly.
4) Align match marks (1) on cap and carrier. Screw in 2 side bearing cap bolts 2 or 3 turns and press down bearing cap by hand.

NOTE: If bearing cap does not fit tightly on carrier, side bearing adjuster is not threaded properly. Reinstall adjuster.





5) Tighten cap bolts (provisional torque).





6) Tighten both bearing adjusters (2) so as to obtain specified gear backlash and at the same time, obtain preload of side bearing.

NOTE:
^ Be sure to apply measuring tip of dial gauge at right angles to convex side of tooth.
^ As a practical measure the following would be recommended to obtain specified backlash and side bearing preload at the same time.
a Obtain specified backlash by turning both adjusters inward lightly.
b Tighten both adjusters further by one notch at a time. Measure at least 4 points on drive bevel gear periphery.

Standard backlash 0.13 - 0.18 mm (0.005 - 0.007 inch)
Special tool
(A): 09930-40120
(B): 09930-40113
(C): 09900-20701





7) Measure preload of pinion with spring balance (1) or torque wrench (2) and check composite preload of pinion bearing and side bearing.

NOTE:
^ Standard preload is shown in graph on next page, which should be read as follows.
Example: When preload of bevel pinion is 26 N (2.6 kg, 5.73 lb), acceptable composite preload of both pinion bearings and side bearings should be between 2.8 and 3.2 kg / 6.17 and 7.05 lb.
^ Bearing preload can be checked roughly by using flange holder as shown in figure. In this measurement, holder arm itself will work as balance weight and torque will be replaced with angle. However, flange should be rotated very slowly with hand support so as not to allow over revolution due to inertia.





^ Repeat side bearing adjustment until gear backlash and composite bearing preload are compatible within specification, if failed to obtain specified measurements first.





8) Torque bearing cap bolts (2) to specification and install bearing lock plates.











9) As final step, check gear tooth contact as follows.
a) After cleaning 10 bevel gear teeth, paint them with gear marking compound evenly by using brush or sponge etc.
b) Turn gear to bring its painted part in mesh with bevel pinion and turn it back and forth by hand to repeat their contact.
c) Bring painted part up and check contact pattern, referring to following chart. If contact pattern is not normal, readjust or replace as necessary according to instruction in chart.

NOTE: Be careful not to turn bevel gear more than one full revolution, for it will hinder accurate check.





10) Upon completion of gear tooth contact check in Step 9), caulk flange nut (2) with caulking tool (1) and hammer.