Operation CHARM: Car repair manuals for everyone.
Manuals through 2025 now available!

Our trusted friends have launched a new website named LEMON, which has newer manuals. It also contains all the CHARM manuals.

LEMON is the spiritual successor to CHARM, I recommend you try it!

Link: lemon-manuals.la or lemon-manuals.org.ua

(Some people have issue connecting. LEMON is investigating. For now, use Firefox or change your DNS server)

Or, hide this message: temporarily or permanently

Removal and Replacement

Rear-End Door Glass Removal And Installation

Refer to Head lining Removal and Installation, Windshield Removal and Installation procedures and cautions are basically the same. However, note the following.
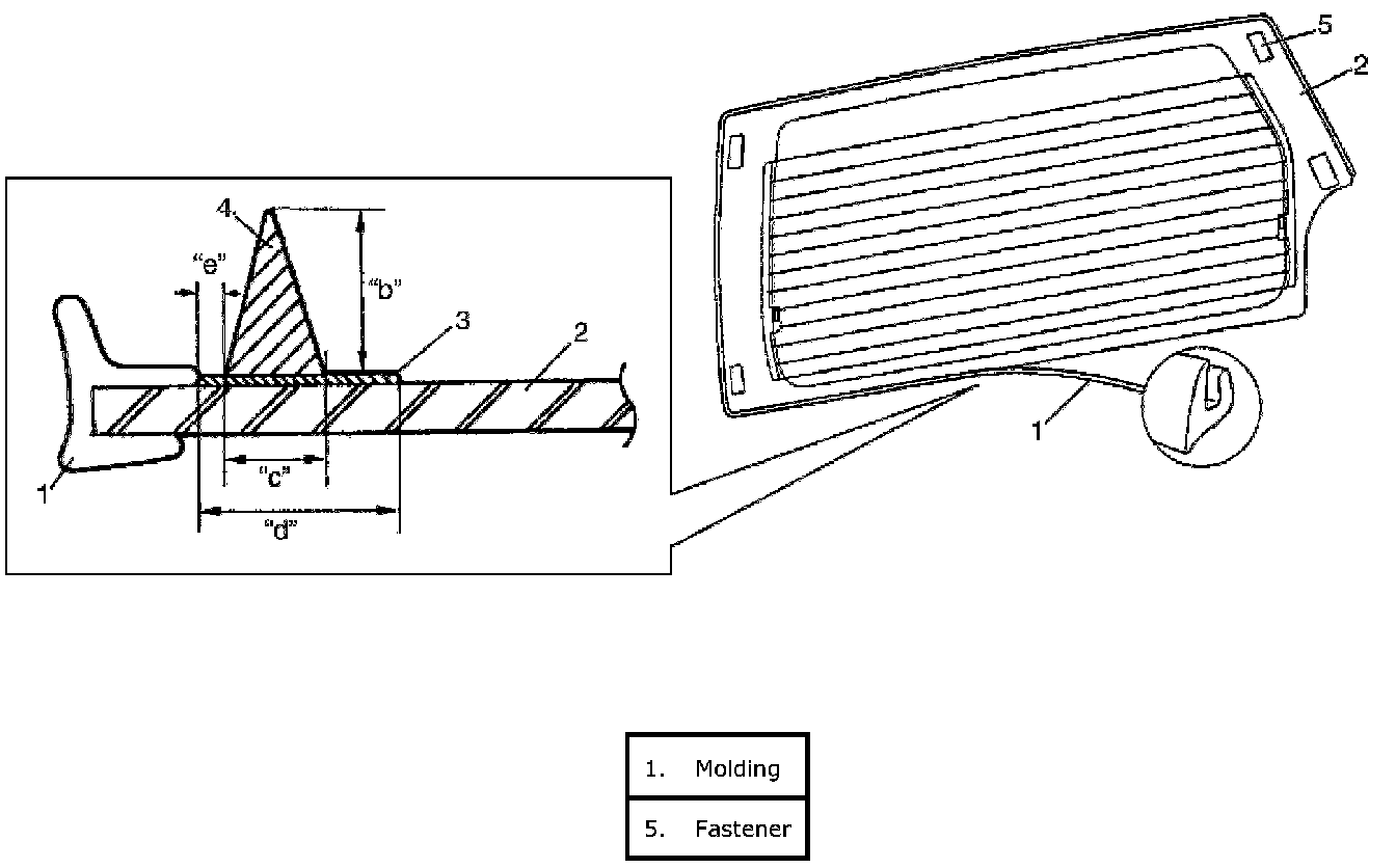
- Before applying primer to glass (2) edge, install molding (1) according to installing position shown in the figure.







- Observe the following precautions when applying adhesive (4) along glass edge.
- Adhesive should be applied evenly especially in height.
- Be careful not to damage primer.
- Press glass (2) against body quickly after adhesive is applied.

Adhesive amount specification (rear-end door glass)
Height "b": 15 mm (0.59 in.)
Width "c": 8 mm (0.31 in.)
Width "d": 16 mm (0.63 in.)
Clearance "e": 1 mm (0.04 in.)







- When replacing rear-end door, coat replacement door inside with wax for proper anticorrosive treatment. Refer to Undercoating / Anti-Corrosion compound Application Area.
- Apply sealing compound to peripheral of door hem area and reinstall door sealing cover (1).







- When weather-strip is hardened and water leaks have developed, replace it.