Operation CHARM: Car repair manuals for everyone.
Manuals through 2025 now available!

Our trusted friends have launched a new website named LEMON, which has newer manuals. It also contains all the CHARM manuals.

LEMON is the spiritual successor to CHARM, I recommend you try it!

Link: lemon-manuals.la or lemon-manuals.org.ua

(Some people have issue connecting. LEMON is investigating. For now, use Firefox or change your DNS server)

Or, hide this message: temporarily or permanently

Component Tests and General Diagnostics

Toe Inspection and Adjustment

Preparation for toe inspection and adjustment.
^ Place vehicle in non-loaded state on level floor.
^ Set steering wheel in straight state.
^ Check that inflation pressure of each tire is adjusted properly and disc wheel is free from deflection.
^ Check that each suspension part is free from bend, dent, wear or damage in any other form.
^ Check that ground clearance at the right and left is just about the same.

Inspection
Measure toe with toe-in gauge (1).
Toe should be within following specifications.





Toe: 2.6 ± 2 mm (0.1 ± 0.079 inch)
If toe is out of the specification, adjust toe properly.

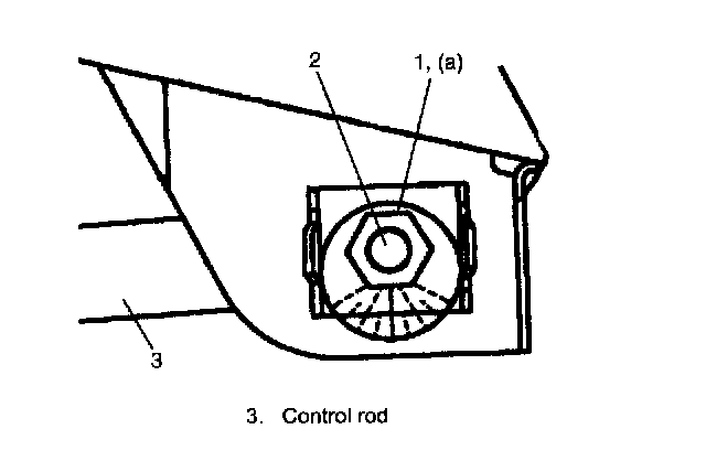
Adjustment





1. Loosen right and left control rod inner nuts (1).
2. Adjust toe to satisfy specification by turning right and left control rod inner bolts (cam bolts) (2) by the same amount.
3. After adjustment, tighten right and left nuts to specified torque while holding cam bolt with another wrench to prevent it from turning.
Tightening torque (a): 90 Nm (9.0 kgf-m. 65.0 ft. lbs.)

Reference Information
Side slip limit
When checked with side slip tester, side slip should satisfy following specification.
Side slip limit IN: 2.5 ± 1.5 mm/m (0.098 ± 0.059 in/3.3 ft)
If side slip exceeds the limit, toe or front wheel alignment may not be correct.