Operation CHARM: Car repair manuals for everyone.
Manuals through 2025 now available!

Our trusted friends have launched a new website named LEMON, which has newer manuals. It also contains all the CHARM manuals.

LEMON is the spiritual successor to CHARM, I recommend you try it!

Link: lemon-manuals.la or lemon-manuals.org.ua

(Some people have issue connecting. LEMON is investigating. For now, use Firefox or change your DNS server)

Or, hide this message: temporarily or permanently

Fuel Injector: Service and Repair

Fuel Injector Removal and Installation

Removal

CAUTION: A small amount of fuel may be released when it is removed from delivery pipe.
Place a shop cloth under delivery pipe so that released fuel is absorbed in it.

1) Relieve fuel pressure.
2) Remove engine cover.
3) Disconnect couplers from each injector.
4) Remove delivery pipe from cylinder head.
5) Remove fuel injector.

Installation





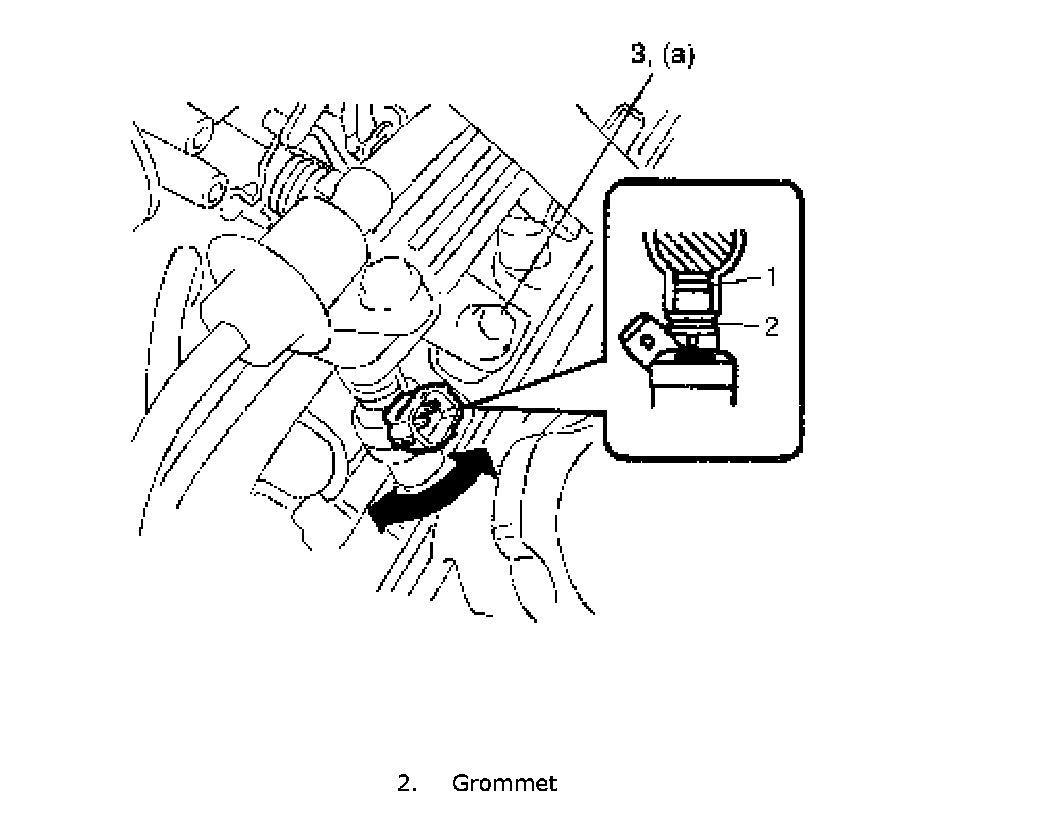
1) Replace injector O-ring (3) with new one using care not to damage it. Install grommet (2) to injector.
2) Check if insulator (1) is scored or damaged. If it is, replace with new one. Install insulators and cushions (4) to cylinder head.





3) Apply thin coat of fuel to O-rings (1) and then install injectors into delivery pipe and cylinder head.
Make sure that injectors rotate smoothly. If not, probable cause is incorrect installation of O-ring. Replace O-ring with new one.
4) Tighten delivery pipe bolts (3) to specified torque and make sure that injectors rotate smoothly.
Tightening torque
Fuel delivery pipe bolts (a): 25 Nm (2.5 kgf-cm, 18.0 ft. lbs.)
5) Connect couplers to injector securely and clamp injector wire.
6) Install engine cover.
7) With engine "OFF" and ignition switch "ON", check for fuel leaks around fuel line connection.