Operation CHARM: Car repair manuals for everyone.
Manuals through 2025 now available!

Our trusted friends have launched a new website named LEMON, which has newer manuals. It also contains all the CHARM manuals.

LEMON is the spiritual successor to CHARM, I recommend you try it!

Link: lemon-manuals.la or lemon-manuals.org.ua

(Some people have issue connecting. LEMON is investigating. For now, use Firefox or change your DNS server)

Or, hide this message: temporarily or permanently

1. Transaxle Unit Disassembly

Part 1 Of 3:




Part 2 Of 3:




Part 3 Of 3:






Automatic Transaxle Unit Disassembly

CAUTION:
^ Thoroughly clean transaxle exterior before overhauling it.
^ Keep working table, tools and hands clean while overhauling.
^ Use special care to handle aluminum parts so as not to damage them.
^ Do not expose removed parts to dust. Keep them always clean.





1. Extract torque converter (1).

CAUTION: Remove torque converter as much straight as possible. Leaning it may cause to damage oil seal lip.





2. Measure starting torque of differential gear assembly using special tool.
Special Tool (A): 09928-06050
Starting torque of differential assembly 0.8 - 1.4 Nm (0.08 - 0.14 kgf-cm, 0.58 - 1.0 ft. lbs.)

NOTE: Record actual starting torque of differential assembly for installation reference.





3. Remove fluid cooler pipes (1).

NOTE: Never reuse gaskets (2) after removal.





4. Pull out transmission range sensor assembly (1).
a. Remove manual shift lever (2).
b. Pry off lock washer (4).
c. Remove lock nut (3).
d. Remove lock washer (4) and rubber plate.
e. Remove 2 bolts (5).

NOTE: Never reuse lock washer after removal.





5. Remove fluid level gauge (1), fluid filler tube (2), output shaft speed sensor (3), input shaft speed sensor (4) and vehicle speed sensor (5) (for speedometer).





6. Remove transaxle housing by removing 15 bolts as shown.
7. Pull out differential gear assembly.
8. Clean and wipe off gasket sealant on mating surface between transaxle housing and transaxle case.
9. Remove three gaskets at transaxle case side.

NOTE: Never reuse removed gaskets.





10. Remove 6 bolts of oil pump body (1), then remove oil pump body by hand.

NOTE:
^ Use care not to cause damage to shaft bushing surface.
^ If oil pump body can't be removed by hand, remove it by using bearing puller as shown in figure.





11. Remove oil reserve plate (1) by removing 2 bolts.
12. Remove oil strainer (2).





13. Remove manual detent spring (1) by removing 2 bolts.





14. Remove transaxle side cover (1) by removing bolts.
15. Remove transmission fluid temperature sensor (1) from clamp.
16. Remove sensor harness from clamp (2).





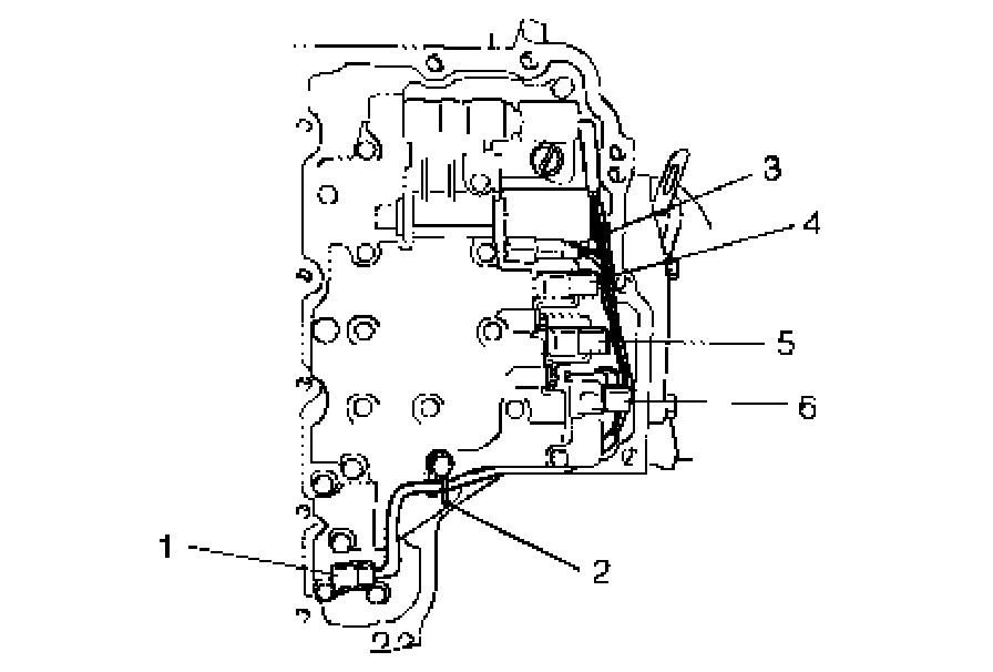
17. Disconnect pressure control solenoid, shift solenoid-A, shift solenoid-B and TCC solenoid connectors (3, 4, 5, 6).





18. Remove valve body assembly (1) by removing seven bolts.

CAUTION: Be careful not to let manual valve fall off when removing valve body assembly.

19. Remove valve body connector mounting bolt and remove valve body connector and its harness.





20. Remove 2 gaskets (1).

NOTE: Never reuse removed gaskets.





21. Remove snap ring (1) using special tool.
Special Tool (A): 09900-06108
22. Pull out 2nd and 4th brake cover (2) with O-ring by using pliers or the like.
23. Inspect 2nd and 4th brake piston rod stroke.





a. Set dial gauge and magnetic stand (special tools).
Special Tool
(A): 09900-20606
(B): 09900-20701
b. Plug oil hole (1).





c. Measure piston rod stroke while applying and releasing compressed air (400 - 800 kPa, 4 - 8 kgf/cm2, 57 - 113 psi) from oil hole (2).
2nd and 4th brake piston rod stroke
Standard: 1.78 - 2.22 mm (0.070 - 0.087 inch)

NOTE: If piston rod stroke exceeds the specification, adjust piston rod or inspect band assembly of 2nd and 4th brake for damage, wear or discoloration.





24. Pull out reverse clutch assembly (1).
25. Remove 2nd and 4th brake band assembly (2).
26. Remove anchor pin (3).





27. Apply valve lifter as illustrated and push in brake inner cover.
Special Tool
(A): 09916-14510
(B): 09916-48210
28. Remove snap ring by using snap ring pliers (special tool).
Special Tool (C): 09900-06108
29. Remove tools and take out 2nd and 4th brake piston assembly (2).

NOTE: If 2nd and 4th brake piston assembly doesn't come out, apply compressed air through oil hole in figure of step 23)-b).








30. Remove spring (3).
31. Disassemble 2nd and 4th brake piston assembly.





a. Remove brake inner cover (1) and O-rings (2).

NOTE: Never reuse removed O-ring.





b. Remove E-ring (1), brake piston (2), spring (3) and rod washer (4).





32. Loosen six bolts of transaxle rear cover (1).
33. Lightly and uniformly tap two rib sections of transaxle rear cover (1), using plastic hammer.
34. Remove ten bolts and engine mounting LH bracket.
35. Pull out transaxle rear cover (1) with forward clutch subassembly installed.





36. Remove 5 gaskets (1).

NOTE: Never reuse removed gaskets.





37. Remove planetary carrier (2), planetary ring gear (3) and sun gear assembly (1) with the following sun gear thrust roller bearing (4) installed.
Sun gear thrust roller bearing dimension
Outside diameter: 32.5 mm (1.28 inch)
Inside diameter: 18.8 mm (0.74 inch)
Thickness: 2.7 mm (0.11 inch)
38. Pull out sun gear assembly.





39. Inspect 1st and reverse brake piston stroke.
a. Set special tools (dial gauge and magnetic stand).
Special Tool
(A): 09900-20606
(B): 09900-20701
b. Measure piston stroke while applying and releasing compressed air (400 - 800 kPa, 4 - 8 kgf/cm2, 57 - 113 psi) from oil hole (1).
1st and reverse brake piston stroke
Standard: 1.73 - 2.57 mm (0.068 - 0.101 inch)

NOTE: If piston stroke exceeds the specification, inspect or replace plates.

40. Remove snap ring (1) using flat end rod or the like.





41. Remove retaining plates "R", friction plates "F" and separator plates "S" in the following order. R -> F -> S -> F -> S -> F -> S -> F -> S -> F -> R





42. Remove retainer ring (1) and 1st and reverse brake piston return spring (2).
43. Remove 1st and reverse brake piston with O-ring installed while applying and releasing compressed air (400 - 800 kPa, 4 - 8 kg/cm2, 57 - 113 psi) through oil hole section (3).

NOTE:
^ Never reuse removed O-rings.
^ If piston will not pop out, it is recommended to use needle nose pliers for removal.

44. Remove parking lock pawl (1), pawl bracket (2) and torsion spring by removing two bolts.
45. Pry off torsion spring (3) of parking lock pawl (1).





46. Remove parking lock pawl (1) by pulling out pawl shaft (4) with torsion spring installed.
47. Pullout counter driven gear assembly (5) towards you.
48. Remove countershaft thrust roller bearing (1) with race.
Countershaft thrust roller bearing dimension
Outside diameter: 66.0 mm (2.60 inch)
Inside diameter: 51.0 mm (2.01 inch)
Thickness: 2.7 mm (0.11 inch)





49. Remove transaxle lubrication tube (2).





50. Measure torque (bearing preload) of counter drive gear subassembly using torque wrench and special tool.
Special Tool (A): 09927-26010
Counter drive gear bearing preload
Starting torque: 0.05 - 0.25 Nm (0.005 - 0.025 kgf-cm, 0.037 - 0.180 ft. lbs.)
Rotational torque: 0.05 - 0.15 Nm (0.005 - 0.015 kgf-cm, 0.037 - 0.108 ft. lbs.)
51. Remove snap ring.





52. Press counter drive gear subassembly (1) using special tool.
Special Tool (B): 09925-86010
53. Remove slotted spring pin (3) using pin punch or the like.

NOTE: Never reuse removed spacer (2) and slotted spring pin (3).





54. Remove manual valve lever shaft subassembly (1), manual valve lever (4) and oil seal.

NOTE: Never reuse removed oil seal.