Operation CHARM: Car repair manuals for everyone.
Manuals through 2025 now available!

Our trusted friends have launched a new website named LEMON, which has newer manuals. It also contains all the CHARM manuals.

LEMON is the spiritual successor to CHARM, I recommend you try it!

Link: lemon-manuals.la or lemon-manuals.org.ua

(Some people have issue connecting. LEMON is investigating. For now, use Firefox or change your DNS server)

Or, hide this message: temporarily or permanently

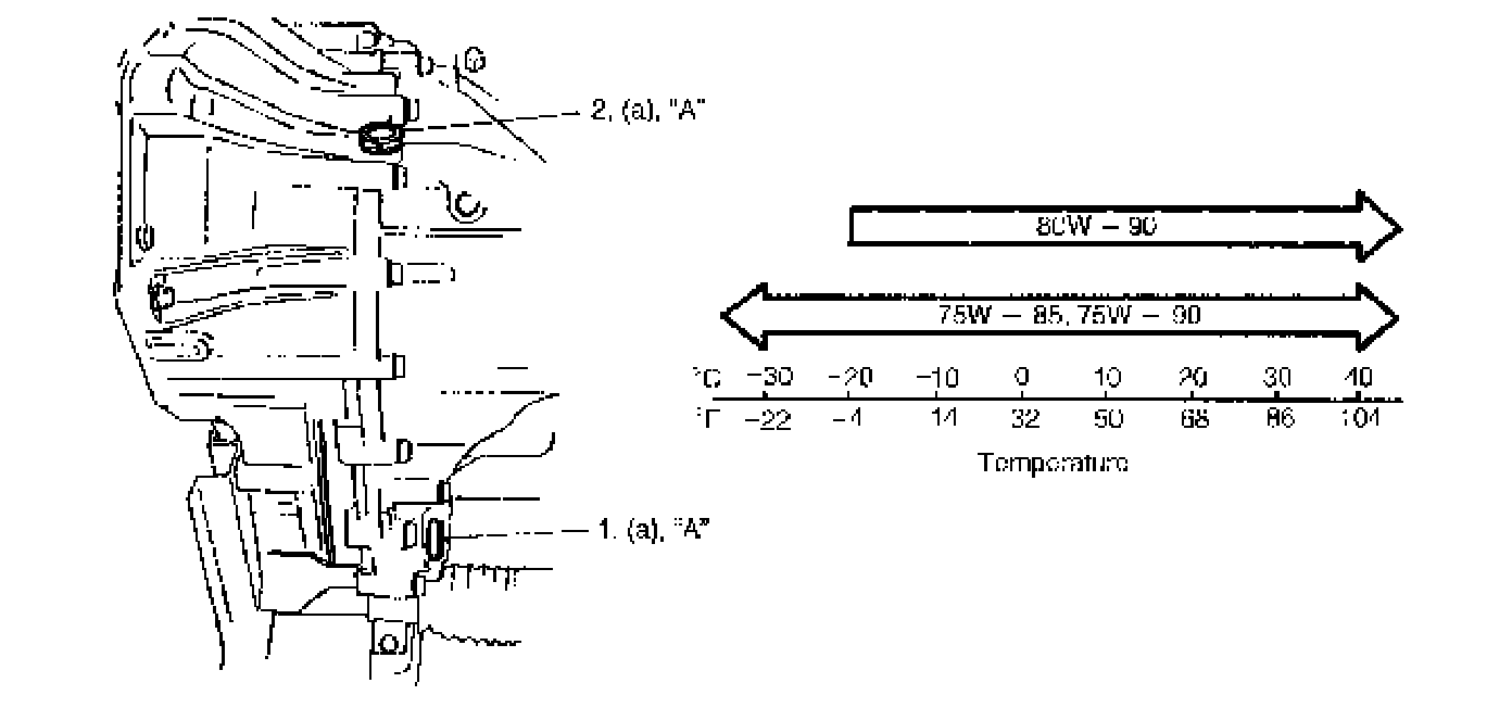
Manual Transmission/Transaxle: Locations

Manual Transaxle Oil Change
1. Before changing or inspecting oil, be sure to stop engine and lift vehicle horizontally.
2. With vehicle lifted up, check oil level and leakage. If leakage exists, correct it.
3. Drain old oil and fill new specified oil by specified amount (up to level hole).





4. Torque drain plug (1) and level / filler plug (2) as specified in the following. Apply sealant to thread of drain plug and level / filler plug before installation.
"A": Sealant 99000-31230
Tightening torque
Transaxle oil level / filler and drain plugs (a): 21 Nm (2.1 kgf-cm, 15.5 ft. lbs.)

NOTE:
^ It is recommended to use API GL-4 75W-90 gear oil.
^ Whenever vehicle is hoisted for any service work other than oil change, check for oil leakage.

Transaxle oil specifications
Capacity: 2.0 liters (4.2/3.5 US/Imp. pt)
Oil grade: API GL-4 (For SAE classification, refer to viscosity chart in the figure)