Inside Rearview Mirror Installation
Inside Rearview Mirror InstallationThe inside rearview mirror is attached to a support which is secured to the windshield glass. The support is installed by the glass supplier using a plastic-polyvinyl butyl adhesive. Service replacement windshield glass has the mirror support bonded to the glass assembly. In order to install a detached mirror support or to install a new part, the following items will be needed:
^ Loctite� Minute-Bond Adhesive.
^ Original or replacement mirror support.
^ Wax marking pencil or crayon.
^ Rubbing alcohol.
^ Clean paper towel.
^ Fine grit sandpaper (grit #320 or #360).
Installation
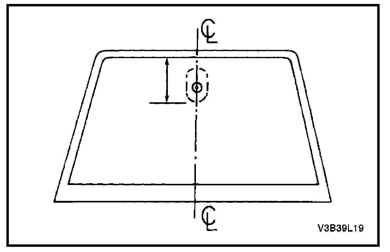
1. Measure the distance from the headliner to the bottom of the location where the mirror support will be mounted on the windshield.
2. Mark this position on the outside of the glass with a wax pencil or crayon. Draw a large diameter circle around the mirror support location on the outside of the glass.
3. Clean the inside surface of the glass with a domestic scouring cleanser, a glass cleaning solution, or a polishing compound and paper towels. Rub the glass until the area is completely dry. When the area is dry, clean the area with an alcohol-saturated paper towel in order to remove any traces of the scouring powder or the glass cleaning solution.
4. If the mirror support is new, clean the bonding surface with fine grit sandpaper #320 or #360. If the original mirror support is being used, all traces of factory installed adhesive must be removed prior to reinstallation.
5. Wipe the sanded mirror support with a clean paper towel saturated with rubbing alcohol. Allow the support to dry.
6. Follow the adhesive kit manufacturer's directions for adhesive application and mirror support preparation before installing the mirror support to the glass.
7. Position the mirror support to its premarked position. Use steady pressure and press the support against the glass for 30 to 60 seconds.
8. After 5 minutes, remove the excess adhesive with an alcohol-moistened towel or a glass-cleaning solution.
9. Install the inside rearview mirror to the mirror support with the mounting screw.
Tighten:
Tighten the rearview mirror mounting bolt to 1.2 Nm (11 in. lbs.).