Operation CHARM: Car repair manuals for everyone.
Manuals through 2025 now available!

Our trusted friends have launched a new website named LEMON, which has newer manuals. It also contains all the CHARM manuals.

LEMON is the spiritual successor to CHARM, I recommend you try it!

Link: lemon-manuals.la or lemon-manuals.org.ua

(Some people have issue connecting. LEMON is investigating. For now, use Firefox or change your DNS server)

Or, hide this message: temporarily or permanently

Cylinder Head Assembly








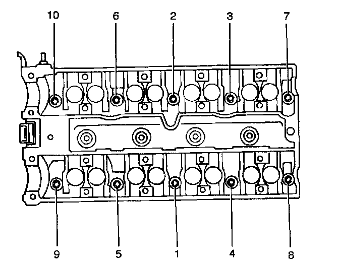
Tighten the cylinder head bolts gradually and in the sequence shown.
Tighten: Tighten the cylinder head bolts to 25 Nm (18 ft. lbs.) and turn the bolts another 3 turns of 90° using the angular torque gauge KM-470-B
Cylinder Head:
Valve Stem Protrusion 39.2 - 39.8 mm (1.54 - 1.56 inch)
Valve Guide Height 13.7 - 14.0 mm (0.54 - 0.57 inch)
Overall Height 134 ± 0.025 mm (5.2755 - 0.0009 inch)
Minimum Overall Height After Machining 133.9 mm (5.27 inch)
Valve System:
Valve Lash Compensators Hydraulic Tappet
Seat Runout (Maximum, All) 0.03 mm (0.00118 inch)
Face Runout (Maximum, All) 0.03 mm (0.00118 inch)
Valve Stem Diameter:
Intake 5.945 - 5.960 mm (0.234 - 0.2346 inch)
Exhaust 5.945 - 5.960 mm (0.234 - 0.2346 inch)
Valve Diameter:
Intake 32 ± 0.1 mm (1.2598 ± 0.0039 inch)
Exhaust 29 ± 0.1 mm (1.1417 ± 0.0039 inch)
Valve Seat Width:
Intake 1.0 - 1.5 mm (0.0390.059 inch)
Exhaust 1.7 - 2.2 mm (0.0660.086 inch)
Valve Face Angle 44°
Valve Guide Inside Diameter 6.000 - 6.012 mm (0.2360.237 inch)
Cylinder Head Bolts 25 + 90°+ 90° Nm (18 + 90°+ 90° 90° + 90° ft. lbs.)





Install the intake manifold retaining nuts and retaining bolt in the sequence shown.
Tighten: Tighten the intake manifold retaining nuts and retaining bolt to 22 Nm (16 ft. lbs.)
Engine-to-Intake Manifold Support Bracket Bolts 20 Nm (15 ft. lbs.)
Generator-to-Intake Manifold Strap Bracket Bolt 22 Nm (16 ft. lbs.)
Generator-to-Intake Manifold Support Bracket Bolts 37 Nm (27 ft. lbs.)
Intake Camshaft Gear Bolt 50 + 60° + 15° Nm (37 + 60° + 15° ft. lbs.)
Intake Manifold Support Bracket Lower Bolt 25 Nm (18 ft. lbs.)
Intake Manifold Support Bracket Upper Bolts 25 Nm (18 ft. lbs.)
Throttle Cable Bracket Bolts 8 Nm (71 inch lbs.)





Tighten the camshaft cap bolts gradually and in the sequence shown for each camshaft cap.
Camshaft Bearing Bridge and Oil Pan Scraper Bolts 20 + 45° Nm (15 + 45° ft. lbs.)
Camshaft Bearing Cap Bolts 8 Nm (71 inch lbs.)





Install the cylinder head with the intake manifold and the exhaust manifold attached
Exhaust Manifold Studs/Nuts Anti-seize Compound (HMC Spec HN1325)
Exhaust Manifold Heat Shield Bolts 8 Nm (71 inch lbs.)
Exhaust Manifold Retaining Nuts 22 Nm (16 ft. lbs.)
Catalytic Converter-to-Exhaust Manifold Nuts 40 Nm (30 ft. lbs.)
Exhaust Manifold Cover Bolts 15 Nm (11 ft. lbs.)