Operation CHARM: Car repair manuals for everyone.
Manuals through 2025 now available!

Our trusted friends have launched a new website named LEMON, which has newer manuals. It also contains all the CHARM manuals.

LEMON is the spiritual successor to CHARM, I recommend you try it!

Link: lemon-manuals.la or lemon-manuals.org.ua

(Some people have issue connecting. LEMON is investigating. For now, use Firefox or change your DNS server)

Or, hide this message: temporarily or permanently

Body Control Systems: Tools and Equipment

SPECIAL TOOL

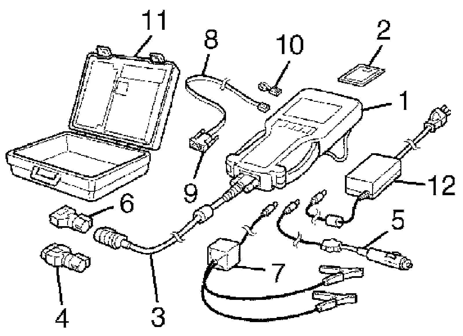
SUZUKI scan tool

This kit includes following items.
1. Tech 2,
2. PCMCIA card,
3. DLC cable,
4. SAE 16/19 adapter,
5. Cigarette cable,
6. DLC loop back adapter,
7. Battery power cable,
8. RS232 cable,
9. RS232 adapter,
10. RS232 loop back connector,
11. Storage case,
12. Power supply