Operation CHARM: Car repair manuals for everyone.
Manuals through 2025 now available!

Our trusted friends have launched a new website named LEMON, which has newer manuals. It also contains all the CHARM manuals.

LEMON is the spiritual successor to CHARM, I recommend you try it!

Link: lemon-manuals.la or lemon-manuals.org.ua

(Some people have issue connecting. LEMON is investigating. For now, use Firefox or change your DNS server)

Or, hide this message: temporarily or permanently

Cylinder Block Assembly: Specifications

Main bearing clearance

Main bearing clearance:





Journal diameter

Journal diameter:





Standard size main bearing thickness

Standard size main bearing thickness:





Undersize Main Bearing Thickness

Undersize Main Bearing Thickness:





Main bearing cross-reference table (undersize bearing)

Main bearing cross-reference table (undersize bearing):





Calculate cylinder bore diameter to be rebored as follows.
D = A + B - C
D: Cylinder bore diameter to be rebored
A: Piston diameter as measured
B: Piston clearance = 0.02 - 0.04 mm (0.0008 - 0.0015 inch)
C: Allowance for honing = 0.02 mm (0.0008 inch)
Rebore and hone cylinder to calculated dimension.

Cylinder bore via. exceeds limit.
Difference of measurements at 2 positions exceeds taper limit.
Difference between thrust and axial measurements exceeds out-of-round limit.
Cylinder bore
Standard: 88.000 - 88.020 mm (3.4646 - 3.4653 inch)
Limit: 88.050 mm (3.4665 inch)
Taper and out-of-round
Limit: 0.10 mm (0.004 inch)

NOTE:
Cylinder bore diameter should be measured in 2 places 90 degrees apart.

Distortion of Gasketed Surface
Using straightedge and thickness gauge, check gasketed surface for distortion. If flatness exceeds its limit, correct or replace it.





Note:
Main bearings, crankcase (bearings caps), connecting rods, connecting rod bearings, connecting rod bearing caps, pistons and piston rings are in combination sets.

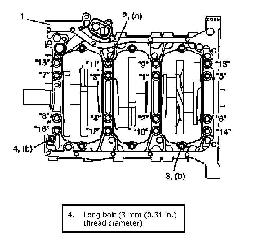
Crankcase Bolts





Tightening torque
Lower crankcase bolt (10 mm (0.39 inch) thread diameter)
a: Tighten 30 Nm (3.0 kgf-m, 22.0 ft. lbs.), 0 Nm (0 kgf-m, 0 ft. lbs.), 42 Nm (4.2 kgf-m, 30.5 ft. lbs.) and 40° by the specified procedure
Lower crankcase bolt (8 mm (0.31 inch) thread diameter)
b: 27 Nm (2.7 kgf-m, 19.5 ft. lbs.) by the specified procedure

NOTE:
After tightening crankcase bolts, check to be sure that crankshaft rotates smoothly when turned by hand.

Crankshaft Runout





Crankshaft Thrust play





Thickness of Crankshaft thrust bearing





Crankshaft journal out-of-round





Connecting rod bearing cap (1) install as follows.

NOTE:
If connecting rod bolt is reused, mark sure to check connecting rod bolt for deformation, referring to "Connecting Rod Bolt Deformation (Plastic Deformation Tightening Bolt)" under Crank Pins and Connecting Rod Bearings Inspection.

a) Point arrow mark (2) on cap to crankshaft pulley side.
b) Apply engine oil to new connecting rod bolts (3).
c) Tighten all connecting rod bolts to 15 Nm (1.5 kgf-m, 11.0 ft. lbs.).
d) Retighten them by turning through 45°
e) Repeat step d) once again.





Connecting Rods
Big-end side clearance
Standard: 0.25 - 0.35 mm (0.0099 - 0.0137 inch)
Limit: 0.45 mm (0.0177 inch)





Connecting rod alignment:
Mount connecting rod on aligner to check it for bow and twist. If limit is exceeded, replace it.
Connecting rod alignment
Limit on bow: 0.05 mm (0.0020 inch)
Limit on twist: 0.10 mm (0.0039 inch)

Connecting Rod Bearings
Bearing clearance
Standard: 0.045 - 0.063 mm (0.0018 - 0.0024 inch)

Piston





Piston outer diameter and cylinder bore diameter
Piston-to-cylinder clearance: 0.02 - 0.04 mm (0.0008 - 0.0015 inch)

Piston Ring groove clearance

Ring Groove Clearance:





Piston ring end gap

Piston ring end gap:





Crankshaft pulley Bolt

Crankshaft pulley Bolt: