Operation CHARM: Car repair manuals for everyone.
Manuals through 2025 now available!

Our trusted friends have launched a new website named LEMON, which has newer manuals. It also contains all the CHARM manuals.

LEMON is the spiritual successor to CHARM, I recommend you try it!

Link: lemon-manuals.la or lemon-manuals.org.ua

(Some people have issue connecting. LEMON is investigating. For now, use Firefox or change your DNS server)

Or, hide this message: temporarily or permanently

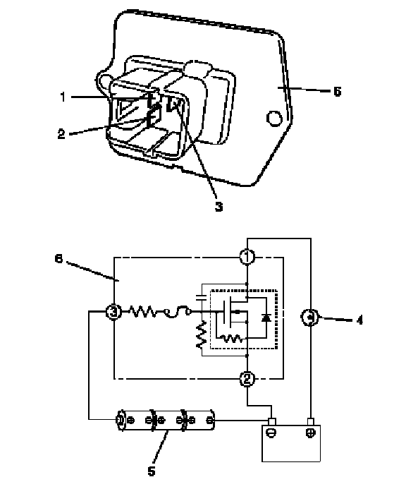
Blower Motor Resistor: Testing and Inspection

BLOWER MOTOR CONTROLLER INSPECTION




Check controller for operation as follows.
- Using service wire, connect battery positive terminal to "1" terminal (1) of blower motor controller (6) and battery negative terminal to "2" terminal (2) of blower motor controller.
- Using bulb (3.4 W) (4) and service wire, connect battery positive terminal to "3" terminal (3) of blower motor controller as shown figure.
- Arrange 3 new 1.5 V batteries (5) in series (check that total voltage is 4.5 - 5.0 V) and connect its positive terminal to "3" terminal of blower motor controller and negative terminal to "2" terminal of blower motor controller. Then, check that bulb lights. If bulb does not light under the above conditions, replace blower motor controller.