Operation CHARM: Car repair manuals for everyone.
Manuals through 2025 now available!

Our trusted friends have launched a new website named LEMON, which has newer manuals. It also contains all the CHARM manuals.

LEMON is the spiritual successor to CHARM, I recommend you try it!

Link: lemon-manuals.la or lemon-manuals.org.ua

(Some people have issue connecting. LEMON is investigating. For now, use Firefox or change your DNS server)

Or, hide this message: temporarily or permanently

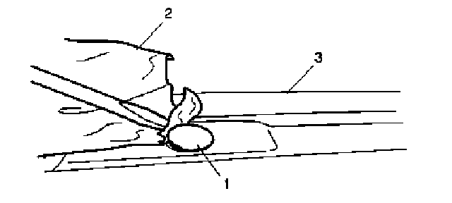
Solar Sensor: Service and Repair

Sunload Sensor Removal and Installation

Removal
1. Disconnect negative (-) cable at battery.




2. Detach sunload sensor (1) located on the driver side of the dashboard (3). Be careful not to damage the sensor and dashboard by using rag (2).




3. Disconnect connector (1) from sunload sensor (2).

Installation
Reverse removal procedure.