Operation CHARM: Car repair manuals for everyone.
Manuals through 2025 now available!

Our trusted friends have launched a new website named LEMON, which has newer manuals. It also contains all the CHARM manuals.

LEMON is the spiritual successor to CHARM, I recommend you try it!

Link: lemon-manuals.la or lemon-manuals.org.ua

(Some people have issue connecting. LEMON is investigating. For now, use Firefox or change your DNS server)

Or, hide this message: temporarily or permanently

Front Differential

Front Differential Oil Change
1. Before changing or inspecting oil, be sure to stop engine and lift vehicle horizontally.
2. With vehicle lifted up, check leakage.
If leakage exists, correct it.

NOTE: Whenever vehicle is hoisted for any other service work than oil change, also be sure to check for oil leakage.

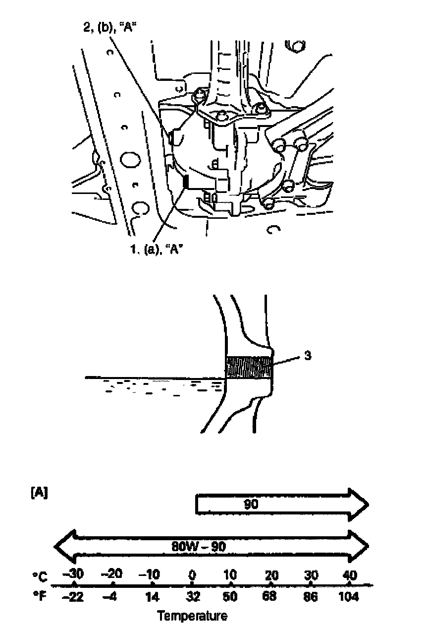
3. Remove oil filler plug (2).
4. Remove drain plug (1), and drain old oil.
5. Apply sealant to thread of drain plug (1), and tighten it to specified torque.

A: Sealant 99000-31260SUZUKI Bond No.1217G

Tightening torque
Differential oil drain plug a: 23 Nm (2.3 kg-m, 17.0 ft. lbs.)

6. Pour new specified oil until oil level reaches bottom of oil filler plug hole (3) as shown in figure.

NOTE:
^ Hypoid gear oil must be used for differential.
^ It is highly recommended to use API GL-5 80W-90 gear oil.

Differential oil specification: API GL-5 (For SAE classification, refer to viscosity chart [A] in figure.)

Differential oil capacity (Reference): 0.9 - 1.1 liters (1.9/1.6 - 2.3/1.9 US/Imp. pt.)

7. Apply sealant to thread of level / filler plug, and then tighten it to specified torque.

A: Sealant 99000-31260SUZUKI Bond No.1217G

Tightening torque
Differential oil level / filler plug b: 23 Nm (2.3 kg-m, 17.0 ft. lbs.)