Operation CHARM: Car repair manuals for everyone.
Manuals through 2025 now available!

Our trusted friends have launched a new website named LEMON, which has newer manuals. It also contains all the CHARM manuals.

LEMON is the spiritual successor to CHARM, I recommend you try it!

Link: lemon-manuals.la or lemon-manuals.org.ua

(Some people have issue connecting. LEMON is investigating. For now, use Firefox or change your DNS server)

Or, hide this message: temporarily or permanently

Refrigerant: Service and Repair

Operation Procedure for Charging A/C with Refrigerant






WARNING:
- Your eyes should not be exposed to refrigerant (liquid).
Any liquid Refrigerant-134a escaping by accident shows a temperature as low as approx. -6 degrees C (21.2 degrees F) below freezing point. Should liquid HFC-134a (R-134a) get into your eyes, it may cause a serious injury. To protect your eyes against such accident, it is necessary to always wear goggles. Should it occur that HFC-134a (R-134a) strikes your eye(s), consult a doctor immediately.
- Do not use your hand to rub the affected eye(s). Instead, use quantities of fresh cold water to splash it over the affected area to gradually raise temperature of such area above freezing point.
- Obtain proper treatment as soon as possible from a doctor or eye specialist.
- Should the liquid refrigerant HFC-134a (R-134a) is exposed to your skin, the affected area should be treated in the same manner as when skin is frostbitten or frozen.
- Do not handle refrigerant near any place where welding or steam cleaning is performed.
- Refrigerant should be kept in a cold and dark place. It should never be stored in any place where temperature is high, e.g. where exposed to direct sun light, close to fire or inside vehicle (including trunk room).
- Avoid breathing fume produced when HFC-134a (R-134a) is burned. Such fume may be hazardous to your health.

Recovery





When discharging refrigerant out of A/C system, always recover it by using refrigerant recovery and recycling equipment (1). Discharging refrigerant HFC-134a (R134a) into atmosphere would cause adverse effect to environments.

NOTE:
- After recovering refrigerant from system the amount of removed compressor oil must be measured for replenishing compressor oil. Refer to Precautions on Replenishing Compressor Oil.
- When handling recovery and recycling equipment, be sure to follow the instruction manual for the equipment.

Evacuation






CAUTION: Do not evacuate before recovering refrigerant in system.

NOTE: Once A/C system circuit is opened (exposed to atmospheric air) air conditioning system must be evacuated by using a vacuum pump. The A/C system should be attached with a manifold gauge set, and should be evacuated for approx. 20 minutes.
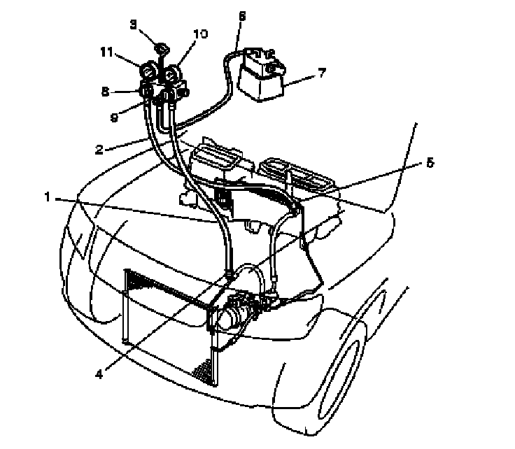
1. Connect high charging hose (1) and low charging hose (2) of manifold gauge set (3) respectively as follows:
High charging hose (1). High pressure charging valve (4) on discharge hose
Low charging hose (2). Low pressure charging valve (5) on suction pipe
2. Attach center charging hose (6) of manifold gauge set (3) to vacuum pump (7).
3. Operate vacuum pump (7), and then open discharge-side valve (9) (Hi) of manifold gauge set (3).
If there is no blockage in the system, there will be an indication on high pressure gauge (10).
In this case, open the other-side valve (8) (Lo) of the set and repair the system.
4. Approx. 10 minutes later, low pressure gauge (11) should show a vacuum lower than -100 kPa (-1.0 kg/sq.cm, -760 mmHg, -14.2 psi) providing no leakage exists.

NOTE:
- If the system does not show a vacuum below -100 kPa (-1.0 kg/sq.cm, -760 mmHg, -14.2 psi), close both valves, stop vacuum pump and watch movement of low pressure gauge.
- Increase in the gauge reading suggests existence of leakage. In this case, repair the system before continuing its evacuation.
- If the gauge shows a stable reading (suggesting no leakage), continue evacuation.

5. Evacuation should be carried out for a total of at least 20 minutes.
6. Continue evacuation until low pressure gauge indicates a vacuum less than -100 kPa (-1.0 kg/sq.cm, -760 mmHg, -14.2 psi), and then close both valves (8), (9).
7. Stop vacuum pump (7). Disconnect center charging hose (6) from pump inlet. Now, the system is ready for charging refrigerant.

Checking of A/C System for Pressure Leaks
After completing the evacuation, close manifold gauge high pressure valve (Hi) and low-pressure valve (Lo) and wait 10 minutes. Verify that low-pressure gauge reading has not changed.

CAUTION: If the gauge reading moves closer to "0", there is a leak somewhere. Inspect the tubing connections, make necessary corrections. And then evacuate system once again and make sure that there are no leaks.

Charge

CAUTION:
- Because the sight glass is not used for this A/C system, do not perform an additional charge to the A/C system. To charge the proper amount of refrigerant, recover and evacuate the A/C system first. And then, charge the proper amount of refrigerant into the A/C system.
- Always charge through low pressure-side of A/C system at after the initial charging is performed from the high-pressure side with the engine stopped.
- Never charge to high pressure-side of A/C system with engine running.
- Do not charge while compressor is hot.
- When installing tap valve to refrigerant container to make a hole there through, carefully follow directions given by manufacturer.
- A pressure gauge should always be used before and during charging.
- The refrigerant container should be emptied of refrigerant when discarding it.
- The refrigerant container should not be heated up to 40 degrees C (104 degrees F) or over.
- Refrigerant container should not be reversed in direction during charging. Reversing in direction causes liquid refrigerant to enter compressor, causing troubles, such as compression of liquid refrigerant and the like.

NOTE:
The A/C system contains HFC-134a (R-134a).
Described here is a method to charge the A/C system with refrigerant from the refrigerant service container.
When charging refrigerant recovered by using the refrigerant and recycling equipment (when recycling refrigerant), follow the procedure described in the equipment manufacturer's instruction manual.

Charge proper amount of refrigerant accurately in accordance with the following procedure.

Specified amount of refrigerant
570 ± 30 g (20.1 ± 1.0 oz)

The initial charging of the A/C system is performed from the high-pressure side with the engine stopped.
And next, this method must be followed by charging from the low-pressure side with the engine running.
1. Check to make sure that hoses are routed properly after evacuating the system.
2. Connect low charging hose (1) and high charging hose (2) of the manifold gauge set (3) in position. Thus open refrigerant container valve (4) to purge the charging line.
3. Open the high-pressure side valve (6) and charge refrigerant to system.




4. After a while, open the low-pressure side valve (5) and close the high-pressure side valve (6).

WARNING: Make sure that high pressure-side valve is closed securely.

5. Start engine and keep engine speed at 1,500 rpm. Then, operate A/C system.
6. Charge A/C system with refrigerant in vapor state. At this time, refrigerant container should be held upright.
7. When refrigerant container (3) is emptied, the use following procedure to replace it with a new refrigerant container (3).
a. Close low pressure valve.
b. Replace empty container (3) with a refrigerant container which has been charged with refrigerant. When using refrigerant container tap valve (4), use the following procedure for replacement.
i. Retract needle (1) and remove refrigerant container tap valve (4) by loosening its plate nut (2).




ii. Install previously-removed refrigerant container tap valve (4) to a new refrigerant container (3).

c. Purge any air existing in center charging hose.
When using refrigerant container tap valve, use the following procedure to purge air.
i. Once fully tighten refrigerant container tap valve and then loosen (open) plate nut slightly.
ii. Open low pressure valve of manifold gauge set a little.
iii. As soon as refrigerant comes out with a "hiss" (1) through a clearance between refrigerant container and tap valve, tighten plate nut as well as manifold gauge set low pressure valve.




iv. Turn handle of tap valve clockwise so that its needle is screwed into the new container to make a hole for refrigerant flow.





8. After the system has been charged with specified amount (570 ± 30 g) of refrigerant or when low pressure gauge and high pressure gauge have indicated the following specified value, close low pressure side valve on manifold gauge set. Low side and high side pressure example Gauges should read as follows when ambient

Removal of Manifold Gauge Set

WARNING: High pressure side is under high pressure.
Therefore, be careful not to get injured especially on your eyes and skin.


For the A/C system charged with the specified amount of refrigerant, remove manifold gauge set as follows:
1. Close low pressure side valve of manifold gauge set. (The high pressure side valve is closed continuously during the process of charging.)
2. Close refrigerant container valve.
3. Stop engine.
4. Using shop rag, remove charging hoses from service valves. This operation must be performed quickly.
5. Put caps on service valves.

Check A/C System for Refrigerant Leaks
Whenever a refrigerant leak is suspected in the system or any service operation has been performed which may result in malfunction lines and/or connections, it is advisable to check for leaks.
Common sense should be used in performing any refrigerant leak test, since the need and extent of any such test will, in general, depend upon the nature of a complaint and the type of a service performed on the system.

Liquid leak detector

WARNING:
- To prevent explosions or fires, make sure that there are no flammables in the vicinity.
- When exposed to fire, the refrigerant turns into a poisonous gas (phosgene). Do not inhale this gas.


There are a number of fittings and places throughout the air conditioning system where a liquid leak detector solution may be used to pinpoint refrigerant leaks.
By merely applying the solution to the area in question with a swab, such as attached to the bubbles will form within seconds if there is a leak.
For confined areas, such as sections of the evaporator and condenser, an electronic (gas) leak detector (1) is more practical for determining leaks.




Special Tool
(A): 09990-86011