Operation CHARM: Car repair manuals for everyone.
Manuals through 2025 now available!

Our trusted friends have launched a new website named LEMON, which has newer manuals. It also contains all the CHARM manuals.

LEMON is the spiritual successor to CHARM, I recommend you try it!

Link: lemon-manuals.la or lemon-manuals.org.ua

(Some people have issue connecting. LEMON is investigating. For now, use Firefox or change your DNS server)

Or, hide this message: temporarily or permanently

Accelerator Pedal Position (APP) Sensor Assembly Inspection

Accelerator Pedal Position (APP) Sensor Assembly Inspection

Reference: Accelerator Pedal Position (APP) Sensor Assembly Removal and Installation
Check accelerator pedal position (APP) sensor (main and sub) output voltage as following steps.




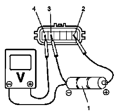
1. For accelerator pedal position (APP) sensor (main), arrange 3 new 1.5 V batteries (1) in series (check that total voltage is 4.7 - 5.0 V) and connect its positive terminal to "Vin 1" terminal (2) and negative terminal to "Ground 1" terminal (3) of sensor. Then using voltmeter, connect positive terminal to "Vout 1" terminal (4) of sensor and negative terminal to battery.




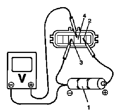
2. For accelerator pedal position (APP) sensor (sub), arrange 3 new 1.5 V batteries (1) in series (check that total voltage is 4.7 - 5.0 V) and connect its positive terminal to "Vin 2" terminal (2) and negative terminal to "Ground 2" terminal (3) of sensor. Then using voltmeter, connect positive terminal to "Vout 2" terminal (4) of sensor and negative terminal to battery.
3. Measure output voltage variation while accelerator pedal is no depressed and fully depressed as following specification.
If sensor voltage is out of specified value or does not vary linearly as the graph, replace accelerator pedal position (APP) sensor assembly.




Accelerator pedal position (APP) sensor output voltage variation
Accelerator pedal position (APP) sensor (main) output voltage variation [A]: 0.82 - 3.50 V at minimum variation, varying according to depressed extent of accelerator pedal
Accelerator pedal position (APP) sensor (sub) output voltage variation [B]: 0.44 - 1.74 V at minimum variation, varying according to depressed extent of accelerator pedal