Operation CHARM: Car repair manuals for everyone.
Manuals through 2025 now available!

Our trusted friends have launched a new website named LEMON, which has newer manuals. It also contains all the CHARM manuals.

LEMON is the spiritual successor to CHARM, I recommend you try it!

Link: lemon-manuals.la or lemon-manuals.org.ua

(Some people have issue connecting. LEMON is investigating. For now, use Firefox or change your DNS server)

Or, hide this message: temporarily or permanently

Crankshaft Position Sensor: Testing and Inspection

Camshaft Position (CMP) Sensor and Crankshaft Position (CKP) Sensor Inspection

Visual check
- Check that O-ring is free from damage.




- Check that end face of sensor and signal rotor tooth are free from any metal particles and damage.

Performance check
1. Remove metal particles on end face of sensor, if any.




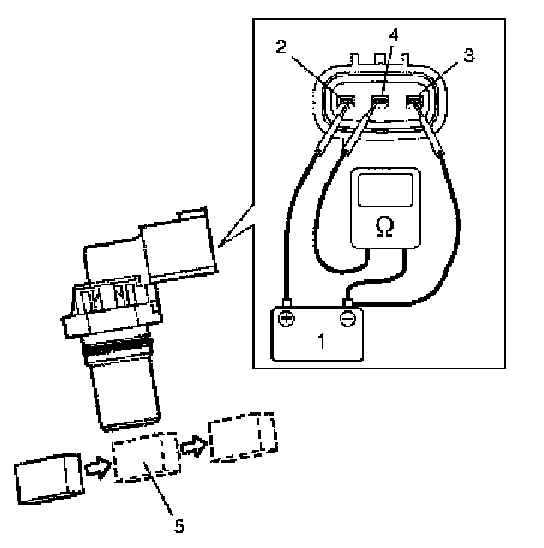
2. Arrange 12 V battery (1) and connect its positive terminal to "Vin" terminal (2) and negative terminal to "Ground" terminal (3) of sensor. Then using ohmmeter, measure resistance between "Vout" terminal (4) of sensor and negative terminal of battery by passing magnetic substance (iron) (5) while keeping approximately 1 mm (0.03 in.) gap with respect to end face of sensor.
If resistance does not vary as specified, replace defective sensor.

CMP or CKP sensor resistance
Resistance varies from less than 220 Ohms (ON) to infinity (OFF) or from infinity (OFF) to less than 220 Ohms (ON)