Operation CHARM: Car repair manuals for everyone.
Manuals through 2025 now available!

Our trusted friends have launched a new website named LEMON, which has newer manuals. It also contains all the CHARM manuals.

LEMON is the spiritual successor to CHARM, I recommend you try it!

Link: lemon-manuals.la or lemon-manuals.org.ua

(Some people have issue connecting. LEMON is investigating. For now, use Firefox or change your DNS server)

Or, hide this message: temporarily or permanently

Disassembly And Assembly

Starting Motor Disassembly and Assembly

Reference: Starting Motor Dismounting and Remounting

Disassembly

NOTE:
Do not clamp yoke in a vise or strike it with a hammer during repair operations.




1. Disconnect lead wire (1) from terminal "M" (2).




2. Loosen screws (1) and then remove protector (2).




3. Put match marks at 2 locations (A (magnetic switch (1) and front housing (2)) and B (front housing (2) and yoke (3))) as shown in figure so that any possible mistake can be avoided.




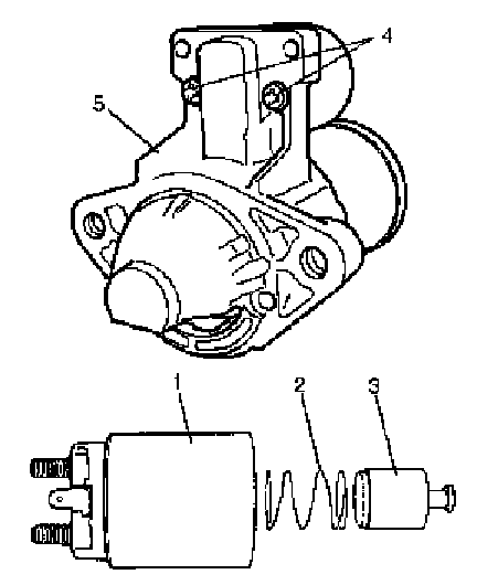
4. Loosen screws (4) and then remove magnetic switch (1), spring (2) and plunger (3).

CAUTION:
Don't disassemble magnetic switch. If defective, replace as a complete assembly.




5. Remove through bolts (1) shown in the figure, then separate reduction gear assembly (2) from starting motor assembly.




6. To overhaul reduction gear assembly, remove packing (2) and planetary gears (1).




7. Remove seal rubber (1) and plate (2).




8. Remove shaft assembly (1) with lever (2).




9. Loosen pinion stop ring (2) fixed by snap ring (1).




10. Remove snap ring (2), then pull out pinion stop ring (3) and over-running clutch (4) and internal gear (1).

Special Tool
(A): 09900-06107




11. Remove rear bracket (1) and brush holder.




12. Remove armature (1) from yoke (2).




13. Remove brush holder (2) from rear bracket (1).




14. Remove brush springs (1) and brushes (2).

Assembly

Reference: Starting Motor Components

CAUTION:
New oilless bearing have been lubricated when they are supplied as spare parts. DO NOT wash with grease dissolving solvent nor lubricate them with other lubricant.

1. Inspect component parts referring to Starting Motor Inspection and replace with new ones as necessary.
2. Apply grease referring to Starting Motor Components.
3. Install armature to yoke.




4. Install brushes (1) and brush springs (2) to brush holder (3).
5. Install brush holder to armature while pushing 4 brushes outward.
6. Install rear bracket (1).




7. Tighten brush holder screws (2).




8. Install internal gear and over-running clutch assembly (1) to gear shaft (4), using care for installing direction of pinion stop ring (2).




9. Insert shaft assembly (1) into front housing with lever (2) positioned as shown in the figure.
10. Install packing (1) so that cuts in packing align with holes for through bolts in front housing.




11. Install plate and seal rubber (4) to front housing.
12. Install yoke, armature, brush holder and rear bracket to front housing (2) by aligning match marks provided before removal.




13. Tighten through bolts (1).




14. Install magnetic switch (1), spring (2) and plunger (3) to front housing (5) by aligning match marks provided before removal and then tighten screws (4).




15. Install protector (2) and tighten screws (1).




16. Connect lead wire (1) to terminal "M"(2).
17. Upon completion of assembly, carry out performance test. Refer to Starting Motor Performance Test. Testing and Inspection