Operation CHARM: Car repair manuals for everyone.
Manuals through 2025 now available!

Our trusted friends have launched a new website named LEMON, which has newer manuals. It also contains all the CHARM manuals.

LEMON is the spiritual successor to CHARM, I recommend you try it!

Link: lemon-manuals.la or lemon-manuals.org.ua

(Some people have issue connecting. LEMON is investigating. For now, use Firefox or change your DNS server)

Or, hide this message: temporarily or permanently

Windshield Washer Switch: Testing and Inspection

Windshield Wiper and Washer Switch Inspection

Reference: Windshield Wiper and Washer Switch Removal and Installation




Windshield Wiper and Washer Switch
Check for continuity between terminals at each switch position. If check result is not as specified, replace switch.

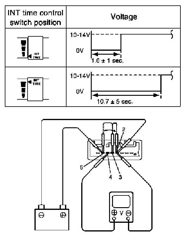
Intermittent Wiper Relay Circuit
1. Turn the windshield wiper switch to "INT" position.
2. Connect battery positive (+) terminal to terminal "5" and its negative (-) terminal to terminal "2".
3. Connect voltmeter positive lead to terminal "4" and its negative lead to terminal "2".
4. Check that the voltmeter indicates the battery voltage (10 - 14 V).




5. Connect terminal "3" and terminal "5" by a jumper wire.
6. Disconnect end of the jumper wire from terminal "5".




7. Connect disconnected jumper wire end to terminal "2", then check that voltage between terminal "4" and terminal "2" changes as shown. If check result is not satisfied, replace switch.

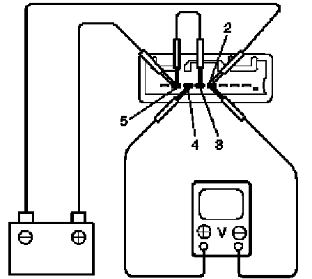
Washer Linked Circuit
1. Make sure that front wiper switch is at "OFF" position.
2. Connect battery positive (+) terminal to terminal "5" and its negative (-) terminal to terminal "2".
3. Connect voltmeter positive lead to terminal "4" and its negative lead to terminal "2".




4. When front washer switch is ON, check that voltage changes as shown in figure. If check result is not satisfied, replace switch.