Operation CHARM: Car repair manuals for everyone.
Manuals through 2025 now available!

Our trusted friends have launched a new website named LEMON, which has newer manuals. It also contains all the CHARM manuals.

LEMON is the spiritual successor to CHARM, I recommend you try it!

Link: lemon-manuals.la or lemon-manuals.org.ua

(Some people have issue connecting. LEMON is investigating. For now, use Firefox or change your DNS server)

Or, hide this message: temporarily or permanently

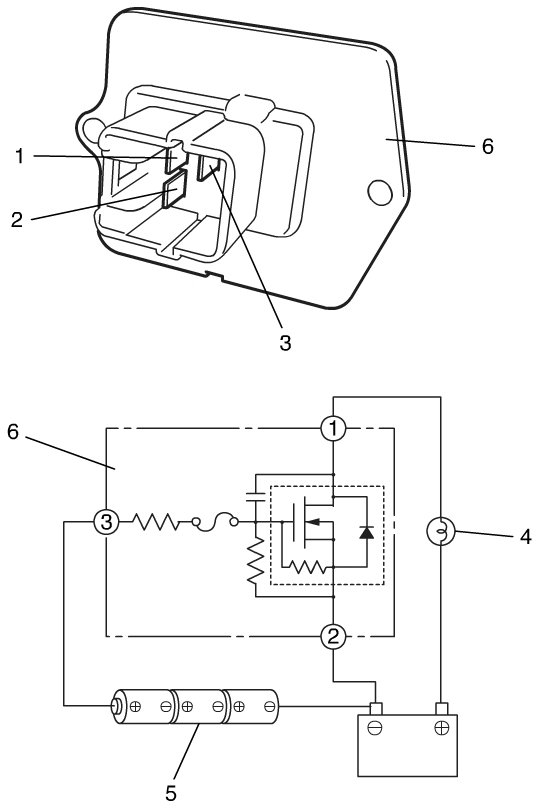
Blower Motor Controller Inspection




Blower Motor Controller Inspection

Check controller for operation as follows.
1) Using test bulb (3.4 W) (4) and service wire, connect battery positive terminal to terminal (1) of blower motor controller through test bulb as shown in figure.
2) Using service wire, connect battery negative terminal to terminal (2) of blower motor controller.
3) Arrange 3 new 1.5 V batteries (5) in series (check that total voltage is 4.5 - 5.0 V) and connect its positive terminal to terminal (3) of blower motor controller and negative terminal of 3 new 1.5 V batteries (5) to terminal. Then, check that bulb lights. If bulb does not light under the above conditions, replace blower motor controller.