Operation CHARM: Car repair manuals for everyone.
Manuals through 2025 now available!

Our trusted friends have launched a new website named LEMON, which has newer manuals. It also contains all the CHARM manuals.

LEMON is the spiritual successor to CHARM, I recommend you try it!

Link: lemon-manuals.la or lemon-manuals.org.ua

(Some people have issue connecting. LEMON is investigating. For now, use Firefox or change your DNS server)

Or, hide this message: temporarily or permanently

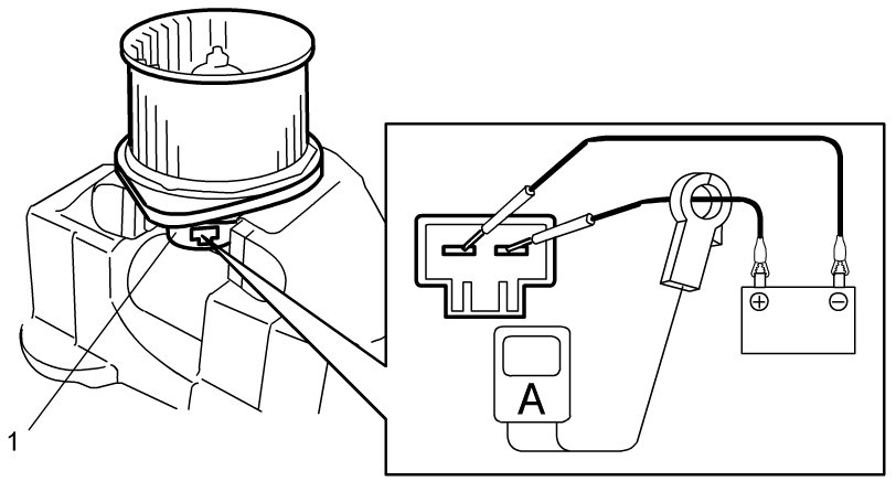
Blower Motor Inspection




Blower Motor Inspection

Blower Motor Removal and Installation

- Check continuity between terminals as shown in figure.
If check result is continuity, proceed to next operation check. If not, replace.





- Check for operation and electric current.

a Put blower motor (1) in a soft-jawed vise.
b Connect battery to blower motor as shown.
c Check if blower motor operates smoothly without noise.
d Check the current for which the ammeter is specified when the voltage is added for 1 min.
If measured current is out of specification, replace blower motor.

Blower motor specified current at 12 V
8.6 - 13.2 A at 25 °C (77 °F)