Operation CHARM: Car repair manuals for everyone.
Manuals through 2025 now available!

Our trusted friends have launched a new website named LEMON, which has newer manuals. It also contains all the CHARM manuals.

LEMON is the spiritual successor to CHARM, I recommend you try it!

Link: lemon-manuals.la or lemon-manuals.org.ua

(Some people have issue connecting. LEMON is investigating. For now, use Firefox or change your DNS server)

Or, hide this message: temporarily or permanently

Receiver Dryer: Service and Repair




Desiccant Removal and Installation

Removal

1) Remove condenser assembly from vehicle referring to A/C Condenser Assembly Removal and Installation A/C Condenser Assembly Removal and Installation.
2) Remove circlip (4) using special tool.
Special Tool
09900-06107

3) Remove the filter (1) from the receiver / dryer tank (2).
4) Remove desiccant (3).






Installation

Reverse removal sequence to install desiccant, according to instruction manual with supply parts.

NOTE:

- Replenish compressor with specified amount of compressor oil from suction side referring to Precautions on Replenishing Compressor Oil Precautions on Replenishing Compressor Oil.
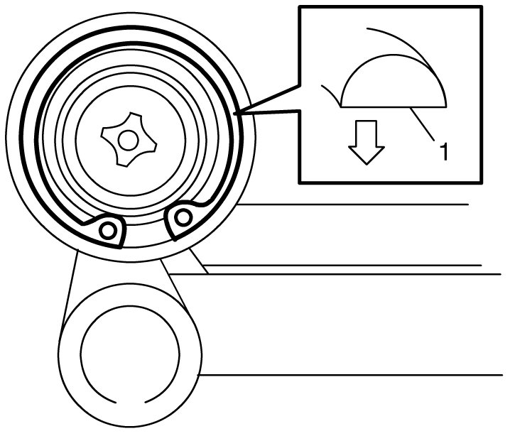
- Install circlip (1) as shown in figure.