Operation CHARM: Car repair manuals for everyone.
Manuals through 2025 now available!

Our trusted friends have launched a new website named LEMON, which has newer manuals. It also contains all the CHARM manuals.

LEMON is the spiritual successor to CHARM, I recommend you try it!

Link: lemon-manuals.la or lemon-manuals.org.ua

(Some people have issue connecting. LEMON is investigating. For now, use Firefox or change your DNS server)

Or, hide this message: temporarily or permanently

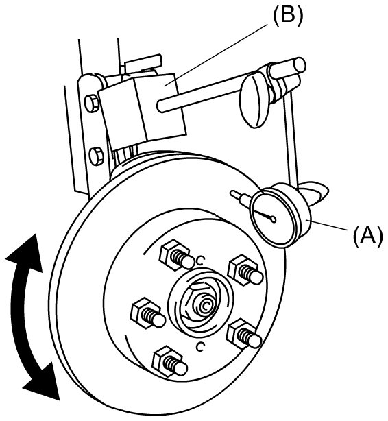
Brake Rotor/Disc: Specifications




Front Brake Disc

Front brake disc deflection
Limit: 0.10 mm (0.004 in.)

Special Tool

(A): 09900-20607

(B): 09900-20701





Front brake disc thickness
"a"
Standard: 26.0 mm (1.02 in.)
Limit: 24.0 mm (0.94 in.)








Rear Brake Disc

Rear brake disc deflection
Limit: 0.10 mm (0.004 in.)

Special Tool

(A): 09900-20607

(B): 09900-20701





Rear brake disc thickness
"a"
Standard: 12 mm (0.47 in.)
Limit: 11 mm (0.43 in.)